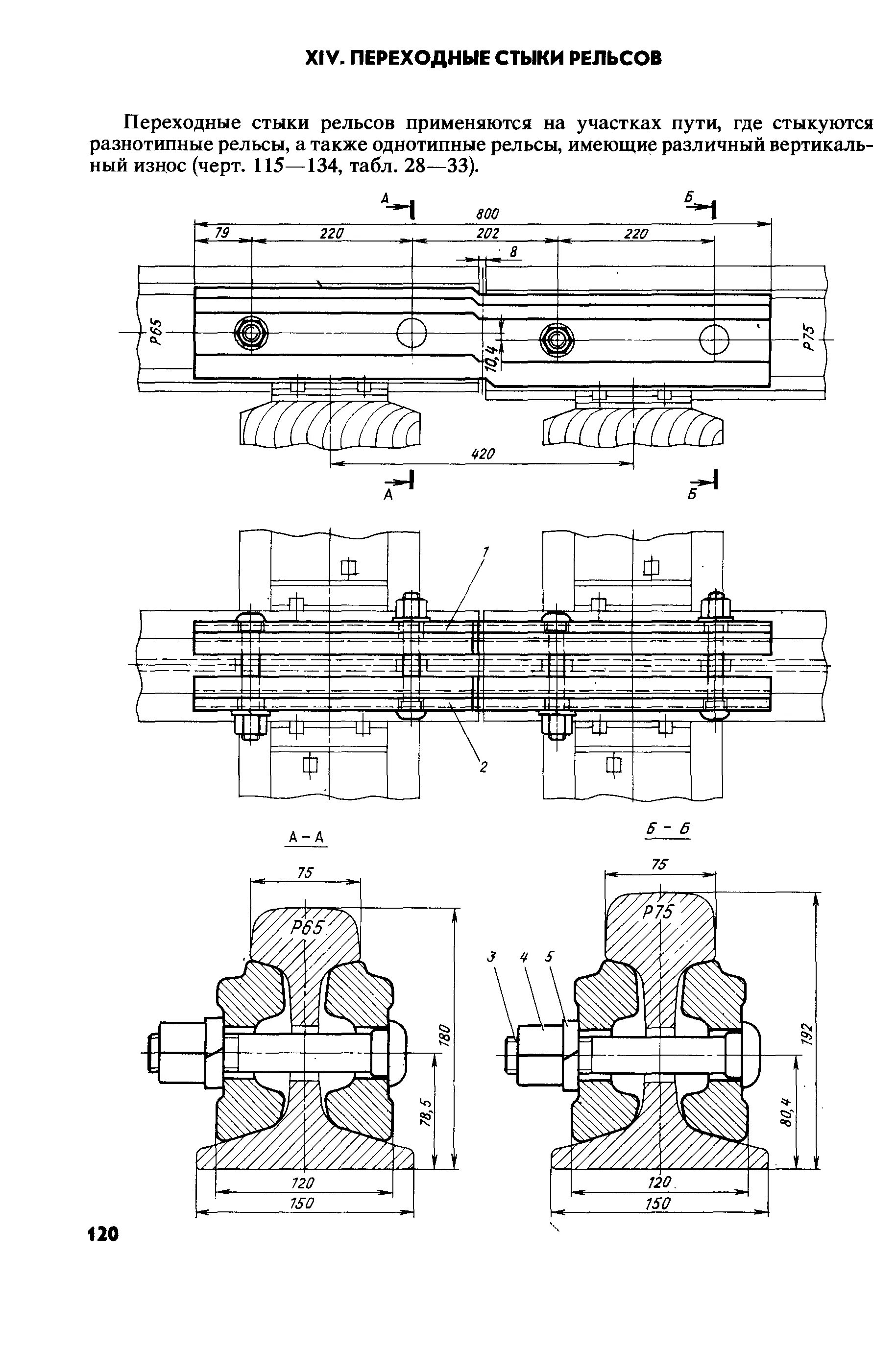
Зазор в стыках рельсовЗазор стыка рельсов нормы и допуски. конструктивный зазор в стыке рельсов. тепловой зазор между рельсами подкранового пути. зазор между рельсами подкрановых путей.Зазор между рельсами кр70. стыковые зазоры на под крановым пути.Зазоры между рельсами допуски на стыках. зазоры в рельсовых стыках. тепловой зазор рельсового пути. стыковой зазор между рельсами допуски.Зазор в стыках рельсовСтык между рельсами. зазоры в рельсовых стыках. стыки на рельсах. промежуток в стыках между рельсами.Зазоры в стыках рельсов таблица. зазоры в стыках рельсов при температуре. зазор между стыков рельсов норма. стыковые зазоры в рельсах при температуре.Зазор между рельсами кр70. зазоры рельсовых стыков допуски. соединитель рельсовый стыковой вес. зазоры в стыках рельсов таблица.Зазоры в стыках. высокопрочный изолирующий стык. зазор изолированного стыка. зазор в изолированных стыках.Зазор в стыках рельсовСтыковые зазоры, скорости зазоры в рельсах. зазоры рельсовых стыков допуски. таблица зазоров рельсов.Зазор между рельсами крановых путей. рельс для подкрановых путей. исполнительная схема подкрановых путей.Зазоры рельсовых стыков допуски. стыковые зазоры жд р 65. содержание изолирующих стыков на железной дороге. стыки рельс зазор.Зазор в стыках рельсовЗазор между рельсами подкрановых путей. температурный стык рельсов подкрановых путей. зазор в стыке рельсов р65. стыковой зазор между рельсами.Зазор в стыках рельсовСтык рельсов. зазор между рельсами. тепловой стык на рельсах. стык между рельсами.Нормы зазоров в стыках. зазоры в стыках рельсов допуски. нормы содержания стыковых зазоров. зазоры в стыках нормы и допуски.Тепловой зазор между рельсами. тепловой зазор рельс. температурный стык рельсы. зазоры в рельсовых стыках.Стык железнодорожного рельса р65. компенсатор температурный дрельс р65. зазор в стыке рельсов р65. компенсатор температурный 1050.00.000 (для пути из рельс р-65).Схема рельса р65. болтовой стык рельсы р65. рельс р65 чертеж. переходные стыки рельсов схема р65.Зазоры в стыках рельсов допуски. стыковые зазоры в рельсах допуски. зазор в стыке рельсового пути допуски. зазоры в стыках рельсов допуски в ржд.Тепловой зазор в стыках рельсов. рельсовый стык. стык между рельсами. зазоры в рельсовых стыках.Стыковые накладки на рельс кр 70. изолирующий стык с металлическими накладками. рельсовые температурные зазоры. зазор между рельсами кр70.Зазор в стыках рельсов крановых путей. допуски для монтажа рельсов для подкрановых путей. стык рельсов допуски. допустимый зазор стык рельс подкрановых путей.Зазор в стыках рельсовНакладки двухголовые для рельсов стыковые р-50. стыковые зазоры рельсов. зазоры стыков на жд.Стыковое скрепление рельсов р65. болтовой стык рельсов р65. стык рельса р65. стык железнодорожного рельса р65.Зазор в стыках рельсовЗазоры в стыках рельсов. стыки рельс зазор. уравнительных стыков сп 848. тепловой стык крановых рельсов.Зазор в стыках рельсовЗазор в стыках рельсовРазрыв стыка рельса. измерение зазоров в стыках рельсов. щель между рельсами. рельсовый стык.Таблица зазоров рельсовых стыков. таблица допусков рельсовых зазоров. зазоры в стыках рельсов таблица. стыковой зазор между рельсами допуски.Инвентарные накладки к рельсам типа р65. инвентарные накладки для разгонки зазоров рельсов. инвентарные накладки р-65. вкладыш рельсовый р65.Инвентарные накладки для разгонки зазоров рельсов. стыковые зазоры в рельсах. зазоры рельсовых стыков допуски. разгонка стыков рельсов.Стык апатэк р65. вертикальная ступенька в стыке рельсов. ступеньки в стыках рельсов. горизонтальная и вертикальная ступенька в стыке рельсов.Таблица зазоров рельсов. таблица стыковых зазоров. нормативные зазоры в стыках рельсов. нормативные зазоры в стыках рельсов при температуре.Стыковые зазоры, скорости зазоры в рельсах. зазоры между рельсами допуски. таблица зазоров рельсов. допуски зазоров в стыках рельсов таблица.Детали рельс. рельсовый стык. деталь от рельсов. зазоры в стыках рельсов.