Удиви меня
Высоковольтное напряжение схема
Схема умножителя напряжения ун9. схема высоковольтного умножителя напряжения. ун9/27-1.3 схема подключения умножителя напряжения. умножитель напряжения ун8.5/25-1.2-а схема.
Схема высоковольтный источник 30 кв. высоковольтный генератор из катушки зажигания ne555. источник высоковольтного напряжения схема. схема электростатического генератора для коптилки.
Схема генератора высокого напряжения на строчном трансформаторе. генератор высокого напряжения схема. генератор высокого напряжения схема принципиальная. высоковольтный преобразователь напряжения схема.
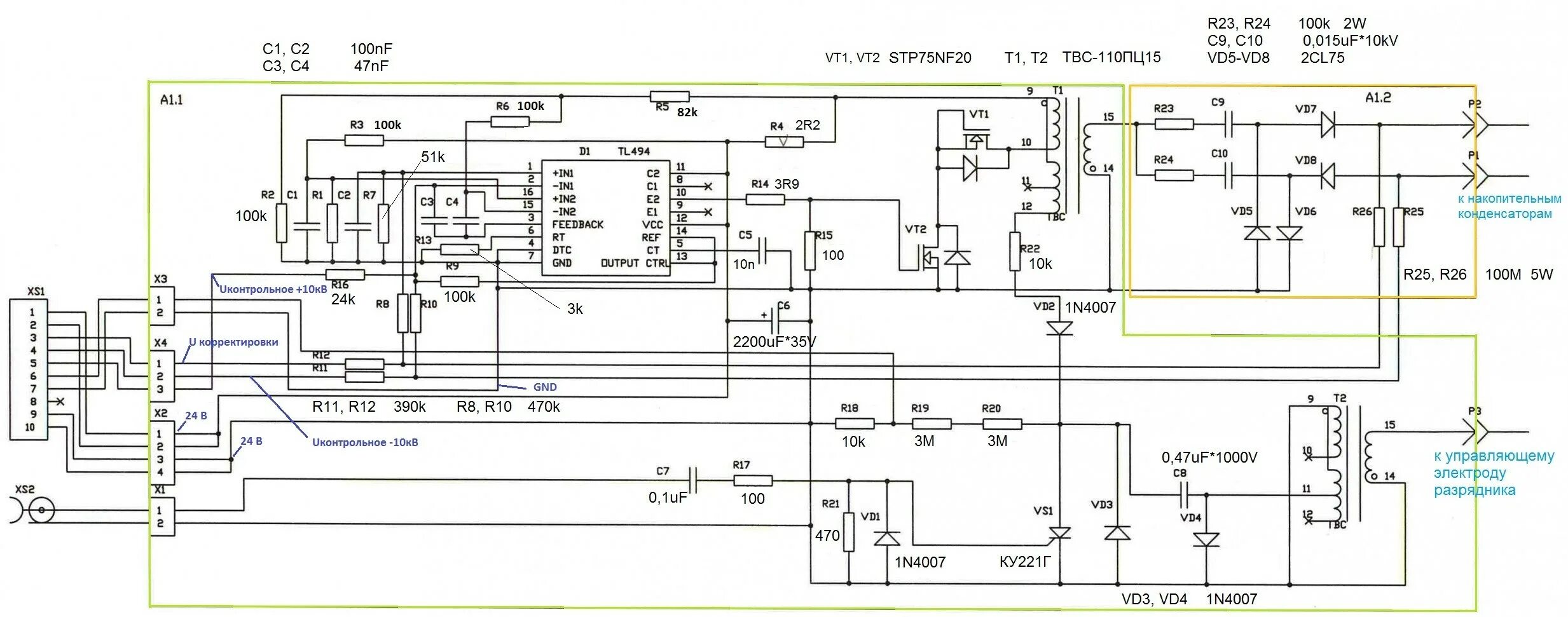
Генератор высокого напряжения на твс 110пц15. высоковольтный преобразователь напряжения на 1 транзисторе схема. схема блокинг генератора для твс110. высоковольтный генератор на твс 110пц15 схема.
Высоковольтное напряжение схема
Высокостабильный источник образцового напряжения схема. источник высоковольтного напряжения схема. источник образцового напряжения схема 12в. высоковольтный источник питания схема.
Схема инвертора высокого напряжения. импульсный высоковольтный источник питания. высоковольтный инвертор схема. блок питания высокого напряжения схема.
Схема удвоителя напряжения на диодах и конденсаторах. умножитель постоянного напряжения схема. схема умножителя напряжения на диодах и конденсаторах. электрическая схема умножителя напряжения.
Твс-110пц15 генератор высоковольтный. схема генератора высокого напряжения для коптильни. источник высоковольтного напряжения схема. высоковольтный генератор для коптильни схема.
Генератор высокого напряжения на твс 110пц15. твс-110пц15 генератор высоковольтный. умножитель напряжения ун9/27-1.3 схема. генератор высокого напряжения на твс 110 ла.
Тиристорный генератор высокого напряжения. схема генератора импульсных напряжений. схема генератора высоковольтного импульсного напряжения. высоковольтный импульсный генератор.
Преобразователь высокого напряжения схема. высоковольтный преобразователь напряжения схема. схема преобразователя напряжения с 12 на 220 вольт на транзисторах. электрошокер схема электрическая принципиальная.
Схема генератора высоковольтного импульсного напряжения. схема генератор импульсов высокого напряжения. схема генератора импульсов для электроизгороди. схема простого высоковольтного генератора.
Генератор высоковольтных импульсов 555. высоковольтный генератор на ne555 схема. высоковольтный генератор на 555 схема. схемы генератора высокого напряжения из тдкс.
Схема высоковольтный источник 30 кв. высоковольтный импульсный источник питания схема. схема генератора высокого напряжения для коптильни. высоковольтный преобразователь 15kv схема.
Высоковольтный генератор из катушке зажигания схема. преобразователь для электропастуха схема. схема генератора импульсов для электроизгороди. генератор импульсов для электропастуха схема.
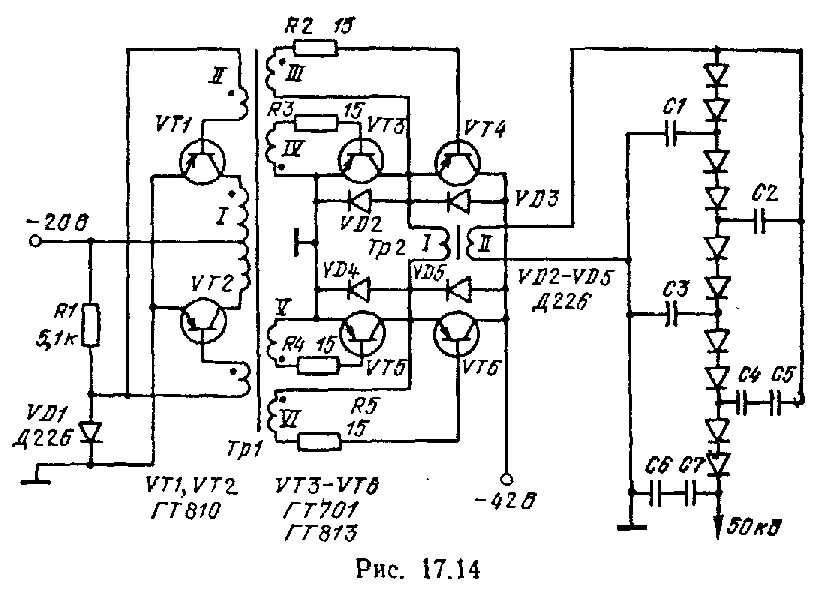
Двухтактный автогенераторный преобразователь схема. двухтактный автогенератор на полевых транзисторах схема. схема двухтактного генератора на полевых транзисторах. схема двухтактного генератора высокого напряжения.
Высоковольтный источник питания фэу схема. высоковольтный блок питания схема. источник высоковольтного напряжения схема. блок питания высокого напряжения схема.
Высоковольтный регулируемый стабилизатор напряжения схема. импульсный высоковольтный источник питания. источник высоковольтного напряжения схема. высоковольтный преобразователь напряжения.
Генератор высоковольтных импульсов 400 кв схема. генератор высоковольтных импульсов 555. схема генератора импульсных напряжений. разрядник конденсаторов схема.
Высоковольтный преобразователь схема. высоковольтный преобразователь напряжения схема. высоковольтный преобразователь напряжения своими руками схема. схема инвертора высокого напряжения.
Высоковольтный источник питания схема. импульсный высоковольтный источник питания. высоковольтный импульсный источник питания схема. источник высоковольтного напряжения схема.
Схема стабилизатора постоянного тока-300в. мощный высоковольтный стабилизатор напряжения схема. высоковольтный стабилизатор тока схема. схема стабилизатора напряжения с регулировкой напряжения.
Схемы генератора высокого напряжения из тдкс. схема высоковольтный генератор 60 кв,. высоковольтный генератор из тдкс. схема высоковольтного преобразователя напряжения на тдкс.
Схема высоковольтного двигателя. электрический двигатель высоковольтных схема. принципиальная электрическая схема высоковольтной цепи троллейбуса. электрическая схема высоковольтной части микроволновки.
Высоковольтный инвертор стабилизированный схема. высоковольтный преобразователь lm2016. преобразователь высокого напряжения схема. высоковольтный источник питания схема.
П210 преобразователь преобразователь. преобразователи на транзисторах п210. преобразователи напряжения на полевых транзисторах схемы. высоковольтный преобразователь 15kv схема.
Схема генератора высокого напряжения на строчном трансформаторе. схема генератора высоковольтного импульсного напряжения. источник высоковольтного напряжения схема. схема высоковольтный генератор 60 кв,.
Источник высоковольтного напряжения схема. регулятор напряжения на тиристоре ку221. схема тиристорного блока питания. тиристорный импульсный блок питания.
Трехфазный умножитель напряжения схема. схема высоковольтного умножителя напряжения. электрическая схема умножителя напряжения. умножитель напряжения схема 12 вольт постоянного тока.
Преобразователь высокого напряжения схема. высоковольтный источник питания схема. преобразователь напряжения схема включения. преобразователь напряжения схема электрическая принципиальная.
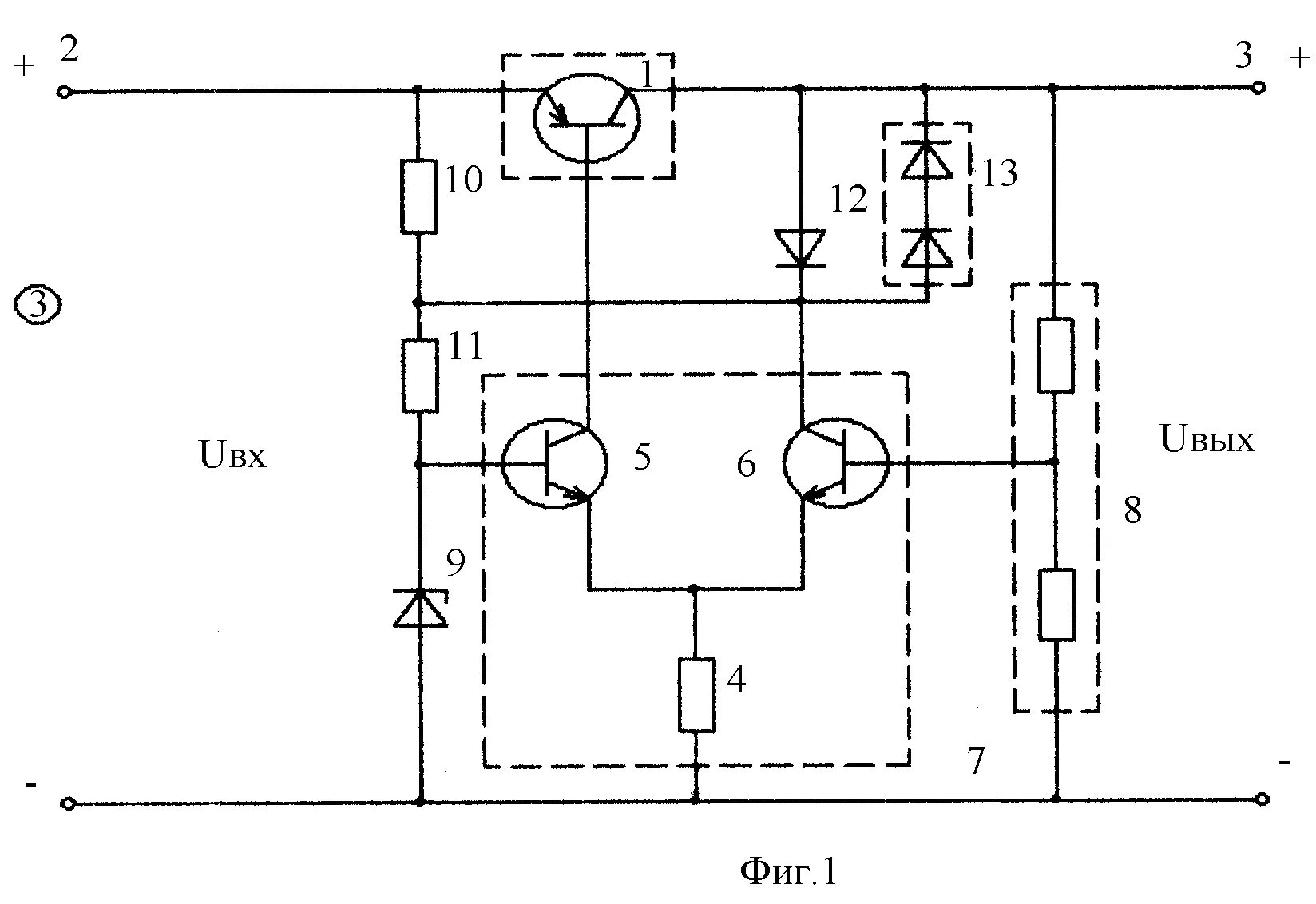
Высоковольтный регулируемый стабилизатор напряжения схема. схема высоковольтного стабилизатора напряжения постоянного тока. высоковольтный регулируемый стабилизатор на транзисторе. высоковольтный импульсный стабилизатор напряжения схема.
Высоковольтный регулируемый стабилизатор напряжения схема. схема стабилизатора экранной сетки. стабилизатор анодного напряжения для лампового усилителя схема. схема лампового стабилизатора анодного напряжения.
П210 преобразователь преобразователь. импульсный преобразователь напряжения схема. высоковольтный преобразователь 15kv схема. источник высоковольтного напряжения схема.
Высоковольтный трансформатор твс 110 пц15. твс-110пц15 генератор высоковольтный. блокинг генератор на твс 110пц15 схема. строчный трансформатор твс 110пц15 схема.
Повышающий преобразователь блокинг генератор. блокинг генератор преобразователь напряжения. блокинг генератор на полевом транзисторе. схема высоковольтного блокинг генератора.
Высоковольтный стабилизатор напряжения для лампового усилителя. высоковольтный регулируемый стабилизатор напряжения схема. высоковольтный источник тока схема. высоковольтный стабилизатор напряжения 400в.
Преобразователь переменного тока в постоянный 12 вольт схема. схема преобразователя переменного напряжения. схема тиристорного высоковольтного генератора. тиристорный импульсный генератор.
Высоковольтный усилитель схема. высоковольтный операционный усилитель. высоковольтный операционный усилитель на транзисторах. высоковольтный усилитель напряжения на транзисторах.
Скат-70 аппарат высоковольтный испытательный схема. испытание указателей напряжения выше 1000 в. индикатор напряжения высоковольтный на схеме. указатель напряжения 10 кв схема.
Высоковольтный регулируемый стабилизатор напряжения схема. высоковольтный регулятор напряжения схема. стабилизатор напряжения переменного тока схема. высоковольтный импульсный стабилизатор напряжения схема.
Преобразователь напряжения постоянного тока. схема преобразователя напряжения постоянного тока. высоковольтный преобразователь напряжения постоянного тока схема. преобразователь постоянного напряжения схема.
Схема умножителя напряжения на диодах и конденсаторах. умножитель переменного тока схема. схема умножитель напряжения на диодах и конденсаторах на 2. умножитель напряжения схема 12 вольт постоянного тока.
Высоковольтный стабилизатор тока на полевом транзисторе схема. стабилизатор тока на транзисторах схема. высоковольтный стабилитрон схема. линейный высоковольтный стабилизатор напряжения.
Высоковольтный импульсный источник питания схема. источник высоковольтного напряжения схема. высоковольтный преобразователь схема. высоковольтный источник питания для эоп.
Высоковольтный преобразователь 15kv схема. умножитель напряжения ун9/27-1.3 схема. схема умножителя напряжения на диодах и конденсаторах для мухобойки. схема принципиальная электрическая умножителя частоты.
Трансформатор напряжения 110 кв электрическая схема. схема подключения трансформатора напряжения 110 кв. шон-301с шкаф отбора напряжения схема. трансформатор напряжения 110 кв на схеме.
Усилитель высокого напряжения схема. высоковольтный операционный усилитель на транзисторах. высоковольтный усилитель напряжения на транзисторах. мостовая схема операционного усилителя.
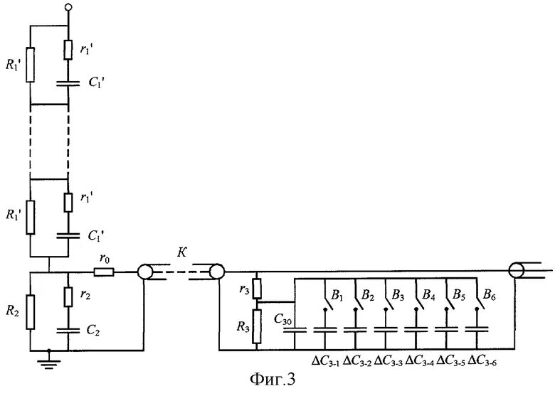
Делитель напряжения схема включения. емкостной делитель напряжения 10 кв схема. высоковольтный делитель напряжения схема. емкостной делитель напряжения схема.
Схема силового трансформатора 110 кв. схема подключения подстанции 110 кв. трансформатор 220 кв схема подключения. схема открытого распределительного устройства 110кв..
Импульсный выпрямитель схема. импульсный выпрямитель напряжения схема. высоковольтный импульсный источник питания схема. высоковольтный выпрямитель схема.
Генератор высоковольтных импульсов 555. схема генератора высоковольтного импульсного напряжения. схема высоковольтного преобразователя напряжения на тдкс. тиристорный генератор высокого напряжения.
Схема высоковольтного блокинг генератора. высоковольтный генератор из тдкс схема. генератор высокого напряжения на тдкс схема. блокинг генератор на тдкс схема.
Высоковольтное напряжение схема
Генератор высоковольтных импульсов 555. высоковольтный генератор на твс90п4. схема простого генератора высоковольтных импульсов. генератор высоковольтных импульсов схема.
Схема генератора ройера на полевых транзисторах. двухтактный блокинг генератор схема. схема двухтактного блокинг генератора на транзисторах. блокинг генератор на полевом транзисторе схема.
Стабилизатор анодного напряжения схема. высоковольтный стабилизатор напряжения 400в. стабилизатор высокого напряжения на полевом транзисторе. высоковольтный регулируемый стабилизатор напряжения схема.
Схема тиристорного высоковольтного генератора. высоковольтный импульсный генератор. схема генератор импульсов высокого напряжения. схема источник высокого напряжения, автогенератор.
Генератор высокого напряжения на твс 110пц15. генератор высокого напряжения на твс 110 ла. твс-110пц15 генератор высоковольтный. высоковольтный генератор на твс 110пц15 схема.
Принципиальная схема электростатической коптильни. генератор импульсов для проверки катушек зажигания. высоковольтный импульсный генератор схема. высоковольтный генератор из катушке зажигания схема.
Высоковольтный регулируемый стабилизатор напряжения схема. схема высоковольтного стабилизатора напряжения постоянного тока. высоковольтный регулятор напряжения схема. регулируемый высоковольтный источник питания схема.
Испытания кабеля 10кв схема. схема испытания трансформатора повышенным напряжением. высоковольтные испытания кабеля схема. схема испытания кабеля повышенным напряжением.
Схема удвоителя напряжения на диодах и конденсаторах. удвоитель постоянного напряжения схема. схема удвоения напряжения. схема утроения напряжения на диодах и конденсаторах.
Схема электрооборудования 81 760. электрические схемы высокого напряжения. силовая схема 81-740. схема петли 81 760.
Высоковольтный импульсный генератор. высоковольтный генератор наносекундного импульса схема. схема простого генератора высоковольтных импульсов. формирователь наносекундных импульсов высоковольтный.
Утроение напряжения практическая схема. схема умножения на реле. схемы умнож напряж для получения анодного напряж радиоламп. нарисовать и описать работу схемы умножения напряжения на пять.
Люстра чижевского схема на твс 110пц15. схема генератора высокого напряжения на строчном трансформаторе. схемы генератора высокого напряжения из тдкс. генератор высокого напряжения на твс 110 ла.
Высоковольтный преобразователь 15kv схема. схема китайской мухобойки электрической. высоковольтный инвертор схема. электрошокер схема кт805.
Генератор высоковольтных импульсов схема. генератор импульсов на тиристоре схема. блок питания высокого напряжения схема. тиристорный генератор высоковольтных импульсов.
Генератор высокого напряжения на твс 110пц15. блок питания на блокинг генераторе. схема высоковольтный генератор 60 кв,. преобразователь высокого напряжения схема.
Импульсный стабилизатор напряжения схема на транзисторах. мощный импульсный стабилизатор тока схема. высоковольтный импульсный стабилизатор напряжения схема. схема импульсного стабилизатора тока на полевом транзисторе.
Высоковольтное напряжение схема
Высоковольтный делитель напряжения схема. аппарат высоковольтный ав-20м. принципиальная схема делителя напряжения. высоковольтный делитель напряжения своими руками.