Удиви меня
В каких случаях нужен внутренний противопожарный водопровод
В каких случаях нужен внутренний противопожарный водопровод
Внутренний пожарный водопровод сп 10.13130.2009. требования к внутреннему противопожарному водоснабжению. требования к противопожарному водопроводу. система внутреннего противопожарного водопровода.
Пожарный кран нормы установки вентиля. правило пользования пожарного крана. внутренний пожарный кран порядок применения. пожарный кран внутреннего пожарного водопровода.
Внутренний противопожарный водопровод. требования к внутреннему противопожарному водоснабжению. характеристика пожарного водопровода. описание внутреннего противопожарного водопровода.
Из чего состоит противопожарный кран. пожарные краны внутреннего противопожарного водоснабжения. пожарный кран состоит из. пожарный кран конструкция крепления.
Требования к сети внутреннего противопожарного водопровода. пожарные рукава внутреннего противопожарного водопровода. содержание сетей внутреннего пожарного водоснабжения. источники наружного противопожарного водоснабжения.
Требования к противопожарному водопроводу. требования к внутреннему противопожарному водоснабжению. требования к содержанию сетей пожарного водоснабжения. пожарное водоснабжение нормативы и требования.
Сп 10.13130.2025 внутренний противопожарный водопровод. сп 10.13130.2025 системы противопожарной защиты.. внутренний пожарный водопровод сп 10.13130.2009. сп 10 пожарный водопровод.
Внутренний пожарный водопровод впв. внутренний противопожарный кран системы пожаротушения. схема устройства внутреннего пожарного крана. спецификация пожарного водопровода.
Требования к содержанию средств противопожарного водоснабжения. требования к противопожарному водопроводу. пожарное водоснабжение нормативы и требования. требования к внутреннему противопожарному водоснабжению.
В каких случаях нужен внутренний противопожарный водопровод
Внутренний противопожарный водопровод. источники наружного пожарного водоснабжения. наружные противопожарные водоснабжение. противопожарное водоснабжение презентация.
Пожарный кран составные части. пожарный кран внутреннего противопожарного водопровода. как пользоваться пожарным рукавом и пожарным краном. первичные средства пожаротушения внутренний пожарный кран.
Впв внутренний противопожарный водопровод. впв система пожаротушения. внутреннее противопожарное водоснабжение (впв). сухотруб внутренний противопожарный водопровод.
Раздельный противопожарный водопровод принципиальная схема. схема пожарного водопровода в2. схема устройства противопожарного водопровода. принципиальная схема внутреннего противопожарного водопровода.
Впв внутренний противопожарный водопровод. противопожарный водопровод в2 в коридоре. сухотрубный противопожарный водопровод. сухотруб внутренний противопожарный водопровод.
В каких случаях нужен внутренний противопожарный водопровод
"блок пожарных кранов 635900". впв внутренний противопожарный водопровод. кран для пожарного гидранта. пожарный кран внутреннего противопожарного водопровода.
В каких случаях нужен внутренний противопожарный водопровод
Классификация внутреннего противопожарного водопровода. классификация внутреннего пожарного водоснабжения. свод правил «наружное противопожарное водоснабжение. пожарные краны внутреннего противопожарного водопровода габариты.
Спринклерная пожарная система. станция спринклерного пожаротушения. апт система автоматического пожаротушения. впв внутренний противопожарный водопровод.
В каких случаях нужен внутренний противопожарный водопровод
Внутренний пожарный кран правила. внутренний противопожарный водопровод. правила пользования пожарным красном. порядок использования пожарного крана.
Схема пожарной системы водоснабжения. спринклерная система пожаротушения схема. схема пожарного водопровода в2. система противопожарного водоснабжения схема.
Схема подключения пожарного крана. схема соединения пожарного крана. пожарный водопровод схема подключения. схема устройства противопожарного водопровода.
Схема соединения пожарного крана. внутренний противопожарный водопровод. внутренний пожарный кран. пожарный кран внутреннего противопожарного водопровода.
Насосная пенотушения гидранты. впв внутренний противопожарный водопровод. внутренний пожарный водопровод впв. противопожарный водопровод в2 в коридоре.
Внутренний противопожарный водопровод. система противопожарного водоснабжения. наружный противопожарный водопровод. система пожарного водопровода.
Схема водоснабжения противопожарным водопроводом. схема пожарного водопровода в2. схема внутреннего противопожарного водопровода. принципиальная схема противопожарного водопровода.
Воздухоотводчик для пожарного водопровода.
Раздельный противопожарный водопровод принципиальная схема. объединенный пожарный водопровод принципиальная схема. схема внутреннего противопожарного водопровода. схема противопожарного водопровода с пожарными кранами.
Пожарный водопровод гидрант кран пожарный. внутренний противопожарный кран системы пожаротушения. наружный противопожарный водопровод. внутренний пожарный водопровод.
Внутренний пожарный кран. внутренний противопожарный водопровод. пожарный кран внутреннего противопожарного водопровода. внутренний противопожарный водопровод комплектуется.
В каких случаях нужен внутренний противопожарный водопровод
"блок пожарных кранов 635900". пожарный кран внутреннего противопожарного водопровода. внутренний пожарный кран 2025. пожарный кран комплектация.
Схема внутреннего пожарного водопровода. схема внутреннего водопровода. схема внутреннего противопожарного водопровода. элементы системы внутреннего водоснабжения.
В каких случаях нужен внутренний противопожарный водопровод
В каких случаях нужен внутренний противопожарный водопровод
В каких случаях нужен внутренний противопожарный водопровод
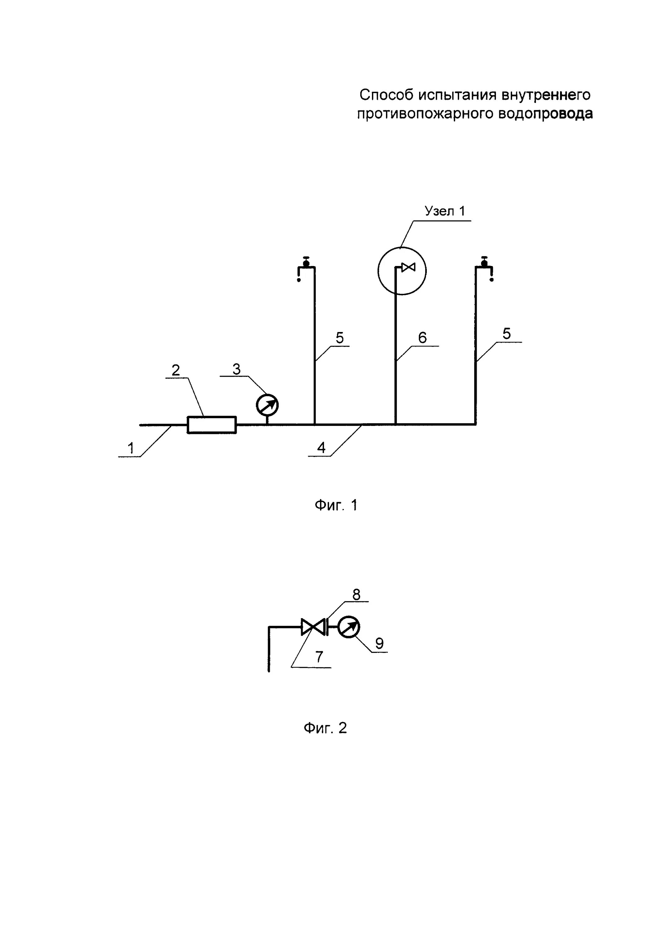
Система внутреннего противопожарного водопровода с насосом. испытание внутреннего пожарного водовода. испытание пожарных кранов на водоотдачу. внутренний противопожарный кран системы пожаротушения.
Внутренний пожарный водопровод впв. насос для пожаротушения (q=142,0 м3/ч, н=55,0м, n=45,0 квт). насосная пожаротушения 300 м3. насос повыситель для пожарного водопровода.
Внутренний пожарный водопровод впв. водопровод противопожарный g5_122. пожарный кран. пожарные краны сп водоснабжение.
Пожарный кран впв. пожарный кран внутреннего противопожарного водопровода. кран для пожарного гидранта. "блок пожарных кранов 635900".
Безводопроводное противопожарное водоснабжение. внутренний пожарный водопровод сухотруб. наружный противопожарный водопровод сп 8.13130.2025. впв внутренний противопожарный водопровод.
Противопожарные гидрант na wodoprowode d50. внутренний противопожарный кран системы пожаротушения. пожарные краны внутреннего противопожарного водоснабжения. сухотруб внутренний противопожарный водопровод.
В каких случаях нужен внутренний противопожарный водопровод
Внутренний противопожарный водопровод. монтаж пожарного водопровода. противопожарное водоснабжение. внутреннее противопожарное водоснабжение.
Валтек пожарный кран. кран пожарный уп001 70 мм. пожарный кран da40. пожарный кран внутреннего противопожарного водопровода.
Технолюкс (пб02 150150) пб02 пожарный кран 150x150 мм. кран пожарный 781200. "блок пожарных кранов 635900". пожарный кран внутреннего противопожарного водопровода.
Пожарный трубопровод. внутренний противопожарный водопровод. противопожарное водоснабжение. наружный пожарный водопровод.
В каких случаях нужен внутренний противопожарный водопровод
Пожарный гидрант. противопожарный водопровод. противопожарное водоснабжение. наружный противопожарный водопровод.
Схема соединения пожарного крана. внутренний пожарный кран плакат. периодичность осмотра пожарных рукавов и пожарных кранов. пожарный кран составные части.
Схема внутреннего противопожарного водопровода. принципиальная схема противопожарного водопровода. схема внутреннего противопожарного водопровода здания. раздельный противопожарный водопровод принципиальная схема.
Противопожарный водопровод в2 в коридоре. водопровод противопожарный g5_122. внутренний противопожарный водопровод. система противопожарного водоснабжения.
Впв внутренний противопожарный водопровод. насосная станция пожаротушения стеклопластик. насосная станция пожарного водоснабжения. насосная станция для пожарного водопровода.
В каких случаях нужен внутренний противопожарный водопровод
Система хозяйственно питьевого и противопожарного водопровода. система водяного пожаротушения. противопожарные водопроводы зданий. система внутреннего противопожарного водоснабжения.
Впв внутренний противопожарный водопровод. насосная станция внутреннего противопожарного водопровода. насосная станция аупт. трубопровод системы пожаротушения.
Впв внутренний противопожарный водопровод. впв система пожаротушения. противопожарные трубы для спринклерной системы. пожарный трубопровод системы пожаротушения.
Схема внутреннего кольцевого противопожарного водопровода. аксонометрическая схема пожарного водопровода. раздельный противопожарный водопровод принципиальная схема. схема повысительной насосной установки.
Схема установки повысительных насосов. схема пожарного водопровода в2. схема внутреннего водоснабжения с повысительной насосной установкой. схема внутреннего противопожарного водопровода.
Впв пожарный водопровод схема. схема пожарного водопровода в2. схема противопожарного водопровода. схема пожарного водопровода здания.
Система противопожарного водоснабжения. внутренний противопожарный водопровод. внутреннее противопожарное водоснабжение. противопожарный трубопровод.
Наружный противопожарный водопровод схема. наружный противопожарный водопровод схема установки. патрубок для подключения пожарной техники схема подключения. гидравлическая схема пожарного водопровода.
Схема пожарного водопровода в2. впв пожарный водопровод схема. противопожарный водопровод схема насосная. схема пожарного водоснабжения предприятия.
Требования к противопожарному водопроводу. требования к внутреннему противопожарному водопроводу. виды пожарного водопровода. пожарный водопровод требования.
Внутренний противопожарный водопровод. проектирование пожарного водопровода. наружный противопожарный водопровод. проектирование наружный пожарный водопровод.
Порядок использования пожарного крана при тушении пожара. правила пользования пожарным краном. внутренний пожарный кран. правило пользования пожарного крана.
Внутренний противопожарный водопровод. пожарный кран. внутренний пожарный кран. пожарный кран обж.
Диаметр пожарного рукава для внутреннего пожаротушения диаметр. внутренний противопожарный водопровод. внутреннее противопожарное водоснабжение. требования к внутреннему противопожарному водопроводу.
Схема пожарного водопровода в2. гидравлическая схема пожарного водопровода. раздельный противопожарный водопровод принципиальная схема. схема обвязки пожарных насосов.
Схема объединенный хозяйственно противопожарный водопровод. схема внутреннего противопожарного водопровода. противопожарный водопровод на элеваторах. противопожарный водопровод на эстакаде.