Удиви меня
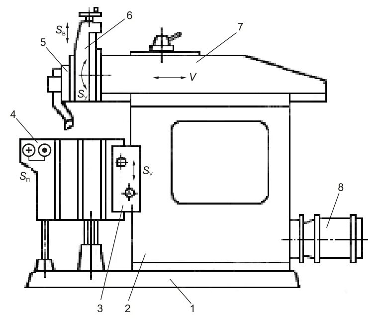
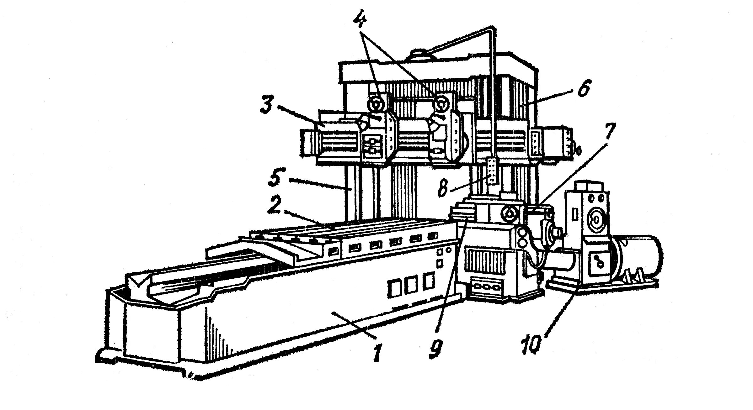
Устройство строгального станка
Устройство строгального станка
Поперечно-строгальный станок спс-01. кинематическая строгального станка 7307. строгальные долбёжные и протяжные станки. 7307тд станок поперечно-строгальный габаритный.
Кинематическая схема строгального станка по металлу. чертежи ползуна поперечно-строгального станка. кинематическая схема поперечно-строгального станка. кинематическая схема поперечно строгального станка 737.
Строгальный станок схема. кинематическая схема поперечно-строгального станка. поперечно-строгальный станок схема. кинематическая схема строгального станка по металлу.
7211 станок строгальный. схема продольно строгального станка. коробка скоростей поперечно строгального станка 7в36. поперечно-строгальный станок спс-01.
Устройство строгального станка
Строгальный станок 7б35 чертеж. кинематическая схема строгального станка по металлу. поперечно-строгальный станок 736м. 7м36 станок поперечно-строгальный.
Устройство строгального станка
Основные узлы поперечно строгального станка. поперечно-строгальный станок спс-01. основные узлы строгального станка. поперечно-строгальный станок нс-632.
Поперечно строгальный станок 7303 чертеж. кинематическая схема станка 7е35.. поперечно-строгальный станок 737. поперечно-строгального станка 7307 кинематика.
Кинематическая схема поперечно-строгального станка. строгальный станок 7307тд. долбежный станок 7а420 чертеж. кинематическая схема строгального станка по металлу.
Поперечно-строгальный станок 7е35 чертёж. 7е35 станок поперечно-строгальный. долбежный станок по металлу чертеж. смазка поперечно-строгального станка 7б35.
Устройство строгального станка
Поперечно-строгальный станок спс-01. 7б35 станок поперечно-строгальный чертеж. кинематическая схема поперечно-строгального станка. поперечно-строгальный станок по металлу спс 01.
7307гт станок поперечно-строгальный. станок 7307гт. строгальный станок 7305 схема. коробка скоростей станка 7307.
Устройство строгального станка
Устройство строгального станка
Устройство строгального станка
Основные узлы поперечно строгального станка 7е35. 7е35 станок поперечно-строгальный. поперечно-строгальный станок 7е35 чертёж. поперечно строгальный станок 7е35 чертеж поперечины.
7305 станок поперечно-строгальный. кинематическая схема поперечно строгального станка 7305. схема продольно строгального станка. 7е35 станок поперечно-строгальный схема.
Схема поперечно строгального станка 7305. поперечно строгальный станок 730гт. схема смазки станка 7е35. поперечно строгальный станок 7а311.
Кинематическая схема поперечно-строгального станка. кинематическая схема поперечно строгального станка 7305. кинематическая строгального станка 7307. строгальный станок по металлу схема.
Устройство строгального станка
Устройство строгального станка
Устройство строгального станка
Кинематическая схема внутришлифовального станка. кинематическая схема долбежного станка по металлу. кинематическая схема строгального станка. кинематическая схема поперечно-строгального станка.
Устройство строгального станка
Поперечно-строгальный станок 736. поперечно-строгальный станок по металлу сс1000. поперечно-строгальный станок спс-01. кинематическая схема строгального станка по металлу.
Кинематическая схема строгального станка по металлу. строгальный станок по металлу схема. схема продольно строгального станка. продольно строгальный станок устройство.
Продольно-строгальный станок 7212. продольно-строгальный станок 7212 электрическая схема. продольно строгальный станок устройство. станок продольно-строгальный 7231а.
Устройство строгального станка
Кулисный механизм строгального станка. кулисный механизм поперечно-строгального станка. кинематическая схема поперечно строгального станка 737. кинематическая схема поперечно-строгального станка.
Суппорт станка 7307д. станина для строгального станка. ползун строгального станка. станок поперечно-строгальный 7307 карта смазки.
Строгальный станок 7210 электрическая схема. схема продольно строгального станка. кинематическая схема продольно строгального станка 7212. продольно строгальный станок устройство.
Продольно-строгальный станок 7212 электрическая схема. продольно-строгальный станок 7212. схема продольно строгального станка. станок продольно-строгальный 7231а.
Строгальный станок 7м36. поперечно-строгальный станок по металлу спс 01. 7д36 станок поперечно-строгальный. ползун поперечно строгального станка.
Поперечно-строгальный станок 736. схема механизма поперечно строгального станка. кинематическая схема поперечно-строгального станка. схема 736 станок поперечно-строгальный.
Станок поперечнстрогальный нс632. основные узлы поперечно строгального станка. кинематическая строгального станка 7305. строгального станка 7305 кулисный механизм.
Устройство строгального станка
Строгальный станок 7305т. строгальный станок 7305 схема. схема поперечно строгального станка 7305. поперечно строгальный станок 7303 чертеж.