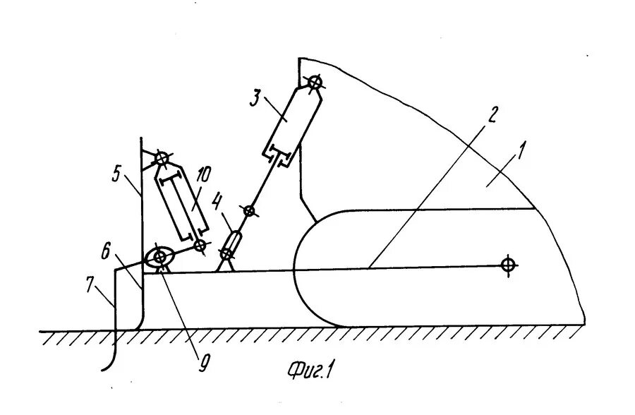
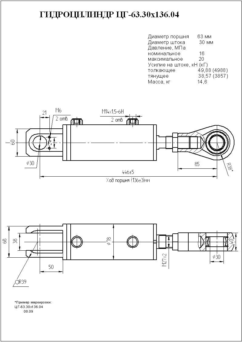
Толкающая сила. тянуть или толкать. человек с усилием толкавший.Человек с усилием толкавший. комплект для толкающего усилия. что легче тянуть или толкать машину. тянущая или толкающее усилие.Усилие толкания тележки. усилие перемещения тележки. толкать телегу. человек с усилием толкавший.Толкающее усилиеУсилие на штоке гидроцилиндра формула. расчет усилия гидроцилиндра формула. скорость выдвижения штока гидроцилиндра формула. расчет скорости движения штока гидроцилиндра.Толкающее усилиеТолкающее усилиеСкорость перемещения штока гидроцилиндра. усилие на штоке гидроцилиндра формула. подсчёт усилия на штоке гидроцилиндра. скорость прямого хода штока гидроцилиндра.Толкающее усилиеТолкающее усилиеТолкающее усилиеТолкающее усилиеТолкающее усилиеТолкающее усилиеУсилие толкания тележки. сила приложенная под углом. работа силы под углом. сплавщик передвигает багром плот.Толкающее усилиеТолкающее усилиеТолкающее усилиеТолкающее усилиеТолкающее усилиеТолкающее усилиеТолкающее усилиеТолкающее усилиеТолкающее усилиеТолкающее усилиеТолкающее усилиеТолкающее усилиеТолкающее усилиеПринцип рычага. рычаг физика. принцип действия рычага. усилие по принципу рычага.Толкающее усилиеТолкающее усилиеТолкающее усилиеТаблица тягового усилия лебедки. расчет тягового усилия лебедки. как рассчитать тяговое усилие. необходимое усилие для перемещения груза.Толкающее усилиеТолкающее усилиеТолкающее усилиеТолкающее усилиеТолкающее усилиеТолкающее усилиеТолкающее усилие