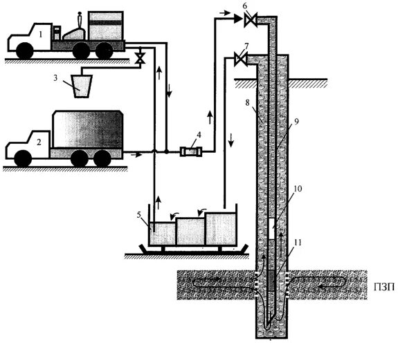
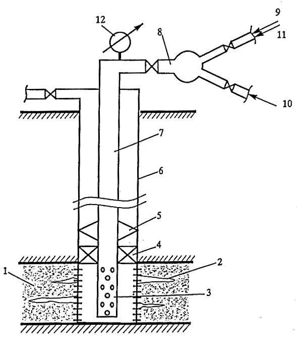
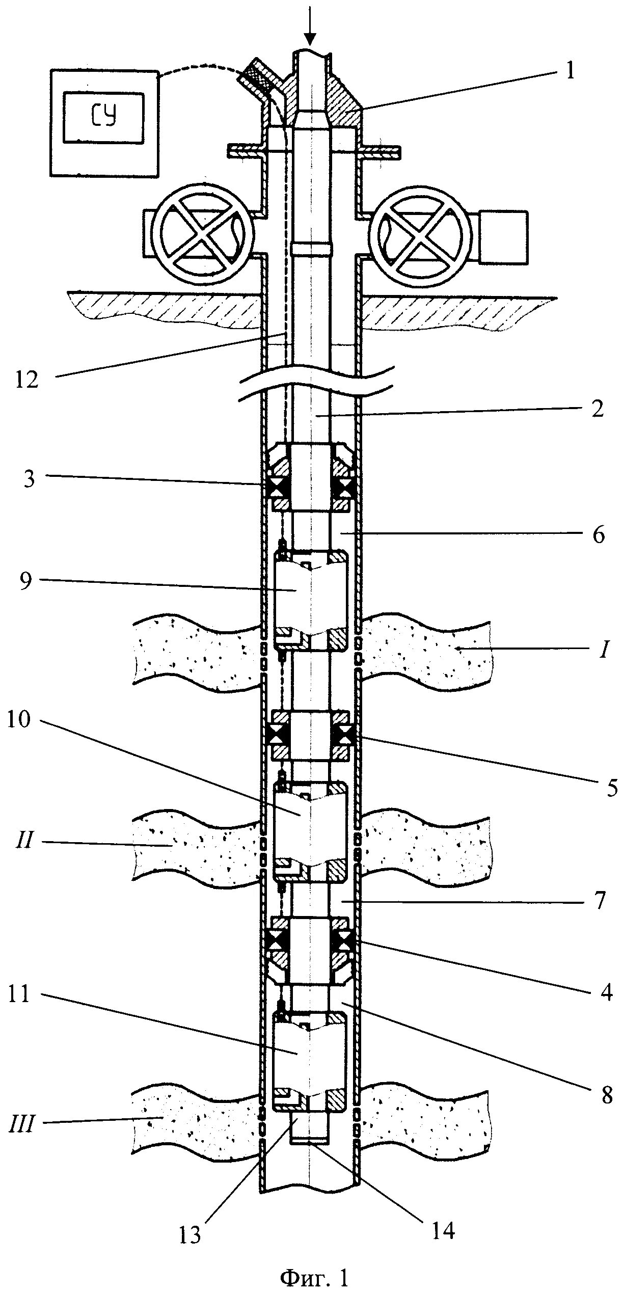
Схема подачи ингибитора аспо. схема закачки ингибитора в скважину. схема закачки пав в скважину. схема закачки метанола в газовую скважину.Схема закачкаСхема прямой промывки скважины. схема процесса глушения скважины. схема оборудования при промывке скважины цс 320. схема закачки пав в скважину.Закачка химреагентов в скважину схема. схема подачи ингибитора в затрубное пространство скважины. схема закачки метанола в газовую скважину. схема закачки ингибитора в скважину.Подземное хранилище газа технологическая схема. схема подземного хранилища газа в водоносном пласте. схема подземного хранилища для природного газа. технологическая схема закачки и отбора газа из подземного хранилища.Принципиальная схема бкнс. схема закачки полимера. схема закачки биопав. принципиальная схема кустовой насосной станции.Схема закачки биопав. схема закачки полимера. схема закачки биополимера. технологическая схема закачки углекислого газа в пласт.Схема гидроразрыва пласта чертеж. оборудование для гидроразрыва пласта схема. схема гидравлического разрыва пласта. технологическая схема гидроразрыва пласта.Принципиальная схема нагнетательной скважины. зумпф нефтяной скважины. нагнетательная скважина ппд схема. схема водозаборной скважины в нефтянке.Схема обводнения скважин. обводнение газовых скважин. обводнение скважин и пластов. закачка химреагентов в скважину.Схема закачки ингибитора в скважину. закачка химреагентов в скважину схема. закачка ингибитора в скважину. схема подачи ингибитора в затрубное пространство скважины.Эцн схема. схема нагнетательной скважины. подземное оборудование нагнетательных скважин. арматура ппд скважины.Схема добычи нефти из пласта. нефтяной пласт. закачка в пласт. закачка полимерного раствора в пласт.Схема нагнетательной скважины. нагнетательная скважина.Подземное хранилище газа схема. подземные хранилища газа в соляных кавернах. схема подземного хранилища для природного газа. схема подземного газохранилища.Конструкция нагнетательной скважины ппд. нагнетательная скважина ппд схема. нагнетательная скважина ппд. схема нагнетательной скважины.Схема закачки газа в пласт. закачка пав в пласт схема. закачка дымовых газов в пласт. газификация угля схема.Технологическая схема закачки углекислого газа в пласт. схема закачки со2 в пласте. закачка диоксида углерода в пласт. закачка в пласт двуокиси углерода.Схема закачки метанола в газовую скважину. схема закачки пав в скважину. схема закачки газа в пласт. схема закачки углекислого газа в пласт.Закачка химреагентов в скважину схема. кислотная обработка призабойной зоны. нагнетательная скважина ппд. термогазохимическое воздействие на призабойную зону скважины.Технологическая схема системы ппд на месторождении. схема водоснабжения системы ппд. технологическая схема закачки нефтяного газа. переработка газового конденсата схема.Закачка химреагентов в скважину схема. схема подачи ингибитора аспо. полевой заправочный пункт пзп-10а. закачка ингибитора в скважину.Щелочное заводнение для повышения нефтеотдачи. пав полимерное заводнение. щелочное заводнение схема. схема заводнения нефтяных пластов.Освоение скважин закачкой газированной жидкости. освоение скважины свабированием. освоение скважины методом компрессирования. схема компрессорного метода освоения скважины нагнетательной.Схема обработки скважины соляной кислотой. схема обвязки оборудования при пенокислотной обработке. схема кислотной обработки скважин. схема проведения кислотной обработки скважин.Схема закачки ингибитора в скважину. схема периодической закачки ингибитора солеотложения. обработка призабойной зоны скважины. схема закачки ингибитора в пласт.Закачка химреагентов в скважину схема. схема промывки скважины. схема солянокислотной обработки скважины. схема промывки скважины при бурении.Устье скважины водозаборной. схема арматуры водозаборной скважины. схема промышленной водозаборной скважины. принципиальная схема водозаборной скважины.Схема закачки гелеобразующих составов. схема закачки ингибитора в скважину. технологический процесс закачки композиции. схема оборудование для закачки полимера.Схема закачки ингибитора в пласт. устьевое оборудование шсну. схема закачки ингибитора в скважину. устьевое оборудование шгн.Одновременно раздельная закачка ппд. оборудование для одновременно раздельной закачки. закачка агента в скважину.Схема закачкаПринципиальная схема оборудования скважины для проведения грп. схема оборудования скважины при гидравлическом разрыве пластов. схема расположения оборудования при гидравлическом разрыве пласта. схема оборудования при гидроразрыве пласта.Схема прямой и обратной промывки скважины. схема обратной промывки скважины. схема промывки скважины при бурении. схема прямой промывки скважины.Схема закачкаСхема нагнетательной скважины с пакером. конструкция нагнетательной скважины ппд. нагнетательная скважина ппд. нагнетательная линия скважины.Гидродинамический метод повышения нефтеотдачи. нагнетательная скважина ппд. гидродинамические методы повышения нефтеотдачи пластов. методы увеличения нефтеотдачи пластов схема.Схема термокислотной обработки скважин. схема обработки скважины соляной кислотой. схема размещения оборудования при солянокислотной обработке скважин. схема расположения оборудования при кислотной обработке скважин.Схема закачкаГазлифтная эксплуатация скважин схема. схема закачки ингибитора в скважину. схема газлифтной установки. газлифтный способ добычи нефти.