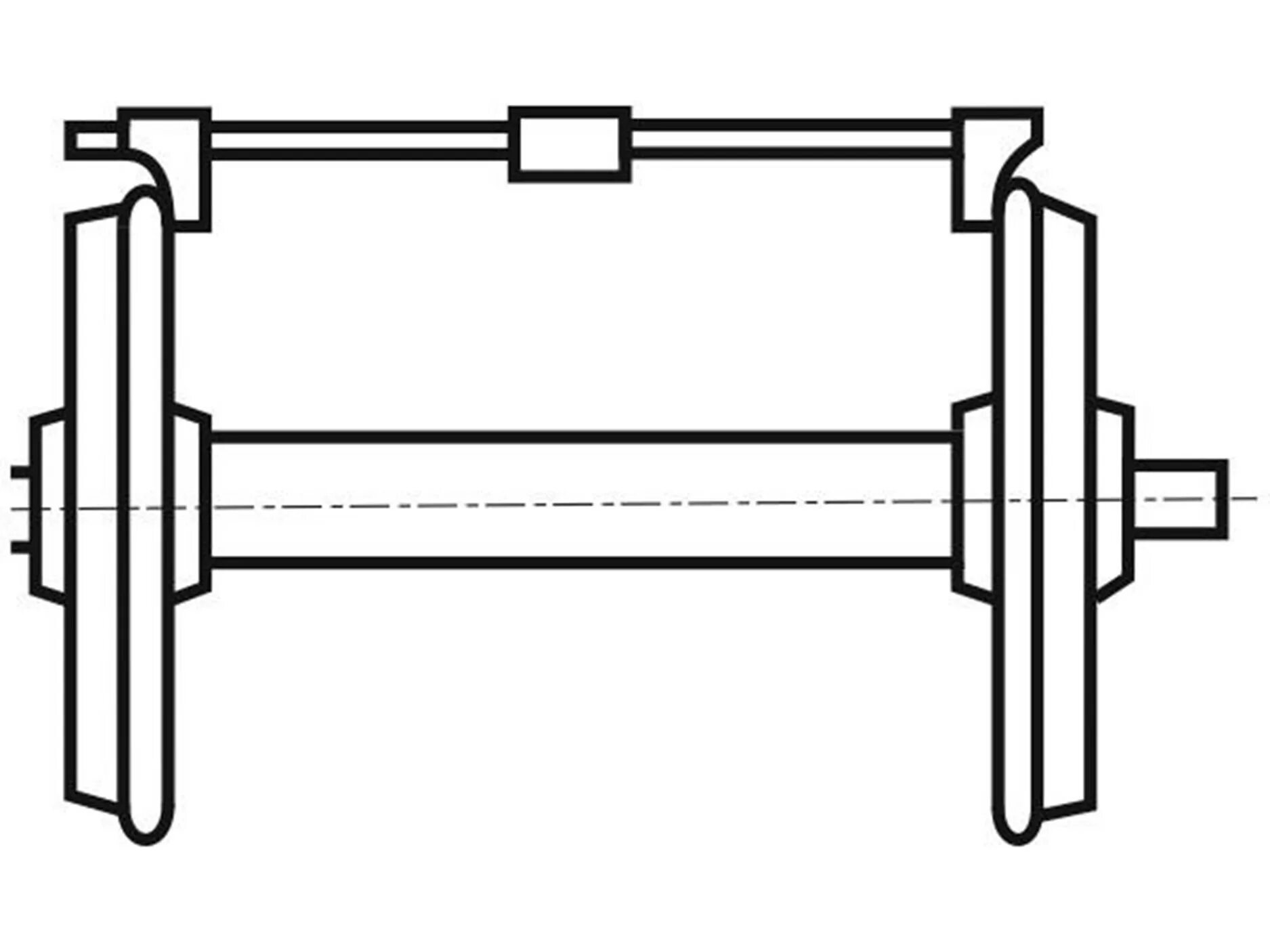
Расстояние между внутренними гранями ободьев колес. расстояние между внутренними гранями бандажей. колесная пара 1440 мм. расстояние между внутренними гранями колесной пары.Расстояние между внутренними гранями колесных пар. колесная пара 1440 мм. расстояние между внутренними гранями колес измеряют. измерение расстояния между внутренними гранями колес колесной пары.Расстояние между внутреннимиРасстояние между внутренними гранями колес. расстояние между внутренними гранями колес колесной пары. ширина между внутренними гранями колес. внутренние грани колес колесной пары.Расстояние между внутреннимиРасстояние между внутреннимиРасстояние между внутреннимиЧертеж колесной пары вагона колеи 400 мм. колесная пара грузового вагона схема. расстояние между внутренними гранями колесных пар. колесная пара для 5тс 224.033.Расстояние между внутреннимиДопуск для номинального размера 1440 колесной пары. расстояние между внутренними гранями ободьев колес. расстояние между внутренними гранями колес колесной пары. ширина между внутренними гранями колес.Расстояние между внутренними1440 ось колесной пары. колесная пара ру1ш-950 чертеж. расстояние между внутренними гранями колес колесной пары. колесная пара 1440 мм.Расстояние между внутреннимиКолесная пара замеры шаблоном. расстояние между внутренними гранями колес колесной пары. скоба дк для измерения диаметра колеса. замеры параметров колёсной пары.Расстояние между внутреннимиРасстояние между внутреннимиРасстояние между внутреннимиКолесная пара колея 1520. между внутренними гранями колес. расстояние между внутренними гранями колес колесной пары. устройство бандажного колеса.Расстояние между внутренними гранями колесных пар. диаметр колеса колесной пары вагона. расстояние между внутренними гранями ободьев колес. расстояние между внутренними гранями колес колесной пары.Колесные пары крановые до 1100 диаметр. колесная пара ру1ш-950 чертеж. размер между внутренними торцами бандажей колесной пары локомотива. минимальный диаметр колесной пары пассажирского вагона.Расстояние между внутреннимиРасстояние между внутреннимиРасстояние между внутреннимиВнутренняя грань колесной пары. расстояние между внутренними гранями колес. расстояние колесной пары. расстояние между внутренними гранями колесных пар.Расстояние между внутреннимиРасстояние между внутреннимиРасстояние между внутренними гранями колесных пар. 1440 ось колесной пары. колесная пара колея 1520. расстояние между внутренними гранями колес колесной пары.Ширина колеи жд 1520мм. 1520 ширина железнодорожной колеи. ширина колеи между внутренними гранями головок рельсов – 1520 мм. ширина российской железнодорожной колеи.Расстояние между внутреннимиРасстояние между внутреннимиРасстояние между внутреннимиРасстояние между внутреннимиРасстояние между внутреннимиРасстояние между внутреннимиРасстояние между внутреннимиРасстояние между внутреннимиРасстояние между внутренними гранями колес колесной пары. внутренняя грань колесной пары. ось между колесами. внутренние грани колес колесной пары.Расстояние между внутреннимиРасстояние между внутреннимиРасстояние между внутреннимиРасстояние между внутреннимиРасстояние между внутреннимиРасстояние между внутреннимиРасстояние между внутреннимиРасстояние между внутреннимиРасстояние между внутреннимиРасстояние между внутреннимиРасстояние между внутреннимиРасстояние между внутреннимиРасстояние между глазами. расстояние между внутренними углами глаз. ширина между глазами. расстояние между глазами равно.Расстояние между внутреннимиШирина рельсовой колеи в россии. ширина рельсовой колеи метро. номинальная ширина рельсовой колеи. расстояние между внутренними гранями головок рельсов.Расстояние между внутреннимиРасстояние между внутреннимиРасстояние между внутреннимиРасстояние между внутреннимиРасстояние между внутреннимиРасстояние между рабочими гранями головки контррельса. рамный рельс. рабочими гранями головки контррельса и усовика. расстояние между рабочей гранью контррельса и усовика.Как замерить межцентровое расстояние. как правильно замерить межцентровое расстояние глаз. как измерить межцентровое расстояние глаз линейкой. как измерить расстояние между зрачками самостоятельно.Расстояние между внутреннимиРасстояние между внутреннимиСтроение жд рельса. расширение рельсового пути схема. ширина колеи между внутренними гранями головок рельсов – 1520 мм. схема строения рельсового пути.Расстояние между внутреннимиРасстояние между внутреннимиРасстояние между внутреннимиРасстояние между внутреннимиТаблица расстояний до городов россии-. абхазия таблица километража между городами 2025г. расстояние между городами на карте.Зазоры дверей шахты лифта. зазор между порогом шахты и кабины лифта. зазор между порогом кабины и шахты. зазор между створками дверей лифта.Расстояние между внутреннимиМинимальное расстояние между осями смежных путей. расстояние между осями жд путей. ширина междупутья железной дороги. минимальное расстояние между осями смежных путей на станции.Чертеж задачи на движение. из двух городов расстояние между которыми. из 2 городов одновременно навстречу друг другу выехали 2 автомобиля. задачи на движения скорость с ответами 4 класс.Расстояние между машина с машинами. интервал между автомобилями. дистанция между автомобилями. расстояние между машинами дистанция.Расстояние между внутреннимиРасстояние между внутреннимиМинимальное расстояние между осями смежных путей на станции. расстояние между осями смежных железнодорожных путей. расстояние между платформами жд осями. расстояние между смежными путями на станции.Расстояние между внутреннимиРасстояние между внутреннимиРасстояние между внутреннимиКак найти расстояние до объекта. как определить расстояние до объекта. измерение расстояния до объекта. как определить расстояние до объекта зная его высоту.Расстояние между внутреннимиРасстояние между внутреннимиРасстояние между внутреннимиРасстояние между внутренними