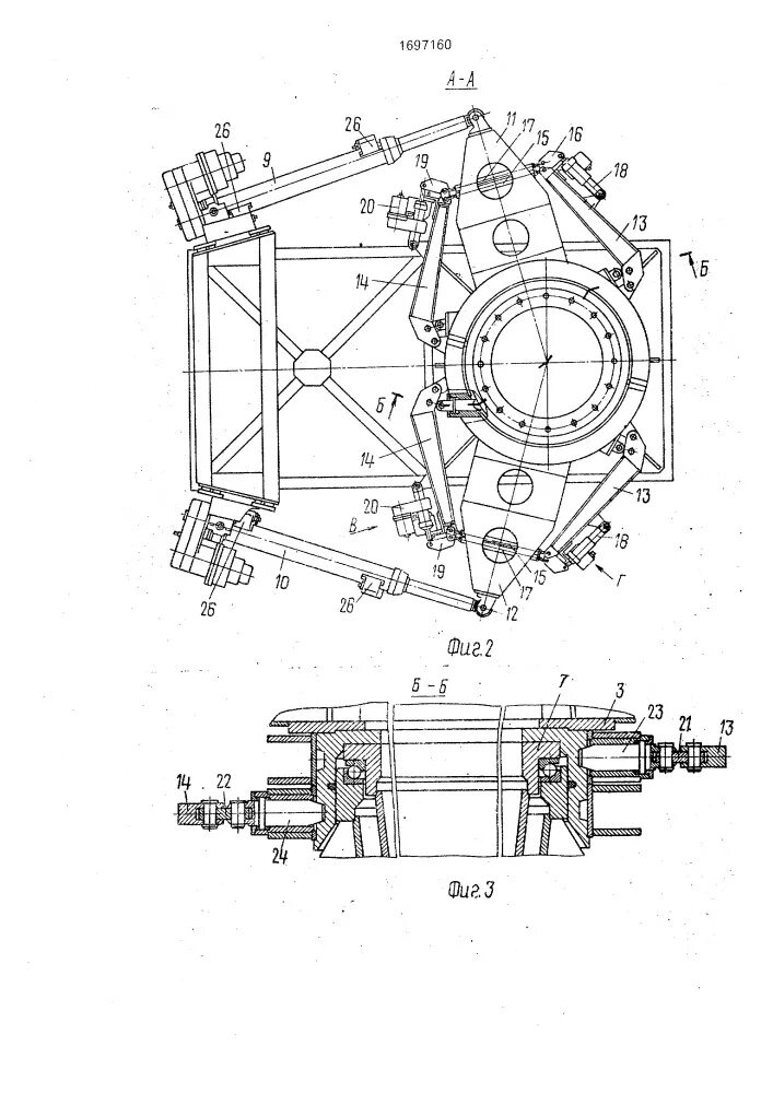
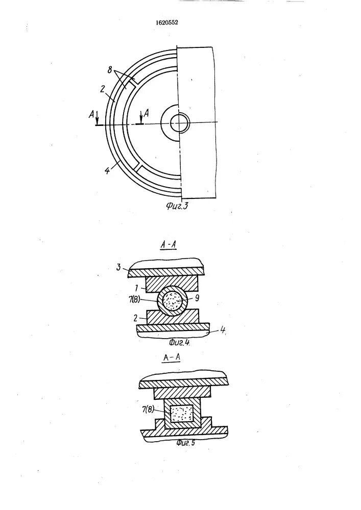
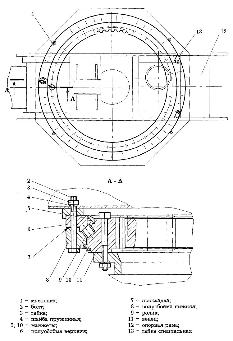
Поворотные устройства конструкции поворотных устройств
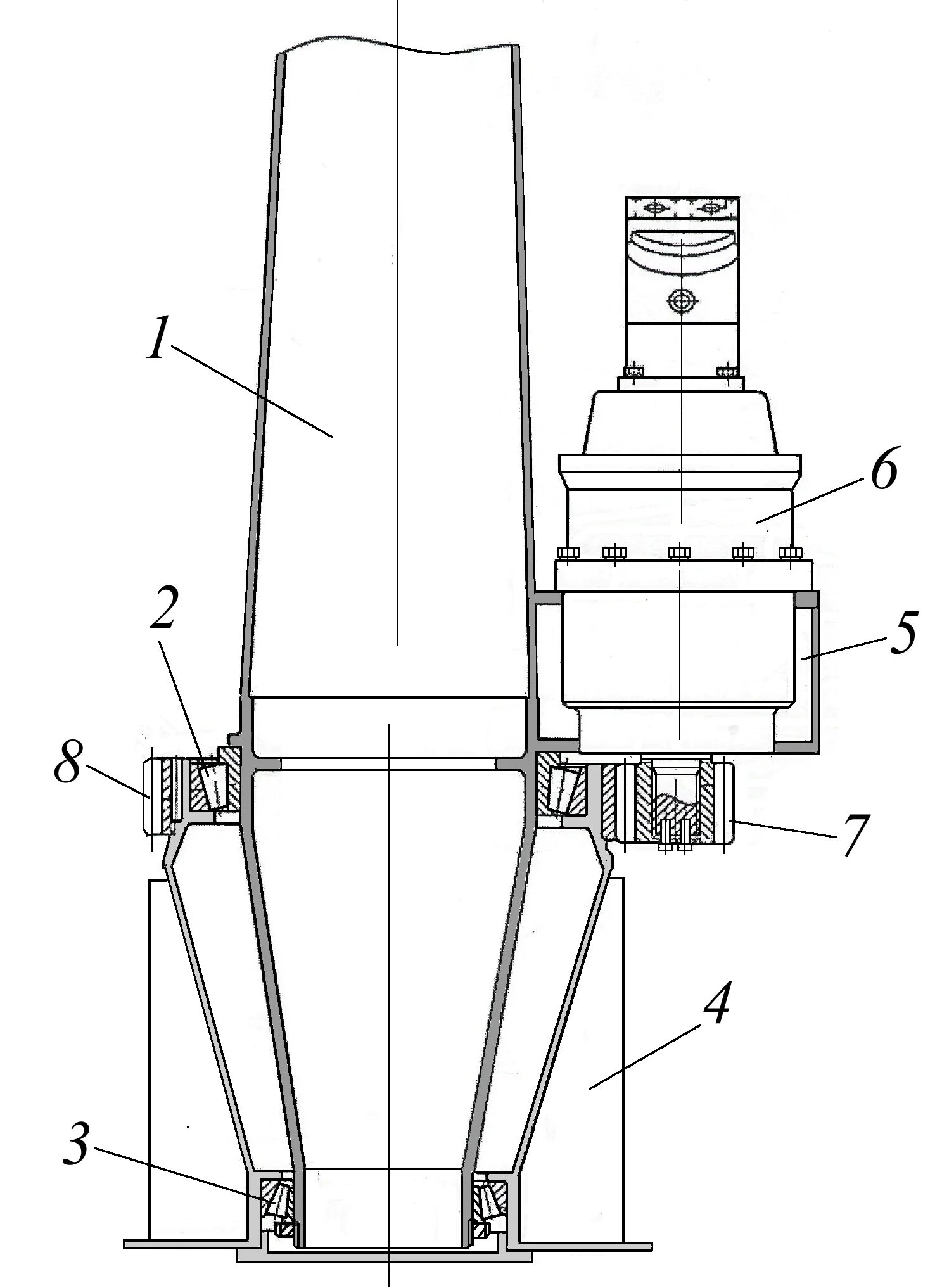
Устройство антенно-поворотное мик-апу. поворотный механизм антенны для orbitron. опу для антенны. опорно поворотное устройства параболических антенн.Поворотные устройства конструкции поворотных устройствПоворотное приспособление. поворотные устройства приспособлений. поворотная конструкция. конструкции блоков поворотных механизмов.Наклонно поворотное устройство агс. транспортно поворотное устройство. поворотные устройства приспособлений. торцевой поворотный механизм.Наклонно поворотное устройство агс. опорный поворотный устройство 061.30.1180.300.41.1504. нпу 020 наклонно поворотное устройство. поворотно наклонный механизм.Опорно поворотные устройства для антенных систем. опу для антенны. ннв-6 поворотное устройство. опорно поворотное устройство трехпозиционное.Чертеж опорно поворотного устройства антенны. опорно поворотный механизм. конструкция поворотного устройства. опу для антенны.Опорно поворотное устройство ptr-404hm. рг-30 поворотный механизм. поворотное устройство бкн-3.05.130. чертеж опорно поворотного устройства антенны.Поворотный круг для тележек вагонов. поворотное устройство ор-12614-нпп». поворотный круг для рельсовой тележки. поворотный круг для вагонеток шахтных.Опорно поворотный механизм антенны. опорно-поворотное устройство для антенны. антенное поворотное устройство. чертеж опорно поворотного устройства антенны.Поворотка для антенны мэо схема. чертеж опорно поворотного устройства антенны. поворотное устройство из мэо. опорно поворотный механизм антенны.Опорно поворотный механизм антенны. опорно-поворотное устройство для антенны. антенно поворотное устройство. чертеж опорно поворотного устройства антенны.Опорно-поворотное устройство. конструкция опорно поворотного устройства. опорно-поворотное устройство своими руками. опорно-поворотное устройство камеры.Поворотные устройства конструкции поворотных устройствПараболическая остронаправленная антенна. чертеж параболической зеркальной антенны. чертеж рупорно параболической антенны. чертеж опорно поворотного устройства антенны.Поворотные устройства конструкции поворотных устройствПоворотный механизм сп4901. опорно-поворотное устройство автокрана чертеж. опорно поворотные механизмы кранов. опорный поворотный устройство 061.30.1180.300.41.1504.Опорно-поворотное устройство для антенны. опорно-поворотное устройство. антенное поворотное устройство. вращающийся устройство.Опорно-поворотное устройство (опу 656 мм.). опорно поворотный подшипник чертеж. опорно-поворотное устройство автокрана чертеж. опорно-поворотное устройство крана.Двухосевое поворотное устройство. ннв-6 поворотное устройство. поворотное устройство ду100. двухосный поворотный механизм.Поворотный редуктор кждэ 16. опу кждэ-16. опорно-поворотное устройство крана. опорно поворотный подшипник чертеж.Поворотное устройство ккиг 1000-25. поворотно шарнирный механизм. вращающийся поворотный механизм. шарнирное устройство.Rohde schwarz rd 130 - антенный ротатор. поворотное устройства радант 2000. g5500 поворотное устройство. поворотный механизм антенны для orbitron.Поворотный механизм манипулятора. поворотные устройства приспособлений. опорно-поворотное устройство. поворотное устройство для емкости.Опорно поворотный механизм. опорно-поворотное устройство. опорно-поворотное устройство схема. опорно-поворотное устройство для антенны.Конструкция поворотного стола. автоматический поворотный механизм. вращающийся поворотный механизм. поворотное устройство для стола.Люк-лаз 600 чертёж деталировочный. устройства подъемно-поворотные для крышек люков. подъемно поворотное устройство плавающей головки. ост 26-2013-83 устройства подъемно-поворотные для крышек люков.Дэк 251 опорно поворотный механизм схема. опорно-поворотное устройство qnb 560.20z2. конструкция опорно поворотного устройства. опорно поворотный механизм.Поворотное устройство mbr 2000. опорно поворотное устройство 5пм7фо01. опу поворотное устройство. двухосное опорно - поворотное устройство.Поворотное устройство-5500. схема опорно поворотного устройства jinwoo280. g-55 поворотное устройство. поворотное устройство sw 90 20-20.Поворотные механизмы для кранов манипуляторов. гидропривод поворотный. поворотный механизм крана. гидравлическое поворотное устройство.Диаграмма направленности опорно-поворотного устройства. опорно-поворотное устройство чертеж. чертеж трех поворотного устройства. конструкция опорно поворотного устройства.Опорно поворотное устройство ptr-404hm. р-404 поворотное устройство. поворотное устройство ор-12614-нпп». поворотное устройство ко 502д.Поворотные устройства конструкции поворотных устройствКонструкция опорно поворотного устройства. поворотное устройство крана. опорный подшипник крана. опорно-поворотное устройство схема.Опорно-поворотное устройство (опу 656 мм.). опорно-поворотное устройство экскаватора чертеж. опорно поворотное устройство 5пм7фо01. чертёж поворотной платформы автокрана.Рс 200 поворотная платформа. опорно поворотный механизм. опорно-поворотное устройство. опорно поворотное.Поворотные устройства конструкции поворотных устройствОпорно-поворотное устройство (опу 656 мм.). опорно-поворотный подшипник skf 353112. опорно поворотное устройство s420lc-v. подшипник опорно поворотный 0009245029.Опорно поворотное устройство s420lc-v. опу eb1.22.0308.200-1sppn. опорно-поворотный круг 230.20.0700.503,. опу опорно поворотное устройство.Поворотные устройства конструкции поворотных устройствПоворотные устройства конструкции поворотных устройствПоворотные устройства конструкции поворотных устройствПоворотные устройства конструкции поворотных устройствПоворотный ленточный конвейер для шпона радиус поворота. поворотные транспортеры ленточные на 90 градусов. поворотный конвейер ленточный схема. поворотный стол роликового конвейера чертеж.Опорно-поворотное устройство (опу 656 мм.). опорно поворотное устройство s420lc-v. опорно поворотный подшипник caterpillar 320. опорно-поворотное устройство 11348.Поворотные устройства конструкции поворотных устройствПоворотный стол станка 2636гф1 чертеж. поворотный механизм для станка чертеж. кожуха на станки поворотные чертежи. поворотный узел для станка.Опорно-поворотное устройство qnb 560.20z2. опу skf rks.23.0741. поворотного устройства «шелонь». опорно-поворотный круг с мотор-редуктором.Поворотные устройства конструкции поворотных устройствПоворотный механизм re 111ns7. поворотное устройство пв60. поворотный механизм bd2g. механизм поворотный skil4300.Поворотные устройства конструкции поворотных устройствПоворотное устройства радант 2000. az-1000 поворотное устройство. антенное поворотное устройство азимутальное радант az1000. поворотный механизм антенны для orbitron.Опорно поворотный подшипник caterpillar 320. экскаваторumg e220w. опорно поворотный механизм экскаватора хитачи 330 устройство. опорно-поворотное устройство (опу 656 мм.).Схема опорно поворотного устройства jinwoo280. опорно поворотный круг экскаватора чертеж. зубчатый венец опу. конструкция опорно поворотного устройства.Поворотные устройства конструкции поворотных устройствУстройство стопорения каната. механизмы стопорения конструкции. поворотный механизм для автомата. механизм стопорения ножки.Поворотные устройства конструкции поворотных устройствПоворотное устройство ручного перемещения. двухосевое поворотное устройство. двухосный поворотный механизм. осевой поворотный механизм мини.Опорно-поворотное устройство (опу 656 мм.). поворотный механизм см150. поворотный механизм re 111ns7. опу поворотное устройство.Опорно-поворотное устройство (опу 656 мм.). поворотный механизм гидравлического экскаватора чертеж. опорно поворотный подшипник чертеж. опорно поворотный круг экскаватора чертеж.Пву-04-02 поворотно-вытяжное устройство. совплим вытяжка для сварки чертеж. совплим вытяжка для сварки схема. вытяжка совплим чертеж.Делительные и поворотные устройства. виды поворотных и делительных устройств. перечислите виды делительных и поворотных устройств. применение делительных и поворотных устройств.Поворотные устройства конструкции поворотных устройствПоворотный механизм антенны для orbitron. чертеж опорно поворотного устройства антенны. опорно поворотное устройство ptr-404hm. зубчатый угломестный привод антенны.Поворотные устройства конструкции поворотных устройствОпорно-поворотное устройство (опу 656 мм.). опорно поворотный подшипник чертеж. опу опорно поворотное устройство. поворотное устройство чертеж.Устройство роликовое поворотное. поворотное устройство ручного перемещения. пневматическое поворотное устройство. поворотное устройство-5500.Поворотные устройства конструкции поворотных устройствОпорно поворотный механизм. поворотное устройство крана. опорно поворотные механизмы кранов.Поворотные устройства конструкции поворотных устройствОпорно-поворотное устройство (опу 656 мм.). опорно-поворотное устройство ап17. шариковое опорно поворотное устройство состоит. опорно-поворотное устройство портального крана.Поворотные устройства конструкции поворотных устройствНаклонно поворотное устройство агс. поворотное устройство ezcad. арс поворотный механизм. поворотное устройство sw 90 20-20.Поворотные устройства конструкции поворотных устройствОпорно поворотные механизмы кранов. опорно поворотный подшипник чертеж. опорно поворотное устройство принцип работы. устройство опорно поворотного механизма экскаватора.Шариковое опорно поворотное устройство состоит. опорно поворотный круг экскаватора с размерами. конструкция опорно поворотного устройства. опорно-поворотное устройство схема.Поворотные устройства конструкции поворотных устройствПоворотные устройства конструкции поворотных устройствКрепления плоских конструкции. устройство крепления падов. устройство для крепления, содержащее. устройство закрепления уз-.Поворотные устройства конструкции поворотных устройств