Удиви меня
Последовательность прокачки тормозов ваз
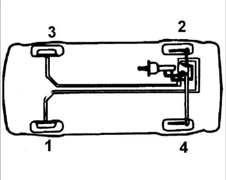
Порядок прокачки тормозов ваз 2109. прокачка тормозов ваз 2109 последовательность. очередность прокачки тормозов ваз 2109. порядок прокачки тормозов ваз 2114.
Последовательность прокачки тормозов ваз калина. очередность прокачки тормозов ваз 2109. последовательность прокачки тормозов ваз 2114 порядок. порядок прокачки тормозов ваз 2114 порядок.
Очередность прокачки тормозов ваз 2107. схема прокачки тормозов ваз 2110. порядок прокачки тормозов ваз 2114 схема. порядок прокачки тормозов ваз 2110 схема.
Порядок прокачки тормозов ваз 2114. схема прокачки тормозов ваз 2114. порядок прокачки тормозов ваз 2114 схема. прокачка тормозов ваз 2114.
Последовательность прокачки тормозов ваз 2114 порядок. порядок прокачки тормозов ваз 2106 схема. система прокачки тормозов ваз 2106. прокачка тормозов ваз 2106 последовательность схема.
Порядок прокачивания тормозов ваз 2109. схема прокачивания тормозов ваз 2109. порядок прокачки тормозов ваз 2109 карбюратор. схема прокачки тормозов 2109.
Схема прокачки тормозов ваз 2110. 2110 порядок прокачки тормозов схема. схема прокачки тормозов 2106. схема прокачки тормозов ваз 2105.
Порядок прокачки тормозов ваз 2115 схема. порядок прокачки тормозов 2114. порядок прокачки тормозов ваз 2114 порядок. порядок прокачки тормозов ваз калина 1.
Схема прокачки тормозов ваз 2110. прокачка тормозной системы ваз 2110 схема. прокачать тормоза на ваз 2110 схема. прокачка тормозов ваз 2110 порядок прокачки.
Как прокачать тормоза на ваз 2107 схема. схема прокачки тормозов ваз 2107. в каком порядке прокачивать тормоза на ваз 2107. схема прокачки тормозов ваз 2107 порядок.
Схема прокачки тормозов ваз 2107. порядок прокачки тормозов 2106. схема прокачки тормозов 2107. схема прокачки тормозов ваз 2107 инжектор.
Последовательность прокачки тормозов ваз
2110 порядок прокачки тормозов схема. порядок прокачки тормозов ваз 2114 схема. схема прокачки тормозов 2112. схема прокачки тормозов 2109.
Очередность прокачки тормозов ваз 2115. схема прокачки тормозной системы ваз 2115. схема прокачки тормозов ваз 2115. схема прокачивания тормозов ваз 2115.
Схема прокачки тормозов лада 2110. порядок прокачки тормозов ваз 2110 схема. прокачка тормозной системы ваз 2110 последовательность. схема прокачки тормозов ваз 2110.
Порядок прокачки тормозов ваз 2114 порядок. порядок прокачки тормозов ваз 2114 схема. порядок прокачки тормозов ваз 2115 схема. порядок прокачки тормозов ваз 2110 схема.
Схема прокачки тормозов ваз 2114. как прокачать тормоза на ваз 2107 схема. порядок прокачки тормозов ваз нива. схема прокачки тормозной системы ваз 2114.
Порядок прокачки тормозов ваз 2110. схема прокачки тормозов ваз 2110. схема прокачки тормозов ваз 2112. порядок прокачки тормозной системы ваз 2110.
Схема прокачки тормозов ваз 2110. схема прокачки тормозов ваз 2101. схема прокачки тормозов 2114. схема прокачки тормозов лада 2110.
Схема прокачки тормозов ваз 2107. тормозная система ваз 2111. прокачка тормозов ваз 2107. тормозная система ваз2146.
Схема прокачивания тормозов на киа спортейдж 1. порядок прокачки тормозов ваз 2114 схема. схема прокачки тормозов лада приора. схема порядок прокачки тормоза приора с абс.
Схема прокачки тормозов на калине 1. схема прокачки тормозов лада калина. схема прокачки тормозов калина 2. порядок прокачки тормозов ваз 2110 схема.
Схема прокачки тормозов лада приора. порядок прокачки тормозов ваз 2110 схема. порядок прокачки тормозов ваз калина 1. схема прокачки тормозов логан 1 с абс.
Прокачка тормозов ваз 2107 последовательность инжектор. схема прокачки тормозов 2107. схема прокачки тормозов ваз 2107. порядок прокачки тормозов ваз 2107 инжектор.
Порядок прокачки тормозов ваз 2110 схема. схема прокачки тормозов ваз калина. порядок прокачки тормозов ваз приора. порядок прокачки тормозов ваз 2114 порядок.
Порядок прокачки тормозной системы ваз 2110. схема прокачки тормозов 2110. схема прокачки тормозов фольксваген поло. порядок прокачки тормозов ваз 2110 схема.
Схема прокачки тормозов ваз 2121 нива. схема прокачки тормозов нива 21213. схема прокачки тормозов на ваз 21213. схема прокачки тормозов ваз 21213 последовательность.
Схема прокачки тормозов ваз 2110. схема прокачки тормозов 2107. прокачка тормозной системы ваз нива 21214. схема прокачки тормозов ваз нива.
2110 порядок прокачки тормозов схема. порядок прокачки тормозов ваз 2110 схема. схема прокачки тормозов ваз 21 12. схема прокачки тормозов ваз 2110.
Прокачка тормозной системы ваз 2107 порядок. порядок прокачки тормозов ваз 2107 инжектор. очередность прокачки тормозов ваз 2107. поочередность прокачки тормозов ваз 2107.
Ваз 2109 прокачка тормозной. порядок прокачки тормозов ваз 2109. очередность прокачки тормозов ваз 2109. прокачка тормозов ваз 2109 последовательность.
Схема прокачки тормозов ваз 21 10. прокачать тормоза на ваз 2110 схема. схема прокачки тормозов ваз 2110. порядок прокачивания тормозов ваз 2110.
Схема прокачки тормозов ниссан альмера н16. схема прокачки тормозов ниссан альмера классик. система прокачки тормозов с абс схема. схема прокачка тормозной системы ваз.
Схема прокачки тормозов hyundai elantra j3. схема прокачки тормозов hyundai elantra 1999 года. схема прокачки тормозов ваз. порядок прокачки тормозов хендай элантра.
Порядок прокачки тормозов ваз 2107 инжектор схема. порядок прокачки тормозов калина 1. схема прокачки тормозов сурф 130.
Последовательность прокачки тормозов ваз
Схема проеачки тормозов калдина. порядок прокачки тормозов лада калина 1. схема прокачки тормозов лада калина. схема прокачки тормозов лада гранта.
Прокачка тормозной системы ваз 2110 схема. схема прокачки тормозов ваз 2110. система прокачки тормозов ваз 2110. порядок прокачивания тормозов ваз 2110.
Штуцер тормозной жидкости на ваз 2114. штуцер прокачки тормозов ваз 2106. клапан прокачки тормозов ваз 2107. система тормозной жидкости на ваз 2115.
Прокачка тормозов ваз 2106. порядок прокачки тормозной системы ваз 2106. прокачка тормозов ваз 2107. тормозная система ваз 2105.
Схема прокачки тормозов нива 2131. порядок прокачки тормозов ваз 2110. схема прокачки тормозов ваз 2110. схема прокачки тормозной системы митсубиси лансер 9.
Штуцер тормозной жидкости на ваз 2114. порядок прокачки тормозов ваз 2114. шланг для прокачки тормозов ваз 2114. прокачать тормоза ваз 2114.
Система прокачки тормозов ваз 2114. штуцер тормозной жидкости на ваз 2114. штуцер тормозной прокачки ваз 2114. прокачка тормозов ваз 2114.
Тормозная система лада калина. тормозная система ваз 2170 приора с абс. тормозная система лады приоры с abs. тормозная система лада приора универсал с абс.
Последовательность прокачки тормозов ваз
Схема прокачки тормозов нива 21213 карбюратор. схема прокачки тормозов нива 2121 карбюратор. схема прокачки тормозов нива 2131. схема прокачки тормозов нива 2121.
Схема прокачки тормозов 2109. схема прокачивания тормозов ваз 2101. схема прокачки тормозов ваз 2101. порядок прокачки тормозов ваз 2101.
Последовательность прокачки тормозов ваз
Схема прокачки тормозной системы ваз 2106. прокачка тормозов москвич 2140. прокачка тормозов ваз 2114. порядок прокачки тормозов ваз 2109.
Порядок прокачки тормозов газель схема. схема прокачки тормозов ваз 2107. схема прокачки тормозов ваз 2112. порядок прокачки тормозов уаз буханка.
Мицубиси л 200 схема тормозных трубок. прокачка тормозной системы митсубиси л200. схема прокачки тормозов mitsubishi l 200. прокачка тормозов митсубиси л200 с абс.
Система прокачки тормозов ваз 2110. прокачка тормозной системы ваз 2110 последовательность. прокачка тормозов ваз 2111 порядок. клапан прокачки тормозов ваз 2112.
Прокачка задних тормозов ваз 2106. система прокачки тормозов ваз 2110. порядок прокачки тормозов ваз 2106. прокачка тормозов ваз 2110.
Схема прокачки тормозов. прокачка тормозов нива шевроле порядок схема. схема прокачки тормозов на ваз 21213. схема прокачки тормозов лачетти.
Система прокачки тормозов ваз 2106. тормозная система ваз 2106. тормозная система автомобиля ваз-2106. тормозная система ваз к заднему мосту 2106.
Последовательность прокачки тормозов ваз
Порядок прокачки тормозной системы ваз 2110. последовательность прокачки тормозов 2110. последовательность прокачки тормозов ваз 2110. очередность прокачки тормозов ваз 2110.
Порядок прокачки тормозов ваз 2107. прокачка задних тормозов ваз 2107. прокачка тормозов ваз 2107. порядок прокачки тормозов классика ваз 2107.
Порядок прокачки тормозной системы дэу матиз. тормозная жидкость дэу матиз. порядок прокачки тормозов ваз 2108. штуцер прокачки тормозов нива шевроле.
Схема прокачки тормозной системы нива шевроле. схема прокачки тормозов на chevrolet lacetti. схема прокачки тормозов лачетти. схема прокачки тормозов шевроле лачетти с абс.
Прокачка тормозов на ваз 2115 правильно. прокачка тормозов ваз 2115. прокачка тормозов ваз ваз 2115. прокачать тормоза ваз 2114.
Схема прокачки тормозов нива 2121. схема прокачки тормозов ваз 2121 нива. порядок прокачки тормозов нива 2121. схема прокачки тормозов на ваз 21213.
Гидравлические тормозные системы автомобиля ваз 2114. система тормозной системы ваз 2112. тормозной распределитель ваз 2110 схема. главный тормозной цилиндр 2109 схема подключения трубок.
Схема прокачки тормозов ваз 2114. схема прокачки тормозов ваз 21 14. схема прокачки тормозов mitsubishi canter. схема прокачки тормозов тойота.
Система прокачки тормозов уаз буханка. гидравлический привод тормозов ваз 2107. схема прокачки тормозов ваз 2107. схема прокачки тормозов уаз 3303.
Схема прокачки тормозов toyota corolla 2008. схема прокачки тормозной системы на автомобиле. схема прокачки тормозов тойота. схема прокачки тормозов тойота королла.
Тормозная жидкость ваз 2105. прокачать тормоза на ваз 2106. штуцер прокачки тормозов ваз 2106. тормозная жидкость для ваз 2110.
Прокачка тормозов ваз 2107. система тормозной системы ваз 2107. суппорт ваз 2110 прокачка тормозов. система прокачки тормозов ваз 2110.
Схема прокачки тормозов тойота королла е150. порядок прокачки тормозов на тойота королла 150. схема прокачки тормозов toyota corolla 2008. схема прокачки тормозов тойота королла 120 кузов.
Схема прокачки тормозов митсубиси каризма. прокачка тормозов mitsubishi lancer 10 схема. порядок прокачки тормозов на тойота карина. схема прокачки тормозной системы.
Тормозная жидкость ваз 2114. штуцер тормозной ваз 2114. система прокачки тормозов ваз 2114. штуцер тормозной системы ваз 2107.
Порядок прокачки тормозов ваз 2110 схема. порядок прокачки тормозов 2112. схема прокачки тормозов тойота. прокачка тормозной системы ваз 2110 последовательность.
Очередность прокачки тормозов ваз 2107. порядок прокачки тормозов 2107. allex 2002 алгоритм прокачки тормозов.
Тормозная система ваз 2105. схема прокачки тормозной системы ваз 2106. схема прокачки тормозов ваз 2104. схема прокачки тормозов ваз 2107 порядок.
Схема прокачки тормозов на приоре. схема прокачки тормозов калина 2 с абс. порядок прокачки тормозной системы priora. схема прокачки тормозов калина 1118.
Порядок прокачки тормозов хендай акцент. последовательность прокачки тормозов hyundai accent. схема правильной прокачки тормозов hyundai accent. схема прокачки тормозов акцент тагаз.
Тормозная система ваз 2121. тормозная система ваз 2121 нива. тормозная система 2121 схема. схема тормозной системы нива 2121.
Последовательность прокачки тормозов ваз 2114 порядок. прокачка тормозов ваз 2110 порядок последовательность. последовательность прокачки тормозов ваз 2115. схема прокачивания тормозов ваз 2115.
Тормозная система pajero 2. схема прокачки тормозов митсубиси л200. митсубиси паджеро схема тормозной системы. прокачка тормозной системы митсубиси паджеро спорт 2.
Прокачка тормозов ваз 2107. очередность прокачки тормозов ваз 2114. система прокачки тормозов ваз 2109. тормозная система нива 21213.
Тормозная система ваз 1111 ока схема. тормозная система ока 11113. схема тормозов ока 11113. тормозная система ваз 11113 ока схема.
Прокачка тормозной системы ваз 2110 схема. система тормозов ваз 2110 схема. тормозная система автомобиля ваз 2110 схема. система торможения ваз 2110 схема.
Порядок прокачки тормозов ваз 2107. прокачка тормозов ваз 2107. прокачка тормозной системы ваз 2107 порядок. тормозная система на ваз 2107 передние колеса.
Порядок прокачки тормозов ваз 2114. штуцер тормозной системы ваз 2107. штуцер прокачки тормозов 2110. система прокачки тормозной системы ваз 2114.
Порядок прокачки тормозов ваз 2114 схема. схема прокачки тормозов киа спортейдж 3. схема прокачки тормозов киа церато 2. схема прокачки тормозов на kia sportage 3 2013 года ?.
Схема прокачки тормозов митсубиси л200. схема прокачки тормозов акцент тагаз. схема прокачки тормозов хендай акцент. порядок прокачки тормозов на хендай акцент тагаз.
Тормозная система ваз 2190 с абс. тормозная система ваз 2170 с абс. схема тормозной системы калина 1 с абс. тормозная система приора 2 без абс.