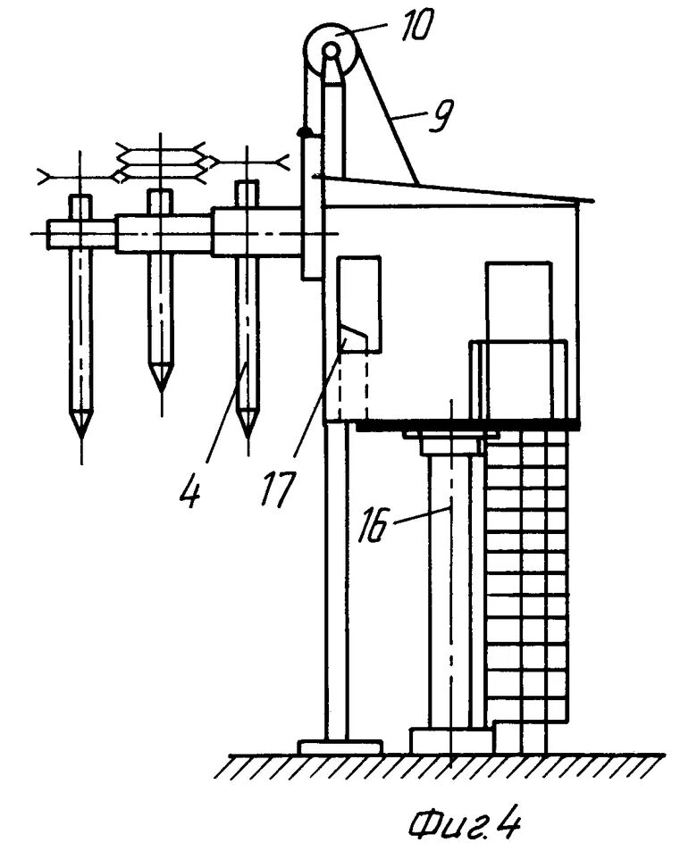
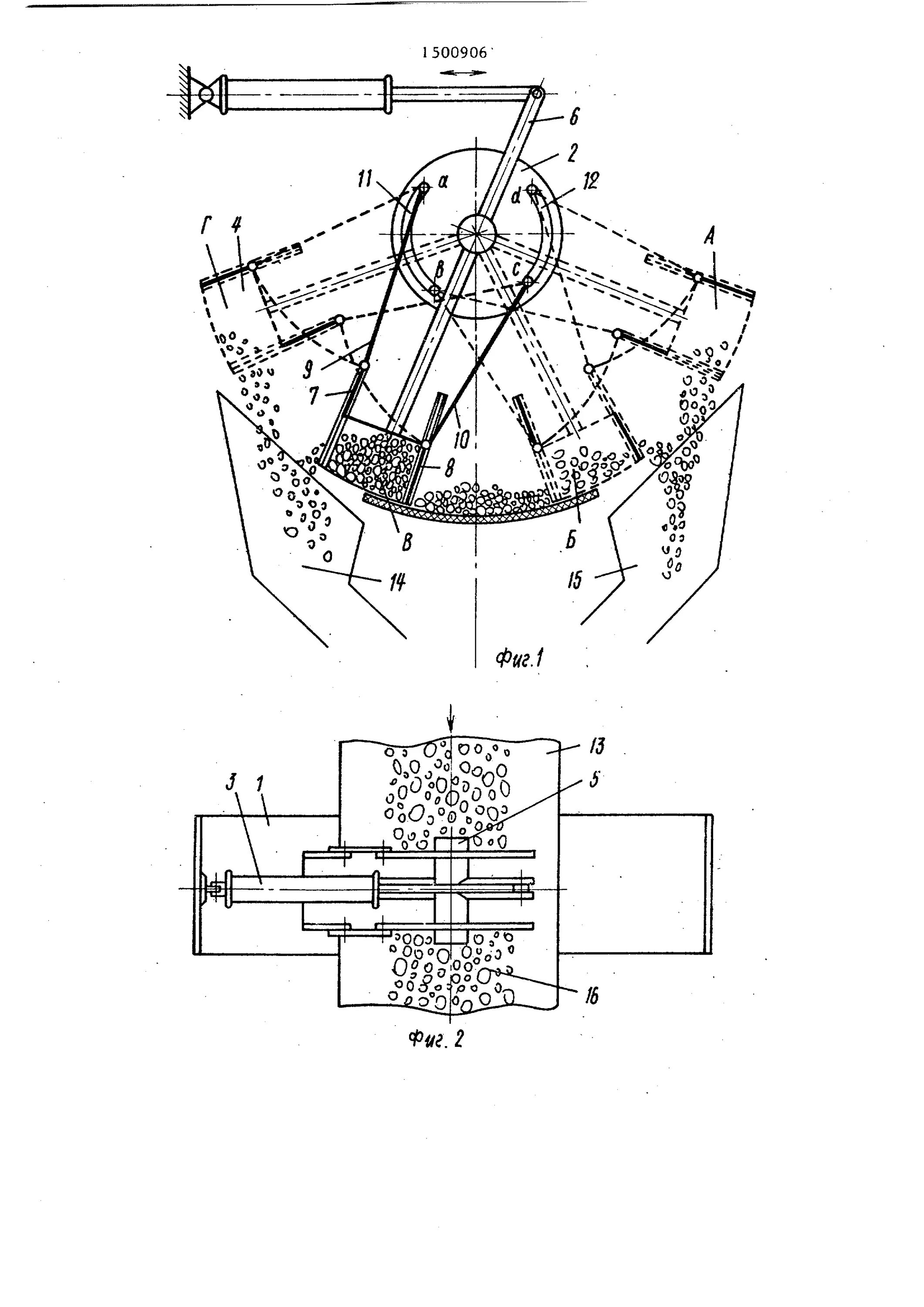
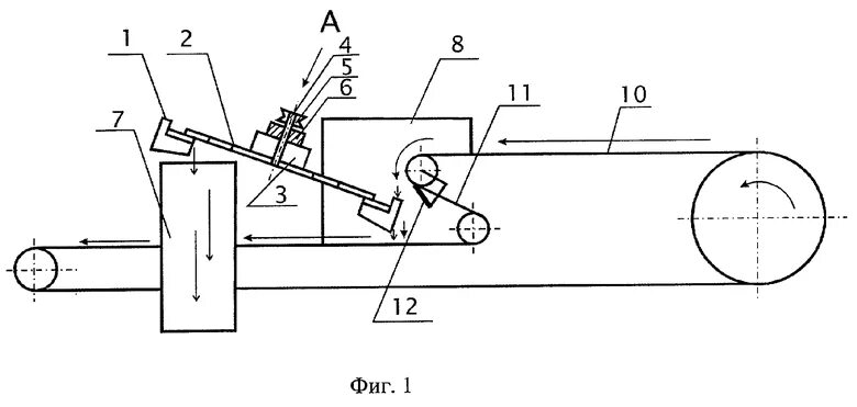
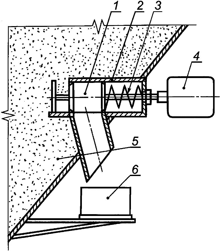
Щуп мешочный щм (длина 310 мм, диаметр 13 мм). пробоотборники для сыпучих материалов burkle. пробоотборник щуп мешочный. щуп пробоотборник зерновой.Пробоотборники для сыпучих материалов burkle. пробоотборник для отбора проб. ппсм 01 пробоотборник для сыпучих материалов. пробоотборник для афс.Ппсм 01 пробоотборник для сыпучих материалов. пробоотборники для сыпучих материалов burkle. пробоотборник для сухих веществ. пробоотборник для сухого молока.Пробоотборники для сыпучих материалов burkle. зональный пробоотборник для сыпучих материалов. щуп для отбора проб зерна. щуп мешочный.Пробоотборники для сыпучих материалов burkle. пробоотборник телескоп 6.1000 burkle. пробоотборник burkle unisampler. пробоотборник тубус.Пробоотборник ппсм для сыпучих материалов. пробоотборник телескоп 6.1000 burkle. пробоотборник для сухих смесей. щуп пробоотборник.Пробоотборники для сыпучих материалов burkle. пробоотборник щуп мешочный. щуп для отбора проб молока. щуп пробоотборник зерновой.Щуп мешочный щм (длина 310 мм, диаметр 13 мм). пробоотборник burkle. щуп пробоотборник зерновой. пробоотборник щуп мешочный.Способы отбора проб сыпучих материалов. отбор сыпучих проб. пневматическая проба. делитель пробы при анализе сыпучих материалов.Пробоотборник бюркле. пробоотборник burkle. пробоотборники для сыпучих материалов burkle. пробоотборник щуп мешочный.Пробоотборники для сыпучих материалов burkle. пробоотборник щуп мешочный. пробоотборник для сухих веществ.Пробоотборник бюркле. пробоотборники для сыпучих материалов burkle. зональный пробоотборник для сыпучих материалов. пробоотборник цемента e020.Отбор проб сыпучих материалов.Схема отбора точечных проб зерна из насыпи. схема отбора точечных проб семян. площадка для отбора проб зерна с автомобиля.Ппсм 01 пробоотборник для сыпучих материалов. пробоотборник телескоп 6.1000 burkle. щуп пробоотборник. бур пробоотборник для силоса.Отбор проб сыпучих материалов. пробоотборник для сыпучих материалов. отборник проб сыпучих веществ это в химии.Щуп для отбора проб сыпучих продуктов. вагонный щуп для отбора проб зерна. конусный щуп для отбора проб жмыха.Пробоотборник щуп из полипропилена. щуп для отбора зерна. щуп для отбора проб зерна.Пробоотборник щуп мешочный. мешки для отбора проб. щуп для отбора проб из мешка. пробоотборник для сыпучих.Устройство для отбора проб сыпучих материалов с ленты конвейера. маятниковый пробоотборник с ленточного конвейера. пробоотборник для угля маятниковый. рама для отбора проб с ленточных конвейеров.Пробоотборник шнековый пшн-185. автоматический пробоотборник зерна cobra. пробоотборник cobra 4000. пробоотборник пг-200.Отбор проб сыпучих материалов. метод отбора проб сыпучих материалов. способы отбора проб сыпучих материалов. отбор проб сыпучих материалов презентация.Зональный пробоотборник для сыпучих материалов. щуп пробоотборник зерновой. пробоотборник силоса бп -1. щуп мешочный щм.Гост отбор проб сыпучих материалов пробоотборник. схемы оборудования для отбора сыпучих материалов. люк для отбора проб сыпучих материалов. оборудование для усреднения пробы.Устройство для отбора проб сыпучих материалов с ленты конвейера. отбор проб с поверхности остановленного конвейера. специальная рама для отбора проб с конвейера. ленточный конвейер характеристики.Пробоотборник пневматический у1-упп. автоматический пробоотборник зерна у1-упп. автоматический пробоотборник для сыпучих материалов. шнековый пробоотборник для зерна.Метод отбора проб сыпучих материалов. ручной насос для отбора проб. люк для отбора проб сыпучих материалов. устройство для отбора шлама.Пробоотборник для зерна многоуровневый пзм-3-5-2м (аналог щупа рп-140) (шт). пробоотборник пзм-1. пробоотборник для зерна многоуровневый пзм-3-5-2м. щуп пробоотборник зерновой.Ппсм 01 пробоотборник для сыпучих материалов. пробоотборник для фляг (1-660 мм). пробоотборник для сыпучих материалов псм-ус-270. пробоотборник для нефтепродуктов пэ-1620д донный.Автоматический пробоотборник для сыпучих материалов. маятниковый пробоотборник с ленточного конвейера. механический пробоотборник для сыпучих материалов. изокинетический пробоотборник чертеж.Маятниковый пробоотборник с ленточного конвейера. пробоотбиратель маятниковый. пробоотборник типа пмм на ленточном конвейере. пробоотборник с конвейерной ленты.Отбор сыпучих материаловОтбор сыпучих материаловПпсм 01 пробоотборник для сыпучих материалов. изокинетический пробоотборник схема. кольцо-пробоотборник для грунта чертеж. пробоотборник для нефтепродуктов схема.Отбор проб сыпучих материалов. отбор проб жидкостей и полужидких материалов. приспособления для отбора проб. устройство для отбора шлама.Люк для отбора проб сыпучих материалов. щуп для отбора проб сыпучих веществ. установки для отбора проб сыпучих.Автоматический пробоотборник для сыпучих материалов. ппсм 01 пробоотборник для сыпучих материалов. автоматические пробоотборники пульп. автоматический пробоотборник зерна cobra.Отбор проб сыпучих материалов.Автоматический пробоотборник для сыпучих материалов. автоматический пробоотборник флотация. пробоотборник для сыпучих материалов чертеж. пробоотборник для пастообразных продуктов.Установки для отбора проб сыпучих.