Удиви меня
Окоф котел отопительный
Окоф котел отопительный
Окоф котел отопительный
Схема подключения тэна водонагревателя с терморегулятором. электрокотел протерм схема.
Окоф котел отопительный
Окоф котел отопительный
Коды окоф. код основного средства по окоф. амортизационной группы основного средства. код основного средства по окоф 2025.
Код по окоф. акустическая система окоф. навигационное оборудование окоф. комплект компьютерной техники окоф.
Окоф котел отопительный
Молниеотвод окоф. что такое окоф в бухгалтерии. моноблок окоф. калькулятор окоф.
Окоф основных средств. окоф 1. настройка панели навигации 1с. комплект компьютерной техники окоф.
Окоф котел отопительный
Ксг-12.5 технические характеристики газовый котёл. газовый котел rugas 40. газовый котел rugas 25. газовый котел rugas 20.
Светильник уличный окоф 2025. окоф ок 013-2014 снс 2008. общероссийский классификатор основных фондов (окоф), «ок 013-2014 (снс 2008).. окоф в инвентарной карточке в 2025.
Окоф. общероссийский классификатор основных фондов.
Окоф котел отопительный
Окоф 2025. источник бесперебойного питания окоф. общероссийский классификатор основных фондов 2025. источник бесперебойного питания окоф 2025.
Окоф котел отопительный
Общероссийский классификатор основных фондов (окоф), «ок 013-2014 (снс 2008).. назначение объекта по ок 013-2014. ок 013‐2014 окоф чайник электрический. код окоф маршрутизатор.
Системный блок окоф 2025. окоф 114.52.90.10. код окоф. общероссийский классификатор основных фондов.
Общероссийский классификатор основных фондов. классификатор окоф. ок 013-2014. шпаргалка по кодам окоф.
Код по окоф. окоф основных средств. таблица соответствия окоф сравнение старых и новых кодов. старые и новые коды окоф сравнительная таблица.
Окоф основных средств. оквэд таблица. коды окоф. код по классификатору основных средств.
Системный блок окоф 2025. окоф основных средств. код по классификатору. код по классификатору основных средств.
Пароводяной котел 300л чертежи. пароводяной котел 75л чертежи. пароводяной котел (пвк) чертежи. чертежи пвк 200 литров.
Окоф котел отопительный
Коды основных средств. справочник «основные средства организации». внешний вид стандартного справочника. окоф стиральная машина.
Настенный газовый котел ariston cares x 24 cf ng. двухконтурный газовый котел аристон cares x 24. котел атмосферный аристон 24 квт. газовый котел ariston cares x 24 ff ng 25.8 квт двухконтурный.
Комбинированный котел sirius кстг-20 с ггу одноконтурный. кстг 12,5 "мимакс". газовый котел кс-тгв-12.5. котёл сириус ксг-12.5.
Твердотопливный котел мимакс титан. твердотопливный котел дон 16 квт паспорт. котел твердотопливный мимакс титан кст 12. твердотопливный котел мимакс кс-т-16.
Код по окоф. холодильная машина окоф. окоф 2025. окоф групп.
Общероссийского классификатора основных фондов ок 013-2014 (снс 2008). шкаф для документов окоф 2025. классификатор ос ок 0132014 снс 2008. код по окоф.
Котел твердотопливный zeus 9 квт. котел отопительный твердотопливный 350 квт. котел твердотопливный куппер про 16 характеристики. газовая горелка для котла отопления куппер про 16 киловатт.
Дизельный котел kiturami turbo hi fin 17. газовый котел юнкер ксг 16 одноконтурный чертеж. напольный газовый котел луч ксг-12 схема.
Обвязка твердотопливного котла отопления схема. схема обвязки котла теплодар. схема котельной с 3х ходовым клапаном. обвязка пиролизного котла отопления схема подключения.
Котел газовый ков 20ст 1пс сигнал. напольный газовый котел сигнал ков-10 ст1пс. газовый котел сигнал 12.5 ков. сигнал ков-16 стпв1пс.
Котел для двигателя. котел мотор сич. котел отопительный водогрейный чугунный типа titan z 50e. котел мотор сич 32.
Окоф. код по классификатору основных средств. общероссийский классификатор основных фондов. группа оборудования по классификатору.
Траян т-15-1кт котел. котёл траян 15 квт твердотопливный. котел троян 15. пиролизный котел траян т-15.
Котел напольный с водонагревателем "житомир-10" кс-г-012 сн + дымоход (1/1). котёл житомир3 с водогрейкой напольный диаметр трубы. котёл газовый напольный ксг 10 чертеж. котел житомир-10 с газовой колонкой газовый напольный габариты.
Твердотопливный котел диво 16 квт кпд. котел газ дрова схема. котел фбрж твердотопливный 12 квт. схема работы твердотопливного котла.
Котел дымок 20 квт характеристики. твердотопливный котел дон 16 квт паспорт. котел твердотопливный zota дымок-25м аотв. котёл зота дымок 9 квт характеристики.
Твердотопливный котел 15 квт чертеж. чертёж твердотопливного котла 80 квт. котел твердотопливный мощностью 150 квт для отопления чертежи. чертеж газового котла отопления.
Котел кстг-16 паспорт газовый котел. газовый котел кс тгв 31.5 паспорт. котел отопительный водогрейный стальной кс-тг-10. котел кстг 10-1 данные котла.
Котел дон кст 16 чертеж. схема котла очаг кстг 16. схема газового котла дон 16. котел дон 16 схема.
Окоф котел отопительный
Котел вскз габариты. котёл вскз 24 квт. котел вскз люкс 30 квт. котел вскз полуавтомат 50 квт.
Окоф котел отопительный
Старые коды окоф таблица. таблица код окоф. соотношение старого и нового окоф. старые и новые коды окоф сравнительная таблица.
Котел элегант кентатсу 03. твердотопливный котел kentatsu max-10 75 квт одноконтурный. твердотопливный котел kentatsu elegant-04 27 квт одноконтурный. твердотопливный котел kentatsu vulkan pr-70 81 квт одноконтурный.
Общероссийский классификатор основных фондов. действующий окоф. общероссийского классификатора основных фондов ок 013-2014 (снс 2008). ок 013-2014.
Газовый котел юнкер ксг-10. котел юнкер ксг-31,5. газовый котел юнкер ксг-12 5. газовый котел юнкер ксг-16.
Окоф стенд для плиты регулируемый. громкоговоритель рупорный код окоф. вакуумный стол окоф. кислородный генератор амортизационная группа.
Напольный газовый котел данко 12 квт. газовый котел данко напольный одноконтурный. теплообменник газового котла данко 15. теплообменник газового котла данко.
Газовый котел котел луч ксг-12. котел газовый луч ксг-20. котел газовый луч ксг-10. котел "луч" ксг-20.
Окоф компьютер. амортизационная группа системного блока. системный блок окоф. срок полезного использования монитора.
Газовый котел прометей. газовая горелка на котел прометей. газовый котёл прометей напольный. котел отопительный прометей 25.
Лемакс котел газовый напольный 40 квт расход газа. котел газовый лемакс 40 квт расход газа. котел газовый лемакс 100 квт расход газа. котел газовый лемакс премиум 30 расход.
Котел rs-a40. газовый котел rs60. котел rossen 60. россен котлы 40квт.
Котел водогрейный отопительный армада 20 схема. водогрейный котел кову 100. котлоагрегат отопительный водогрейный geffen mb 3.1-156. водогрейный котёл из 530 трубы.
Твердотопливный котел термокрафт r2 9 9 квт одноконтурный. твердотопливный котел термокрафт r2 12. твердотопливный котел термокрафт r2 15. котел отопительный r2 15 квт.
Газовый котёл конорд кгцг-12н. котел конорд ксц-г-12н. котел конорд ксг 12 н. котел ксц - гв - 12н(120 кв.м, конорд).
Общероссийский классификатор основных фондов 1с. окоф 1. позиции окоф. электрошкаф окоф.
Котел зота оптима 15. котел зота оптима 25. котел зота оптима 32 квт. котел зота оптима 20.
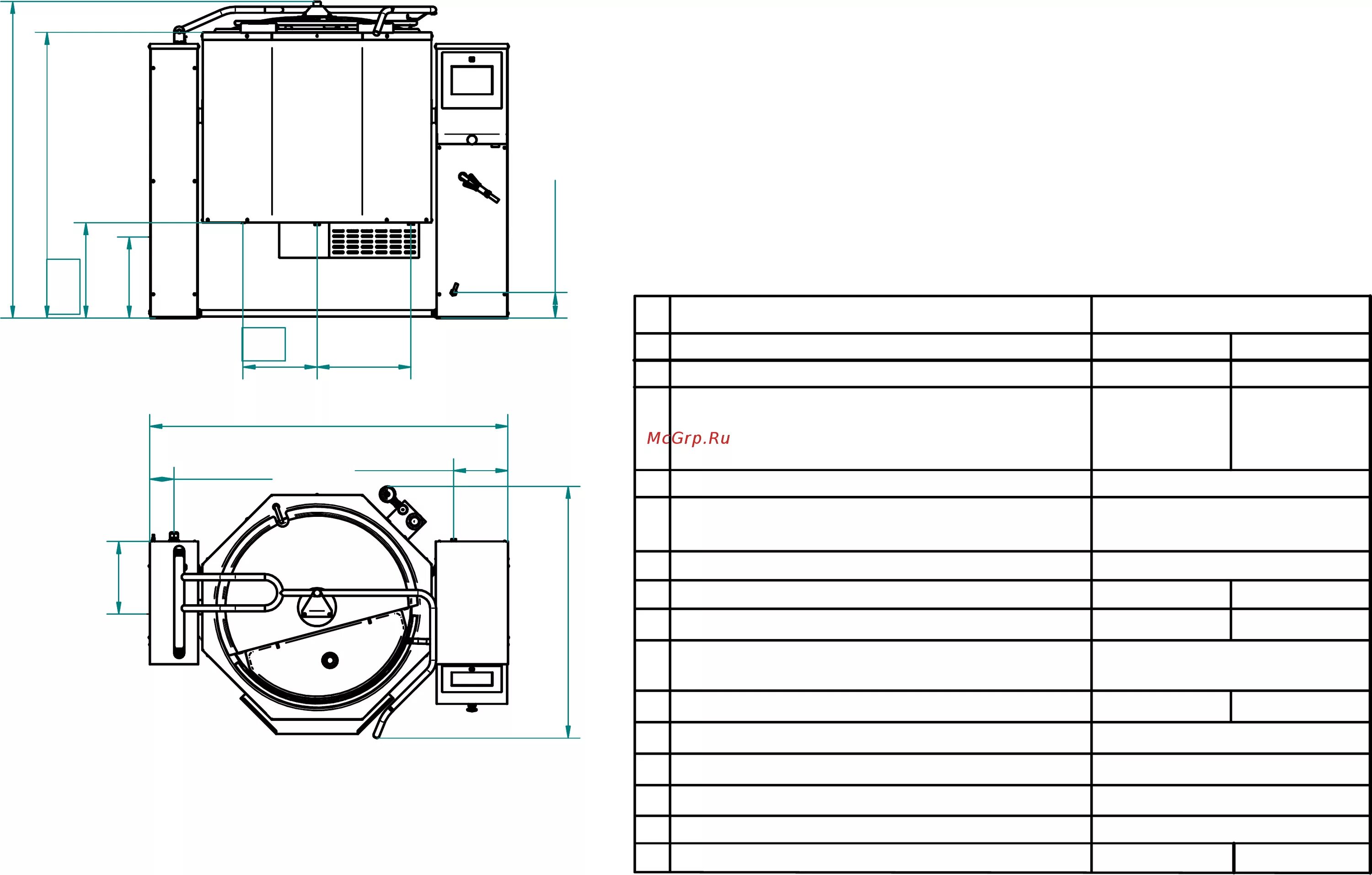
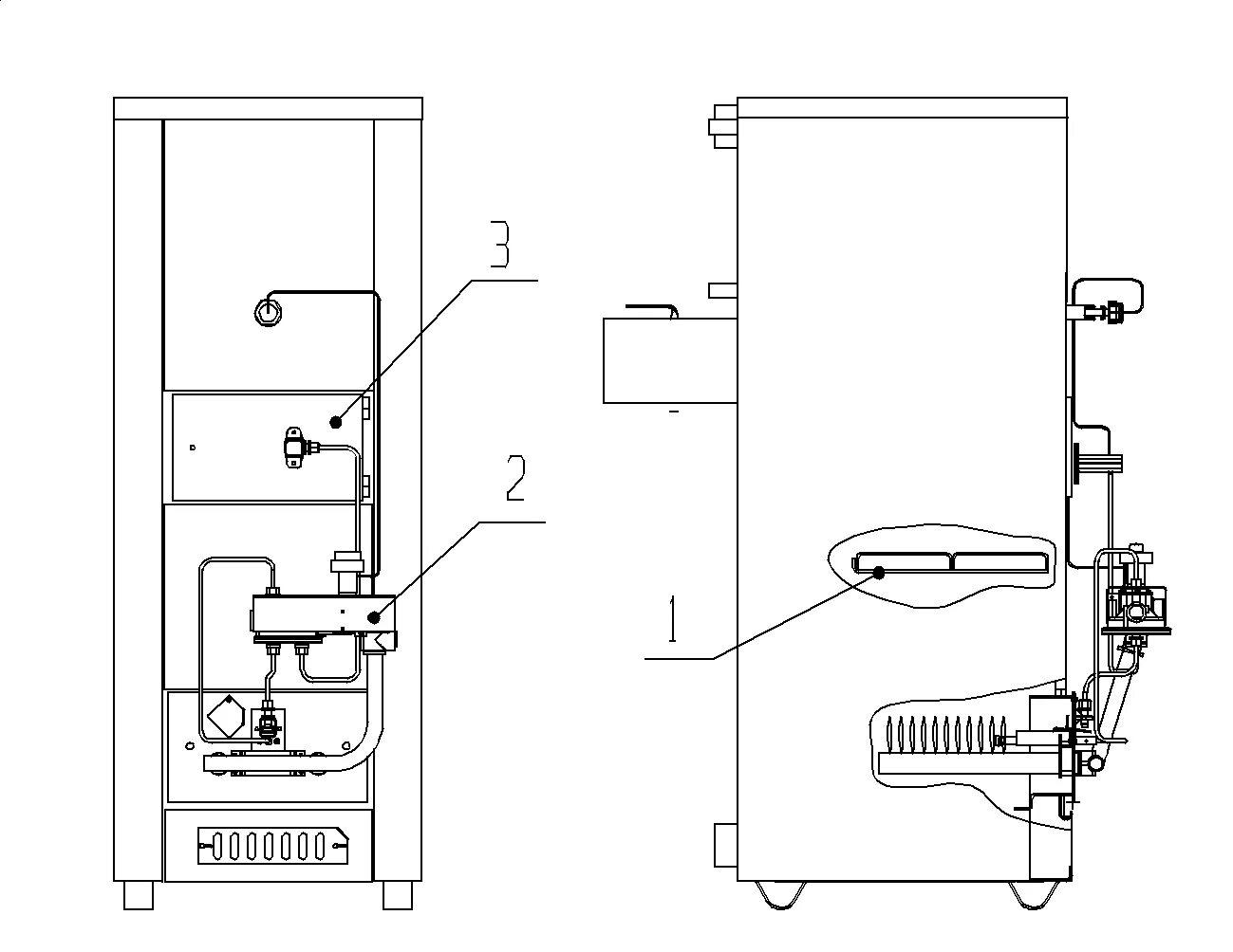
Котел пищеварочный abat кпэм-250/9т. котел пищеварочный кпэм-250/9т схема. котёл пищеварочный кпэм-250 схема подключения. котел пищеварочный кпэ т250/9.
Код окоф. коды окоф транспортных средств. автомобиль окоф. код вида транспортного средства полуприцеп.
Котел отопительный твердотопливный с водяным контуром аотвк-1-12-3. твердотопливный котел мистер хит аотвк-1-18-6 18 квт одноконтурный. котёл твёрдотопливный с водяным контуром 25 квт ктп. печь дачная с водяным отоплением 6квт.
Окоф смеситель лабораторный лопес 1.1.
Окоф котел отопительный
Окоф котел отопительный
Нитратомер окоф. код по окоф. электромегафон окоф. машина по окоф.
Окоф котел отопительный
Код окоф. 1с групповое добавление ос. коды окоф с амортизационными группами. автомобиль окоф.
Амортизационные группы. окоф и аморт группа. код по окоф. амортизационная группа компьютер.
Код по окоф. фонарь окоф. стремянка код окоф. окоф для детских игрушек.
Очаг газовый котел кстг 16. твердотопливный котел очаг кстг 10 паспорт. котел кстг-16 паспорт газовый котел. очаг газовый котел кстг 16 горелка.