Удиви меня
Назначение конечной передачи
Конечная передача трактора дт-75. конечная передача. конечная передача автомобиля. устройство конечной передачи.
Схема бортовой дт 75. конечная передача трактора дт-75. схема конечной передачи дт75. бортовая дт 75 схема.
Конечная передача трактора т 40 схема. устройство конечной передачи. конечная передача. схема конечной передачи.
Схема конечной передачи дт 75 волгарь. конечная передача трактора. назначение конечной передачи трактора. типы конечных передач на тракторах.
Схема конечной передачи т 40. конечная передача трактора. устройство конечной передачи. передачи на тракторе.
Назначение конечной передачи
Назначение конечной передачи
Назначение конечной передачи
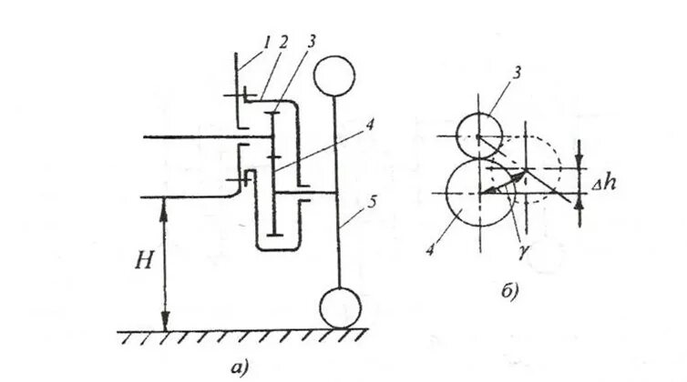
Кинематические схемы конечных передач тракторов:. кинематическая схема планетарной передачи. кинематическая схема планетарного редуктора. схема конечной передачи планетарного типа..
Назначение конечной передачи
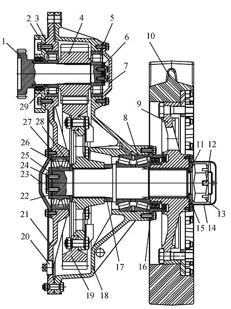
Передача конечная правая т4.39.002. конечная передача вт-100. устройство конечной передачи. схема разборки конечной передачи.
Назначение конечной передачи
Коробка передач на трактор дт55. конечная передача трактора. корпус конечной передачи дт-75. 24 передачи на тракторе.
Назначение конечной передачи
Конечная передача. устройство и работа конечной передачи. виды конечных передач. мосты с конечной передачей.
Назначение конечной передачи
Назначение конечной передачи
Конечная передача вт-100. передача конечная правая т4.39.002. корпуса конечной передачи правый. передача конечная левая.
Схема конечной передачи планетарного типа трактора.. конечные (колесные) передачи. приведите схему конечной передачи планетарного типа. передачи с конечными колесами.
Назначение конечной передачи
Назначение конечной передачи
Назначение конечной передачи
Конечные (колесные) передачи. типы конечных передач.
Назначение конечной передачи
Назначение конечной передачи
Назначение конечной передачи
Назначение конечной передачи
Назначение конечной передачи
Назначение конечной передачи
Главная передача дифференциальная коробка сателлит. устройство главной передачи и дифференциала. принцип работы дифференциала переднеприводного автомобиля. дифференциал автомобиля схема.
Назначение конечной передачи
Назначение конечной передачи
Назначение конечной передачи
Назначение конечной передачи
Назначение конечной передачи
Назначение конечной передачи
Назначение конечной передачи
Назначение конечной передачи
Назначение конечной передачи
Конечная передача трактора дт-75. корпус уплотнения в сборе 77.39.014 для передачи конечной трактора дт-75. 77.39.012. передача конечная правая дт-75 77.39.032 (рмз).