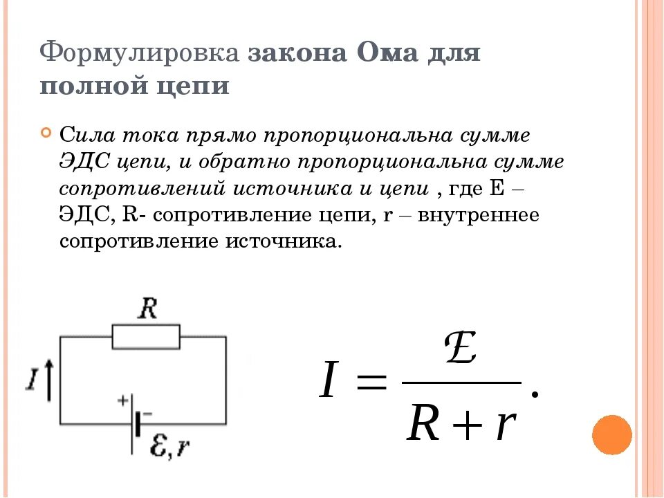
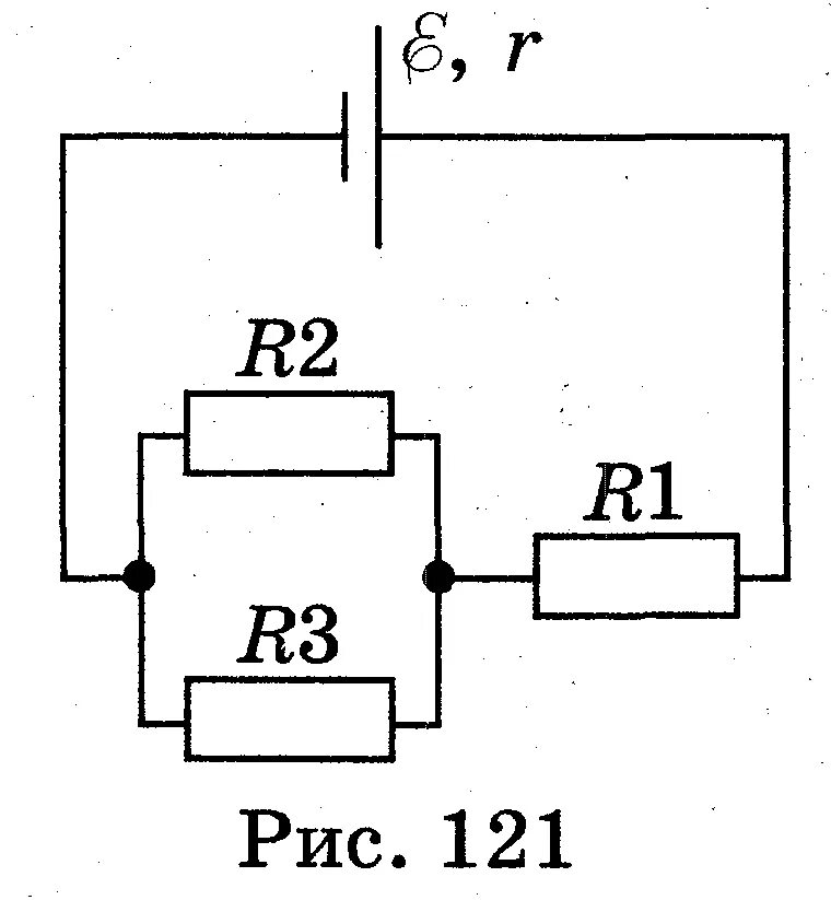
Напряжение на резисторе r1 эдс источникаНапряжение на резисторе r1 эдс источникаЭдс формула через сопротивление. формула напряжения через эдс и сопротивление. формула эдс из тока внутреннего сопротивления и сопротивления. формула внутреннего сопротивления через эдс.Определить силу тока в проводнике. определите напряжение тока в проводнике. найдите силу тока в проводнике. сила тока в резисторе сопротивление r1.Напряжение на резисторе r1 эдс источникаНапряжение на резисторе r1 эдс источникаНапряжение на резисторе r1 эдс источникаНапряжение источника эдс. как вычислить напряжение на резисторе в цепи. как найти силу тока i2 в цепи. как найти ток источника.Напряжение на резисторе r1 эдс источникаНапряжение на резисторе r1 эдс источникаНапряжение на резисторе r1 эдс источникаНапряжение на резисторе r1 эдс источникаНапряжение на резисторе r1 эдс источникаДве батареи аккумуляторов 1 10 в r1 1 ом 2 8 в r2 2 ом. две батареи аккумуляторов (1= 10 в, r1 = 1 oм; 2= 8 в,. две батареи аккумуляторов е1 10 в r1 1 ом е2, 8 r2 2. два источника тока e1=12 в, r1= 1 ом и e2=6 в, r2=2.Напряжение на резисторе r1 эдс источникаНапряжение на резисторе r1 эдс источникаНапряжение на резисторе r1 эдс источникаТок через резистор с сопротивлением 80 ом. внутреннее сопротивления источника тока r1=. внутреннее сопротивление эдс. напряжение на клеммах источника тока.Напряжение на резисторе r1 эдс источникаИсточник эдс с внутренним сопротивлением и сопротивлением. эдс и внутреннее сопротивление источника тока. источник эдс и источник тока. внутреннее сопротивление эдс.Мощность электрического тока выделяющаяся на резисторе r1. резистор r1,r2 схемы электрических цепей. мощность на резисторе r2. мощность, выделившуюся на сопротивлении.Сопротивление эдс r1=r2=r3=3ом. конденсатор емкостью 2 мкф. конденсаторы емкостью с1 и с2 и резисторы сопротивления которых r1 r2 r3. сопротивление резисторов r1 r2 r3 r4 2.Напряжение на резисторе r1 эдс источникаЭлектрические цепи постоянного тока резисторы формулы. как рассчитать напряжение в цепи. правило кирхгофа для контура. закон кирхгофа для колебательного контура.Напряжение на резисторе r1 эдс источникаНапряжение на резисторе r1 эдс источникаРезистор и индуктивность в цепи переменного тока и напряжение. активное сопротивление в цепи переменного тока формула. схема активного сопротивления и индуктивности. сопротивление каткшки в цепи срезистором.Электрическая цепь r1 r2. электрическая цепь с 4 источниками напряжения и 5 резисторами. определите силу тока электрической цепи ,если r1=2. схема электрической цепи r1 r2.Напряжение на резисторе r1 эдс источникаСопротивление резистора r1 формула. как считать ток через резистор. расчет тока напряжения сопротивления. как найти напряжение в цепи формула.Напряжение на резисторе r1 эдс источникаНапряжение на резисторе r1 эдс источникаИсточник с внутренним сопротивлением и сопротивление цепи. источник эдс и сопротивление амперметра. внутреннее сопротивление источника тока равно. внутреннее сопротивление источника в омах.Внутреннее сопротивление источника r 10, эдс. внутреннее сопротивления источника тока r1=. эдс и внутреннее сопротивление источника тока. сила тока в проводнике с внутренним сопротивлением.Напряжение на резисторе r1 эдс источникаЭл. схема мощность в цепи. согласованный режим работы электрической цепи схема. как найти эдс переменного тока. как рассчитать напряжение в цепи.Напряжение на резисторе r1 эдс источникаНапряжение на резисторе r1 эдс источникаЭлектрическая цепь r1 r2 амперметр. внутреннее сопротивление источника тока схема. внутреннее сопротивление амперметра и вольтметра. внутреннее сопротивление амперметра м4200.Параллельное соединение вольтметра и резистора. потенциалы последовательное соединение. как определить силу тока параллельно. как найти напряжение на резисторе в цепи.Напряжение на резисторе r1 эдс источникаЭдс аккумуляторной батареи равна 12в а внутреннее сопротивление 0.1ом. аккумуляторная батарея с эдс 14в. вольтметр подключенный к клеммам батареи с эдс 50 в. вольтметр подключенный к клеммам батареи с эдс 25 в.Е1=10в, е2=4в, r1=r4=2 ом. два источника с эдс е1 2,5 1,0 htpbcnjhs 5 jv 10 2. три источника тока r1=11 в, r=4 в и r3= 2 ом. схема с четырьмя резисторами и источником тока.Напряжение на резисторе r1 эдс источникаКак найти сопротивление источника тока. как определить эдс источника тока в цепи. как найти внутреннее сопротивление цепи. внутреннее сопротивление на схеме.Напряжение на резисторе r1 эдс источникаСопротивление эдс r1=r2=r3=3ом. сила тока в резисторе r1. внутреннее сопротивление 3 резистора. эдс источника тока 3в,ток.Решение задач с резисторами r1-r10. сопротивление эдс r1=r2=r3=3ом. эдс батареи 120 в сопротивления r3 30. эдс батареи е 120 в сопротивление 30 ом,60 ом.Внутреннее сопротивление источника питания. эдс.. внутреннее сопротивление тока с эдс. источник с внутренним сопротивлением и сопротивление цепи. амперметр подключенный к источнику тока с эдс.Внутреннее сопротивление источника питания. эдс.. эдс источника тока и напряжения в электрической цепи. мощность источника тока и напряжения. эдс источника тока в цепи.Напряжение на резисторе r1 эдс источникаНапряжение на резисторе r1 эдс источникаНапряжение на резисторе r1 эдс источникаСопротивление эдс r1=r2=r3=3ом. в схеме эдс е1=2.1в е2= 1,9в сопротивление r1=45 ом. e1 30 в e2 50в r1 5 ом r2 15 ом. e1 e2 r1 r2 r1 = r2 = 4 ом e1 = 10 в e2 = 12 - ? (рассчитать силу тока).Напряжение на резисторе r1 эдс источникаНапряжение на резисторе r1 эдс источникаНапряжение на резисторе r1 эдс источникаЗакон ома для замкнутой цепи с эдс. эдс источника тока закон ома для полной цепи. закон ома для замкнутой цепи ток короткого замыкания. сила тока в замкнутой цепи формула.Внутреннее сопротивление источника тока через эдс. формула закона ома для полной цепи его формулировка. формула для участка электрической цепи. замкнутая электрическая цепь эдс источника.Как найти напряжение на вольтметре. вольтметр формула в цепи. внутреннее сопротивление амперметра формула. как найти амперметр формула.В цепи изображенной на схеме r1 2.9. формула внутреннего сопротивления источника тока с эдс. внутреннее сопротивление источника тока схема. внутреннее сопротивление на схеме.Как найти силу тока задача. как найти силу тока в цепи. сила тока напряжение и сопротивление задачи. разность потенциалов через сопротивление.Напряжение на резисторе r1 эдс источникаВнутреннее сопротивление источника тока схема. сила тока с внутренним сопротивлением. внутреннее сопротивление источника тока через сопротивление. чем обусловлено внутреннее сопротивление источника тока.Напряжение на резисторе r1 эдс источникаОпредели силу тока в проводниках,. определить силу тока в проводнике r. определите силу тока в проводнике r2. определить силу тока в проводнике r1 и напряжение на концах r3.Напряжение на резисторе r1 эдс источникаНапряжение на резисторе r1 эдс источникаНапряжение на резисторе r1 эдс источникаНесколько источников тока в цепи. два источника тока. 2 источника тока в цепи. полная электрическая цепь.Внутреннее сопротивление источника тока формула. как определить внутреннее сопротивление формула. внутреннее сопротивление источника питания. эдс.. формула вычисления внутреннего сопротивления источника тока.Напряжение на резисторе r1 эдс источникаВнутреннее сопротивление источника тока схема. эдс в схеме электрической цепи. электрическая цепь, принципиальная электрическая схема, источник эдс. цепь с двумя источниками питания.Напряжение на резисторе r1 эдс источникаНапряжение на резисторе r1 эдс источникаНапряжение на резисторе r1 эдс источникаНа рисунке показана цепь постоянного тока содержащая источник. цепь эдс два резистора и реостат на рисунке. два резистора с сопротивлением r1. в цепь постоянного тока включен реостат сопротивлением.