Удиви меня
Морозное пучение фундамента
Морозное пучение грунта. пучение грунта. пучение фундамента.
Пучение грунта ленточного фундамента. морозное пучение грунта. пучение ленточного фундамента. морозное пучение грунтов фундамент.
Морозное пучение схема. воздействие морозного пучения на фундамент. морозное пучение грунта схема. воздействие морозного пучения грунтов на фундаменты.
Морозное пучение грунта. пучение грунта. морозное пучение грунтов фундамент.
Морозное пучение грунтов фундамент. морозное пучение грунтов дороги. пучение грунтов. пучение фундамента.
Морозное пучение бетона. морозное пучение грунтов. морозное пучение грунтов дороги. пучение грунта.
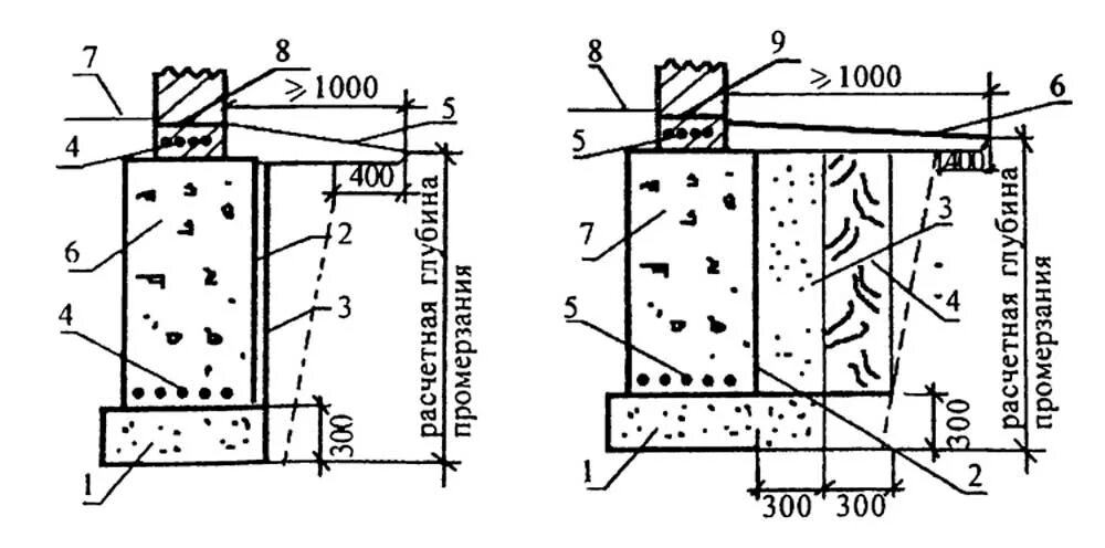
Относительное морозное пучение грунта. морозное пучение дома. показатели набухаемости грунта и морозного пучения. разрыв фундамента по высоте.
Пучение грунта ленточного фундамента. пучение грунта последствия. последствия морозного пучения.
Пучение грунта ленточного фундамента. морозное пучение грунтов схема. пучение грунта мелкозаглубленный. морозное пучение грунтов фундамент.
Морозное пучение грунтов. последствия морозного пучения. пучение фундамента.
Морозное пучение фундамента
Морозное пучение грунтов схема. воздействие морозного пучения грунтов на фундаменты. фундамент на пучинистых грунтах. пучение грунтов это процесс.
Морозное пучение грунтов. морозное пучение суглинка. морозное пучение свайного фундамента. пучение почвы.
Защита свай от морозного пучения. силы морозного пучения. защита фундамента от морозного пучения.
Морозное пучение грунтов фундамент. схема пученения грунтов. морозное пучение схема. морозное пучение грунта схема.
Глубина пучинистых грунтов. морозное пучение грунтов фундамент. промерзание грунта под фундаментом. фундаменты на промерзших грунтах.
Морозное пучение фундамента
Морозное пучение грунтов фундамент. просадка фундамента здания. разрушение фундамента дома. трещины в фундаменте здания.
Пучение грунта ленточного фундамента. пучение столбов забора. пучение ленточного фундамента. бетонный цоколь забора.
Пучение отмостки. морозное пучение бетона. просел фундамент. пучение фундамента.
Морозное пучение грунтов. морозное пучение грунтов фундамент. криогенное пучение грунтов. мерзлотное пучение грунта.
Морозное пучение схема. морозное пучение грунта схема. схемамвоздецствия грунта на фундамент. схема морозное пучение свай.
Морозное пучение грунтов схема. морозное пучение плиты фундамента. силы морозного пучения на фундамент. пучение грунта под фундаментом.
Коттедж треснул. пучение грунта. коттеджи с трещинами.
Пучение грунта схема. морозное пучение грунтов схема. воздействие сил морозного пучения на фундамент. усилие сил морозного пучения грунтов.
Морозное пучение бетона. морозное пучение грунтов фундамент. трещины в фундаменте. разрушение цоколя здания.
Фундамент от пучения грунта. морозное пучение грунтов фундамент. трещины фундамент от морозного пучения.
Пучение грунта. пучение фундамента. пучение грунта последствия.
Трещины в фундаменте. просел фундамент. трещины в цоколе. трещины в цоколе фундамента.
Морозное пучение фундамента
Фундамент на пучинистых грунтах. пучинистых грунтов. морозное пучение грунтов фундамент. пучинистость грунта.
Пучение грунта ленточного фундамента. гидроизоляция фундамента от пучения. пучение ленточного фундамента. морозное пучение грунтов фундамент.
Морозное пучение грунтов схема. схема морозного пучения основания. деформации морозного пучения грунта. касательные силы морозного пучения.
Морозное пучение грунтов схема. пучение грунта схема. влияние морозного пучения на фундаменты. воздействие морозного пучения грунтов на фундаменты.
Трещины в фундаменте. треснул фундамент. дефекты фундамента. трещины в ленточном фундаменте.
Пучение фундамента. пускние грунта прд фкншаментом. пучение ленточного фундамента.
Морозное пучение грунта схема. воздействие сил морозного пучения на фундамент. фундамент на естественном основании мелкого заложения. пучение песчаных грунтов.
Ленточный фундамент морозное пучение. морозное пучение грунта. пучение грунта.
Морозное пучение фундамента
Морозное пучение грунтов. защита свай от морозного пучения. защита фундамента от пучения грунта. силы морозного пучения на фундамент.
Морозное пучение грунта схема. пучинистость супеси. фундамент на пучинистых грунтах.
Пучение грунта ленточного фундамента. пучение грунта под фундаментом схема. морозное пучение грунтов фундамент. воздействие сил морозного пучения на фундамент.
Пучение фундамента. пучение грунта под фундаментом. морозное пучение ммг.
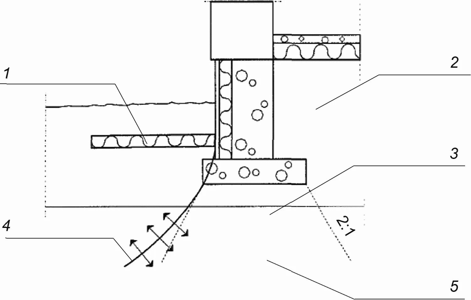
Глубина заложения фундамента схема. схема для определения глубины заложения фундамента. схема пученения грунтов. морозное пучение грунтов схема.
Морозное пучение грунтов схема. свайный фундамент пучение грунта. деформация свай морозное пучение. величина пучения грунта.
Морозное пучение грунтов схема. силы морозного пучения на фундамент. защита фундамента от морозного пучения. морозное пучение свайного фундамента.
Морозное пучение грунта схема. морозное пучение грунтов. морозное пучение грунтов фундамент. морозное пучение грунта влияние на фундамент.
Фундамент ростверк на сваях. конструкция свайно ростверкового фундамента. свайеоростверговый фундамент. свайно-ростверковый фундамент схема.
Разрыв фундамента по высоте схема. пучение грунта схема. способы защиты от пучения грунта. пучение грунта под фундаментом схема.
Морозное пучение грунта схема. пучинистость глинистых грунтов. пучинистость песчаных грунтов. прибор для пучинистых грунтов.
Защита столбов от морозного пучения. защита трубы от пучения грунта. защита фундамента от морозного пучения. схема морозного пучения основания.
Морозное пучение схема. морозное пучение грунтов схема. морозное пучение схема геология.
Схема морозного пучения основания. морозное пучение грунта схема. расширитель для прибора морозного пучения асис. расчетная сила морозного пучения.
Морозное пучение грунтов схема. схема промерзания грунта под фундаментом. схема морозного пучения основания. промерзание фундамента схема.
Морозное пучение схема. морозное пучение грунтов схема. воздействие сил морозного пучения на фундамент. морозное пучение свайного фундамента.
Компенсатор пучения грунта. силы морозного пучения на фундамент. морозное пучение грунта. пучение фундамента.
Морозное пучение земляного полотна. морозное пучение грунта. пучение грунтов. силы морозного пучения грунта.
Морозное пучение грунтов. пучение грунта. вспучивание грунта под фундаментом.
Морозное пучение грунтов мощение. морозное пучение грунта схема. расчетная сила морозного пучения. относительная деформация пучения.
Компенсатор морозного пучения грунтов. столбчатый фундамент пучение грунта. воздействие морозного пучения на фундамент. морозное пучение грунтов фундамент.
Морозное пучение грунта. мерзлотное пучение грунта. пучение почвы. пучение суглинка.
Дефект фундамента деформация. причины дефектов фундамента. основные дефекты фундаментов. причины повреждения фундаментов.
Пучинистый дисперсный грунт. глубина морозного пучения. морозное пучение грунтов фундамент. пучинистых грунтов.
Морозное пучение грунта схема. защита столба от пучения грунта. инженерные методы защиты от морозного пучения грунтов. защита фундамента от пучения грунта.
Морозное пучение столбов. нормальные силы морозного пучения. механизм морозного пучения грунтов. нормальные силы морозного пучения по подошве фундамента.
Компенсатор пучения грунта. морозное пучение схема. пучение грунта схема. морозное пучение грунтов.
Морозное пучение в вечномерзлых грунтах. морозное пучение суглинка. морозное пучение грунта.
Пучение грунта под фундаментом. мероприятия по защите фундаментов от морозного пучения. спасает ли песчаная подушка от пучения.
Морозное пучение фундамента фото.
Усадочные трещины в бетоне. усадочные трещины в фундаменте. трещины в цоколе. трещины в цоколе фундамента.
Морозное пучение грунтов фундамент. схема морозного пучения основания. силы морозного пучения. воздействие морозного пучения на фундамент.
Столбчатый фундамент пучение грунта. морозное пучение грунтов схема. пучение грунта ленточного фундамента. пучение песчаных грунтов.
Дефекты фундамента схема. столбчатый фундамент пучение грунта. разрушение фундамента с поверхности схема. пучение грунта под фундаментом схема.
Морозное пучение грунта. пучение грунта. пучение морозного грунта под террасой. фундамент плита морозное пучение грунта.
Схема воздействия касательных сил морозного пучения на фундамент. удельное нормальное давление пучения грунта на подошву фундамента. давление пучения грунта на подошву фундамента. давление пучения на подошву фундамента.
Морозное пучение грунтов фундамент. сваи мостовые. разрушенная бетонная свая. разрушение бетонной сваи.
Оборудование для бурение свай в многолетнемерзлых грунтах. морозное пучение свай. предотвращение пучения грунта. фундаменты в мерзлых грунтах.
Пучение грунтов. схема пученения грунтов. морозное пучение грунтов. пучение грунта последствия.
Морозное пучение грунта схема. морозное пучение грунтов. протокола испытания морозного пучения грунта. воздействие сил морозного пучения на фундамент.