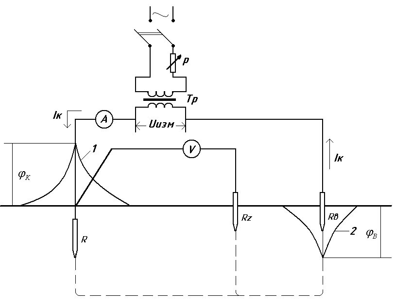
Измерение сопротивления контура заземления методика. методы измерения сопротивления заземления способы. схема измерения сопротивления защитного заземления. измерение контура заземления методика.Технология измерения сопротивления контура защитного заземления.. схема для измерения сопротивления контура заземляющего устройства. схема измерения сопротивления защитного заземления. схемы замеров сопротивления контура заземления.Технология измерения сопротивления контура защитного заземления.. схемы замеров сопротивления контура заземления. измерение сопротивления контура заземления схема. прибор для измерения сопротивления контура заземления.Измерение сопротивления контура заземления методика. измерение контура заземления методика. методы измерения сопротивления заземления способы. методика измерения сопротивления заземляющих устройств.Измерение сопротивления контура заземления методика. измерение сопротивления контура заземления схема. схема измерения сопротивления заземляющего устройства. м416 измеритель сопротивления заземления схема.Измерение сопротивления заземления методом амперметра и вольтметра. измеритель сопротивления заземления сем dt-5300b. схема измерения сопротивления заземления с помощью амперметра. измерение сопротивления контура заземления методика.Замер контура заземления методика. параметры замера сопротивления контура заземления. технология измерения сопротивления контура защитного заземления.. замеры контура заземления нормы.Измерение сопротивления контура заземления схема. измерение контура заземления методика. схема измерения сопротивления растеканию тока анодного заземления. измерение сопротивления контура заземления методика.Измерение сопротивления контура заземления схема. схема для измерения сопротивления контура заземляющего устройства. схема измерения сопротивления заземляющего устройства прибором м416. принципиальная схема контура заземления.Схема измерения сопротивления изоляции 220в. схема измерения сопротивления изоляции кабеля. замер сопротивления контура заземления мультиметром. сопротивление изоляции кабеля схема подключения.Измерение сопротивления контура заземления методика. проверка сопротивления контура заземления. измерение сопротивления заземляющего устройства опоры вл. прибор для замера сопротивления контура заземления.Схема измерения сопротивления защитного заземления. прибор для измерения сопротивления контура заземления. измерение сопротивления контура заземления схема. схема измерения сопротивления заземляющего устройства.Замер контура заземления заземляющего устройства. схема измерения сопротивления защитного заземления. схема измерения сопротивления заземлителя. замер контура заземления методика.Измерение растекания тока контура заземления. электрод для измерения сопротивления заземления. четырёхпроводная схема измерения сопротивления. замер сопротивления контура заземления.Схема сопротивление измерения сопротивления заземляющих устройств. схемы замеров сопротивления контура заземления. схема для измерения контура заземления прибором. схема вольтметра амперметра для измерения сопротивления.Схемы замеров сопротивления контура заземления. измерение сопротивления контура заземления методика. измерение сопротивления заземления мегаомметром схема. измерение сопротивления контура заземления мегаомметром схема.Схема измерения сопротивления защитного заземления. схема для измерения сопротивления контура заземляющего устройства. схема измерения сопротивления заземления изолирующего соединения. технология измерения сопротивления контура защитного заземления..Схема измерения сопротивления защитного заземления. схема проверки сопротивления заземления. схема сопротивление измерения сопротивления заземляющих устройств. как измерить заземление.Схема измерения сопротивления заземления с помощью мультиметра. схема измерения сопротивления заземлителя. схема измерения сопротивления заземления с помощью амперметра. схема замера сопротивления заземления.Измерение сопротивления контура заземления схема. схема измерения сопротивления заземляющего устройства. измерение сопротивления контура заземления методика. схема измерения сопротивления защитного заземления.Измерение сопротивления контура заземления методика. схема измерения сопротивления заземляющего устройства. схема проверки сопротивления заземления. схема подключения измерения сопротивления заземления.Схема измерения сопротивления заземлителя. измерение растекания тока контура заземления. схема измерения сопротивления заземляющего устройства. схема проверки сопротивления заземления.Мегаомметр схема измерения заземления. ф4103-м1 измеритель сопротивления заземления схема. схема подключения измерения сопротивления заземления. схема электрической цепи заземления.Измерение сопротивления контура заземления схема. схема измерения сопротивления заземляющего устройства. измерение сопротивления контура заземления методика. схема измерения заземляющего контура.Прибор для измерения сопротивления контура заземления. схема подключения измерения сопротивления заземления. схемы замеров сопротивления контура заземления. ис-10 измерение контура заземления.Измерение сопротивления заземления мегаомметром схема. измерение сопротивления контура заземления схема. схема сопротивление измерения сопротивления заземляющих устройств. измерение сопротивления контура заземления мегаомметром схема.Измерение сопротивления заземления мегаомметром схема. измерение сопротивления контура заземления мегаомметром схема. замер контура заземления методика. проверка сопротивления контура заземления мультиметром.Измерение сопротивления контура заземления схема. схема измерения сопротивления заземляющего устройства. схема для измерения контура заземления прибором. схема подключения измерения сопротивления заземления.Схема измерения удельного электрического сопротивления грунта. измерение удельного сопротивления грунта картинка. схема замера сопротивления заземления. замер удельного сопротивления грунта.Схема измерения сопротивления заземления. схема измерения сопротивления заземляющего устройства. схема измерения сопротивления заземления ис-20. измерение сопротивления методом двух приборов.Схема измерения сопротивления заземлителя. измерение растекания тока контура заземления. измерение сопротивления растеканию тока заземлителя. сопротивление растеканию тока заземляющего устройства.Схема защитного контура заземления. схема измерения сопротивления защитного заземления. схема измерения сопротивления заземлителя. схемы замеров сопротивления контура заземления.Замер контура заземления. проверка сопротивления контура заземления. измерение сопротивления контура заземления. замер сопротивления контура заземления.Схема измерения сопротивления заземляющего устройства. схема замера сопротивления заземления прибором м416. ис-10 измеритель сопротивления заземления схема. схема подключения прибора измеряющего контура заземления.Однолучевая схема измерения сопротивления заземлителей. схема измерения сопротивления заземляющего устройства. схема измерения сопротивления заземлителя. схема для измерения сопротивления контура заземляющего устройства.Переходное сопротивление контактов разъединителя 35 кв. схема измерения заземления. наведенное напряжение. схема замера сопротивления заземления.Измерение сопротивления петли фаза-нуль схема. схема измерения сопротивления заземляющего устройства. схема проверки сопротивления заземления. схема заземления силового трансформатора.Схема измерения сопротивления заземления. измерение сопротивления контура заземления методика. измерение сопротивления контура заземления схема. измерение сопротивления заземления мегаомметром схема.Схема измерения сопротивления заземлителя. схемы замеров сопротивления контура заземления. схема измерения сопротивления заземляющего устройства. замер сопротивления контура заземления.Метод сопротивления заземления