Удиви меня
Мэк 61000 4 4
Мэк 61000 4 4
Мэк 61000 4 4
Мэк 61000 4 4
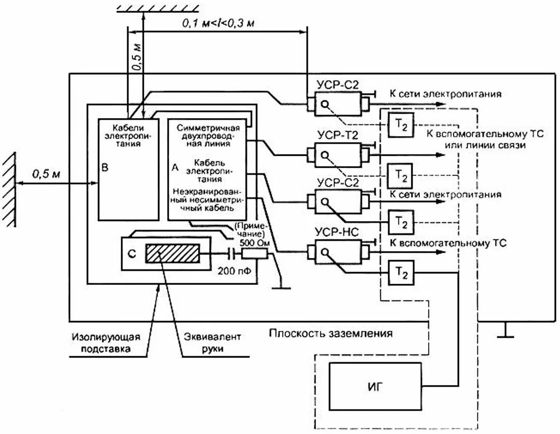
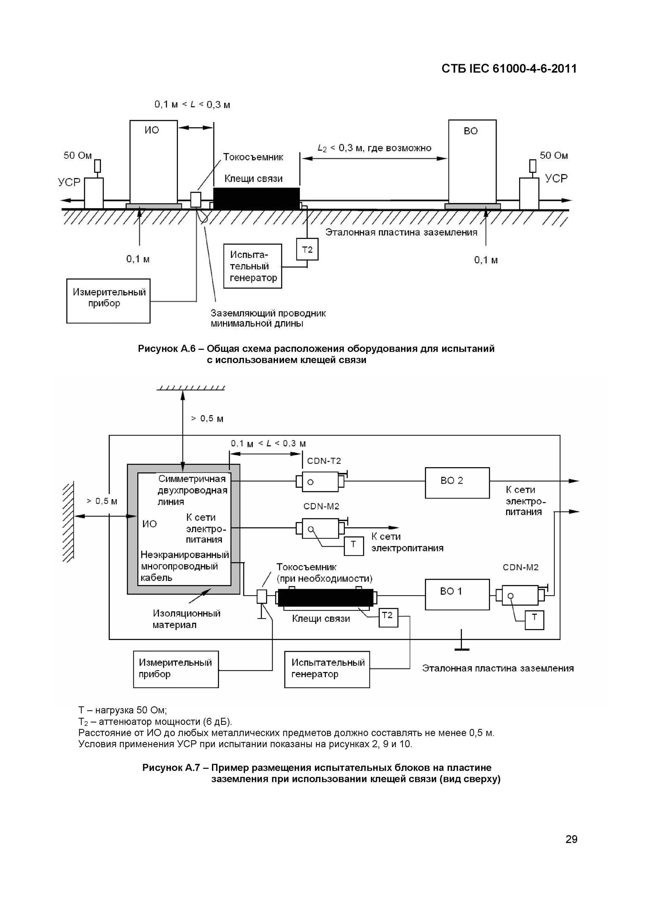
Устройство подачи испытательного напряжения. клещи связи 61000-4-4.
Протокол эмс. iec 61000-4-2:2008. burst, iec 61000-4-4. iec 61000 часы.
Мэк 61000 4 4
Мэк 61000 4 4
Мэк 61000 4 4
Iec 61000-4-2:2008.
Мэк 61000 4 4
Мэк 61000 4 4
Испытания электромагнитной совместимости. iec 61000-4-2:2008.
Мэк 61000 4 4
Мэк 61000 4 4
Мэк 61000 4 4
Мэк 61000 4 4
Мэк 61000 4 4
Мэк 61000 4 4
Мэк 61000 4 4
Методика испытаний на электромагнитную совместимость. испытания электромагнитной совместимости. параметры испытаний на эмс. iec 61000-4-2:2008.
Мэк 61000 4 4
Мэк 61000 4 4
Мэк 61000 4 4
Мэк 61000 4 4
Iec 61000. iec 61000 часы.
Мэк 61000 4 4
Мэк 61000 4 4
Мэк 61000 4 4
Мэк 61000 4 4
Емкостные клещи связи. клещи связи 61000-4-4.
Iec 61000 часы.
Iec 61000. iec 61000-4-2:2008. burst, iec 61000-4-4. генератор перепада напряжения ems61000-11k.
Мэк 61000 4 4
Мэк 61000 4 4
Мэк 61000 4 4
Burst, iec 61000-4-4.
Мэк 61000 4 4
Мэк 61000 4 4
Мэк 61000 4 4
Мэк 61000 4 4