Удиви меня
Котел длительного горения своими руками для дома
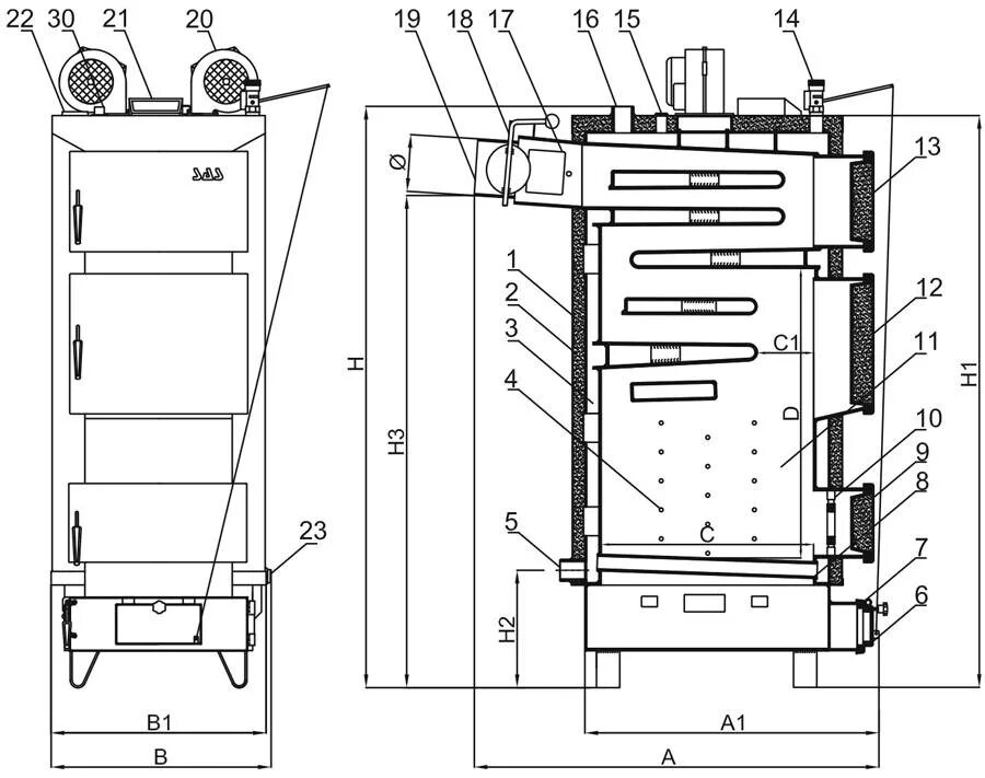
Схема твердотопливного котла длительного горения. котел холмова 12 квт чертеж. чертежи котла длительного горения на твердом топливе. пиролизная печь длительного горения на дровах схема.
Шахтный котел холмова чертежи. твердотопливный котел холмова чертеж. схема котла длительного горения. чертежи котла длительного горения холмова.
Котел длительного горения 220 квт чертеж. схема горения котла длительного горения. чертежи твердотопливного котла длительного горения. твердотопливный котел гефест схема водяного контура.
Котёл длительного горения на дровах 100. котел дровяной для водяного отопления длительного горения. схема пиролизного котла длительного горения на твердом топливе. пиролизная печь длительного горения на дровах.
Котёл твёрдотопливный длительного горения холмова. котел холмова чертежи. котел холмова 12 квт чертеж. шахтный котел длительного горения холмова чертежи.
Пиролизная печь длительного горения. пиролизная печь длительного горения на дровах схема. пиролизный котел длительного горения на опилках. схема угольного котла длительного горения.
Шахтный котел длительного горения холмова чертежи. печь пиролизная из кирпича длительного горения. пиролизный котел холмова. кирпичная пиролизная печь длительного горения.
Печь сверхдлительного горения. самодельный твердотопливный котел длительного горения. теплоаккумулятор для печи длительного горения на дровах. котел твердотопливный длительного горения из трубы.
Схема отопления котла с водяным контуром длительного горения. схема печки длительного горения. печь длительного горения с водяным контуром чертежи.
Чертежи твердотопливного котла длительного горения. котёл пиролизный длительного горения 100 квт чертеж. твердотопливный котел 300 квт чертежи. твердотопливный котел 100квт чертежи.
Котел пиролизного горения. пиролизная печь длительного горения. котел пиролизного горения с водяным контуром. пиролизный котёл длительного горения на дровах.
Принципиальная схема котла длительного горения. схема котел водяной твердотопливный длительного горения. чертеж твердотопливного котла. схема котла отопления длительного горения.
Котел для отопления длительного горения чертеж. схема угольного котла длительного горения. котел отопления печной для водяного кв300. дровяной твердотопливный котел схема.
Шахтный котел длительного горения. шахтный пиролизный котел длительного горения. пиролизный котел холмова. шахтный котел холмова.
Котел длительного горения 220 квт чертеж. пиролизный котёл длительного горения на дровах своими руками чертежи. чертежи твердотопливного котла длительного горения. котёл твёрдотопливный длительного горения мимакс 12,5 чертеж.
Чертёж котла длительного горения. пиролизная печь длительного горения чертежи. схема пиролизной печи длительного горения. печь шахтного горения холмова чертеж.
Чертежи твердотопливного котла длительного горения. твердотопливный котел altep кт-2е-sh 75 75 квт одноконтурный. твердотопливный котел altep кт-2е-sh 17 17 квт одноконтурный. пиролизный котел длительного горения чертежи.
Котел длительного горения 220 квт чертеж. чертежи твердотопливного котла длительного горения. котлы длительного горения на твердом топливе своими руками чертежи. чертежи котла длительного горения на твердом топливе.
Чертежи твердотопливного котла длительного горения. твердотопливный котел гефест схема водяного контура. котёл дллительного горения чертёж. схема горения котла длительного горения.
Котел длительного горения 220 квт чертеж. схема котла длительного горения на твердом топливе. схема твердотопливного котла длительного горения. 2 х контурный твердотопливный котел схема.
Твердотопливный котел энергия тт 40 квт одноконтурный. чертёж котла длительного горения на дровах. котёл длительного горения на дровах своими руками чертежи. схема пиролизного котла длительного горения на твердом топливе.
Котел для отопления длительного горения чертеж. чертежи котла длительного горения на твердом топливе. схема отопительного котла на твердом топливе. самодельный твердотопливный котел чертежи.
Схема шахтного котла длительного горения. чертёж котла длительного горения. шахтный котел длительного горения холмова чертежи. чертежи котла длительного горения холмова.
Котел длительного горения stropuva чертежи. схема твердотопливного котла длительного горения. чертежи твердотопливных котлов длительного горения. принципиальная схема котла длительного горения.
Котел длительного горения 220 квт чертеж. котёл длительного горения схема горения твердотопливный. котёл длительного горения petlax. котел для отопления длительного горения чертеж.
Котел длительного горения 220 квт чертеж. котлы длительного горения на твердом топливе своими руками чертежи. схема твердотопливного котла длительного горения. чертежи твердотопливного котла длительного горения.
Пиролизный котел длительного горения чертежи. чертежи твердотопливного котла длительного горения. схема твердотопливного котла длительного горения. чертежи котла пиролизного горения.
Твердотопливный котел старт v4. твёрдотопливный котёл длительного горения. котел старт 30 лонг макс.
Схема твердотопливного котла длительного горения. схема котел долгогорении. схема горения пиролизного котла. чертежи твердотопливного котла длительного горения.
Схема котла длительного горения. чертёж котла длительного горения. схема печки длительного горения. печь пиролизного горения чертеж.
Схема водогрейного котла на твердом топливе. чертежи угольного котла длительного горения. котёл водогрейный на твёрдом топливе конструкция. котёл водогрейный твердотопливный схема.
Котел длительного горения 220 квт чертеж. котлы длительного горения на твердом топливе своими руками чертежи. чертежи твердотопливных котлов длительного горения. чертежи твердотопливного котла длительного горения.
Схема твердотопливного котла длительного горения. чертежи твердотопливного котла длительного горения. котел длительного горения на дровах с водяным контуром. котел для отопления длительного горения чертеж.
Котел длительного горения 220 квт чертеж. котел холмова 12 квт чертеж. твердотопливный котел форвард-12,5 чертежи. котел длительного горения неделька чертеж.
Схема горения котла длительного горения. схема отопления твердотопливного котла длительного горения. котел длительного горения на дровах схема. схема пиролизной печи длительного горения.
Шахтный котел длительного горения чертежи. пиролизный котел длительного горения на опилках. котёл на опилках длительного горения чертежи. котёл на опилках длительного горения.
Принципиальная схема котла длительного горения. котлы длительного горения на твердом топливе своими руками чертежи. схема отопительного котла на твердом топливе. схема котел долгогорении.
Шахтный котел с боковым теплообменником. печь для опилок длительного горения. пиролизный котел длительного горения на опилках. бункерная печь длительного горения.
Твердотопливный котел 15 квт чертеж. чертеж твердотопливного котла 200 квт. чертежи котла длительного горения на твердом топливе. чертеж шахтного котла на 10 квт.
Самодельный твердотопливный котел длительного горения. самодельный пиролизный котел длительного горения. калдера котел твердотопливный. самоделки длительное горения котла.