Удиви меня
Как установить сошник
Патент дисковый сошник овощной сеялки. чертеж сошника сеялки. чертеж сошника для мотоблока чемпион. сошник для культиватора крот чертеж.
Чертеж сошника для культиватора. сошник для культиватора крот чертеж. крыло для культиватора крот чертеж. размер сошника на культиватор крот.
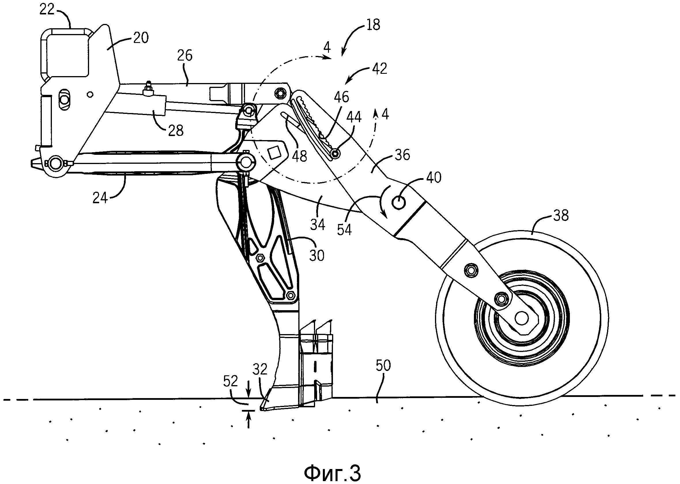
Сошник мкм 3 колесо опорное. сошник на мотоблок колесо опорное.
Чертеж сошника для культиватора. чертеж сошника сеялки. чертеж сошника для мотоблока чемпион. чертеж сошника сеялки сз-3.6.
Чертеж сошника сеялки сз-3.6. чертеж сошника сеялки. схема сеялки сз-3.6. анкерный копирующий сошник сеялки.
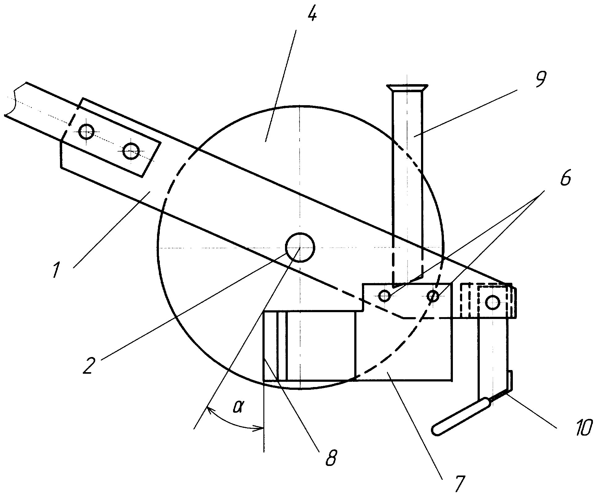
Дифазный сошник. 962292 диск сошника.
Сошник для культиваторов кайман. сошник для мотоблока huter.
Как установить сошник
Чертеж сошника для мотоблока чемпион. чертёж сошника для мотоблока. чертеж сошника для культиватора.
Как установить сошник
Чертёж сошника для мотоблока. комбинированный сошник сеялки патент. чертеж сошника для культиватора. сошник для мотоблока своими руками.
Чертёж сошника для мотоблока. сошник для мотоблока с колесами. сошник для мотоблока размеры. палец сошника для мотоблока чертеж.
Сошник мотоблока размеры чертежи. чертеж сошника для культиватора. сошник мкм 3 колесо опорное. чертёж сошника для мотоблока.
Схема сошника сеялки сз-3.6. чертеж сошника сеялки. чертеж сошника сеялки сз-3.6. стойка сошника сеялки омичка.
Мотоблок кб 71 elitech. мотокультиватор elitech kb 71 м. сошник elitech. колеса опорные для культиваторов elitech 0401.003000.
Сошник для картофелесажалки сн-4б. картофелесажалка ксм-4 схема. сбн-1а лесопосадочная машина. сошники на посадочных машинах.
Как установить сошник
Схема передач сеялки упс 8. чертеж сошника для культиватора. чертёж сошника для мотоблока. упс 8 сеялка чертеж.
Чертеж сошника сеялки сз-3.6. устройство сошника сз-3.6. устройство сошника сеялки сз-3.6. чертеж сошника сеялки.
Картофелесажалка сн-4б схема. картофелесажалка сн-4б устройство. сн 4б глубина хода сошников. сошник для картофелесажалки сн-4б.
Культиватор dde v800 ii крот-3. сошник мкм 3 колесо опорное. сошник для мотокультиватора крот (15000007).
Сошник мотоблока мобил к. сошник для мотоблока pubert.
Как установить сошник
Чертеж сошника для культиватора. чертеж сошника сеялки. чертёж сошника для мотоблока. схема сошника сеялки сз-3.6.
Как установить сошник
Сошник для мотоблока хутер. сошник для культиватора huter. сошник для мотокультиватора крот.
Сошник мотоблока салют 100.
Сошник мотоблока салют 100. сошник для культиваторов кайман. сошник на мотокультиватор брайт 65.
Сошник мотоблока салют 100. мотоблок мб-2 фиксатор сошника.
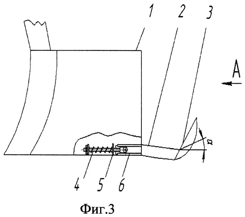
Однодисковый сошник. сошник чертеж. сошник для мотокультиватора. правильная сборка сошника.
Устройство сошника сеялки сз-3.6. чертеж сошника сеялки. схема сошника сеялки сз-3.6. чертеж диска сошника сеялки бурго 872.
Сошник мотоблока салют 100. сошник на мотоблок агат. сошник для мотоблока кипор.
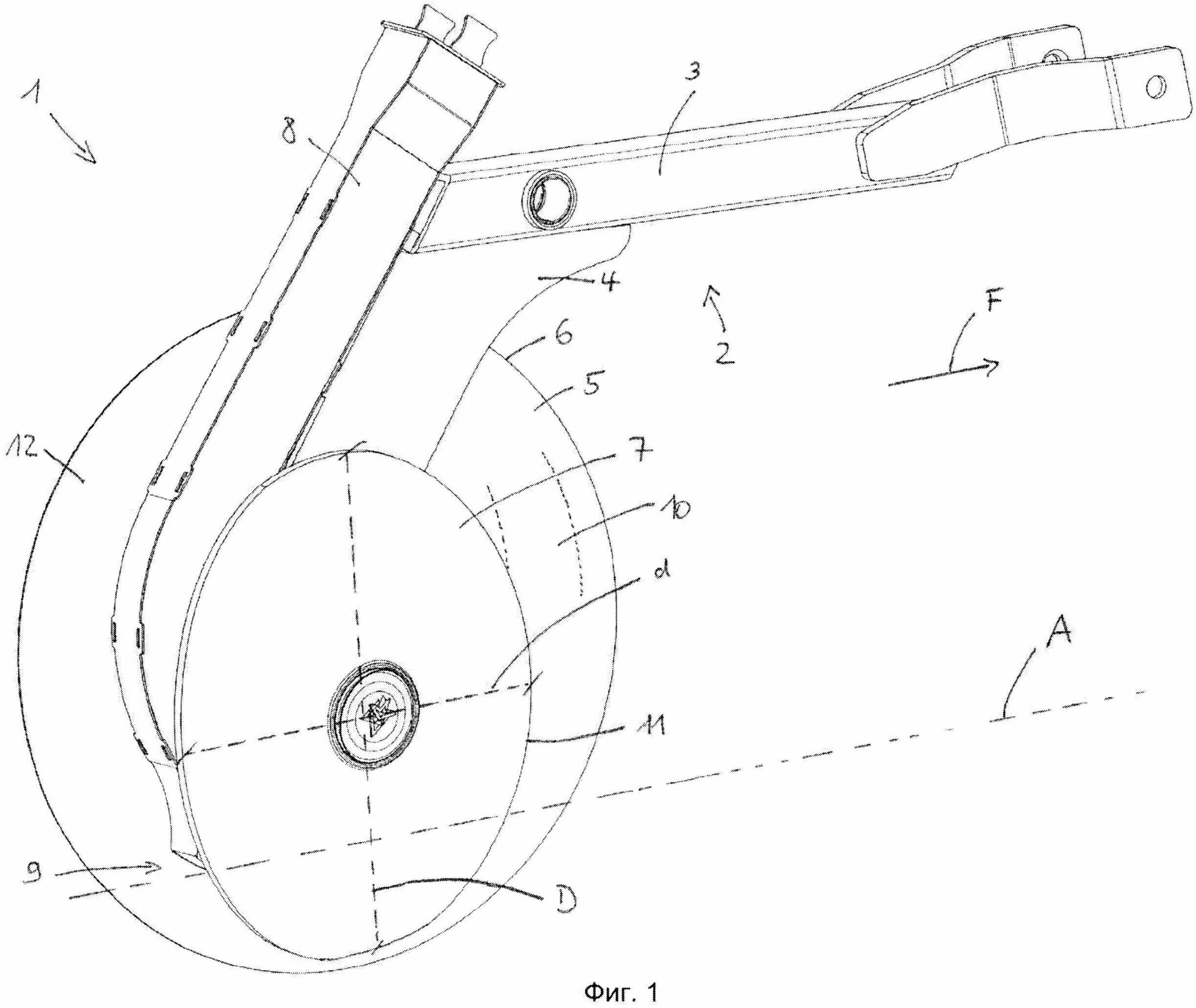
Колесо сошника удобрений сеялка 1745. устройство дискового сошника зерновой сеялки. сеялка борго 3310 сошник анкерный. семяукладчик сошника зерновой сеялки.
Как установить сошник
Сбн-1а лесопосадочная машина. типы сошников лесопосадочных машин. анкерный сошник. анкерный сошник самодельный.
Чертеж сошника для культиватора. сошник для культиватора крот чертеж.
Схема сеялки сз-3.6. диск сошника сз-3.6 чертеж. чертеж сошника сеялки. чертеж сошника сеялки сз-3.6.
Сеялка борго 3310 сошник анкерный. двухдисковый сошник сеялки. монодиск сошник. сошник мкм 3 колесо опорное.
Сошник мотоблока салют 100. сошник для мотоблока кипор.
Анкерный копирующий сошник сеялки. 943120 сошник. копирующий анкерный сошник агромастер. сеялка борго 3310 сошник анкерный.