Удиви меня
Как сделать рукава реглан
Построение реглана на основе втачного рукава. как построить выкройку рукава реглан. выкройка реглана для шитья построение. построение рукава реглан на основе втачного рукава.
Рукав реглан выкройка. моделирование рукава реглан. лекало рукава реглан. моделирование рукава из реглана.
Построение рукава реглан на основе втачного рукава. моделирование из рукава полуреглан реглан рукава реглан. смоделировать рукав реглан. моделирование рукава реглан на основе втачного рукава.
Построение выкройки реглан для шитья для начинающих. трикотажное платье реглан выкройка. построение реглана на основе втачного рукава. как построить выкройку рукава реглан.
Рукав полуреглан выкройка. моделирование из рукава полуреглан реглан рукава реглан. как построить выкройку рукава реглан. построение рукава реглан моделировка.
Моделирование из рукава полуреглан реглан рукава реглан. рукав реглан выкройка построение. рукав реглан построение выкройки на основе втачного рукава. моделирование втачного рукава в реглан.
Выкройка кофты реглан 50 размер.. выкройка реглан для шитья женская 52 размер. выкройка рукав реглан для вязания спицами. выкройка кофты с рукавом реглан.
Рукав реглан выкройка построение. построение рукава реглан на основе втачного рукава. лекало рукава реглан. рукав реглан из втачного.
Построение чертежа выкройки реглан. рукав реглан выкройка построение. рукав реглан построение выкройки на основе втачного рукава. рукав реглан выкройка построение без шва.
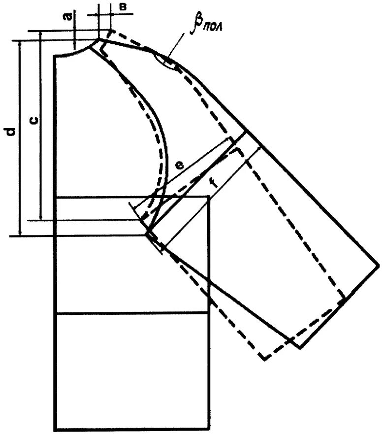
Моделирование рукавов полуреглан. построение чертежа рукава полуреглан. рукав полуреглан выкройка построение. рубашечный рукав чертеж.
Моделирование рукава реглан. моделирование рукава из реглана. моделирование рукава реглан без шва. моделирование реглана из втачного рукава.
Рукав реглан выкройка. рукав реглан крой. лекало рукава реглан. реглан построить выкройку.
Полуреглан рукав построение. моделирование цельнокроеного рукава на основе втачного рукава. моделирование рукава реглан. рукав покроя реглан.
Полуреглан рукав построение. рукав полуреглан выкройка. построение реглана на основе втачного рукава. конструирование рукава реглан на основе втачного рукава.
Полуреглан рукав построение. построение одношовного втачного рукава реглан. моделирование рукавов полуреглан. рукав полуреглан выкройка построение.
Построение чертежа выкройки реглан. рукав реглан выкройка построение. построение чертежа рукава полуреглан. построение рукава реглан цотшл.
Построение рукава реглан моделировка. реглан рукав выкройка рукава. рукав реглан выкройка построение пошагово. построение вытачки в рукаве реглан.
Вто пальто с рукавом реглан. рукав реглан крой. полуреглан рукав построение. выкройка пальто кокон с рукавом реглан.
Реглан фасон выкройка. рукав реглан выкройка. лекало рукава реглан. рукав реглан крой.
Моделирование рукава реглан без верхнего шва. выкройка рукава реглан без плечевого шва. рукав реглан выкройка построение без шва. выкройка рукава реглан без плечевого шва для трикотажа.
Выкройка кофты реглан 48 размер. выкройка мужской футболки с рукавом реглан. рукав реглан крой. выкройка кофты с рукавом реглан.
Построение реглана на основе втачного рукава. конструирование рукава реглан на основе втачного рукава. выкройка рукава реглан без шва. моделирование рукава реглан без верхнего шва.
Рукав реглан крой. рукав реглан выкройка. лекало рукава реглан. реглан выкройка для шитья.
Моделирование из рукава полуреглан реглан рукава реглан. смоделировать рукав реглан. моделирование рукава на основе реглан. рукав покроя реглан.
Моделирование рукава реглан. моделирование рукава реглан без шва. рукав реглан с вытачкой. рукав реглан крой.
Реглан фасон выкройка. рукав реглан крой. выкройка плаща реглан. выкройка рукава реглан без плечевого шва.
Построение рукава реглан методом пристраивания. моделирование рукава реглан. моделирование изделий с рукавом реглан. рукав покроя реглан.
Рукав реглан конструкция. построение рукава реглан. рукав покроя реглан. построение рукава покроя реглан.
Как построить выкройку реглана для шитья. выкройка реглана для шитья построение. рукав реглан выкройка построение. построение лекала рукава реглан.
Полуреглан рукав построение. построение чертежа рукава полуреглан. построение рукава реглан на основе втачного рукава. построение конструкции реглан методом пристраивания.
Моделирование втачного рукава в реглан. рукав реглан из втачного. рукав реглан с вытачкой. моделирование вытачек в изделии с рукавом реглан.
Моделирование втачного рукава. моделирование рукава реглан. моделирование на основе втачного рукава. моделирование блузки с втачным рукавом.
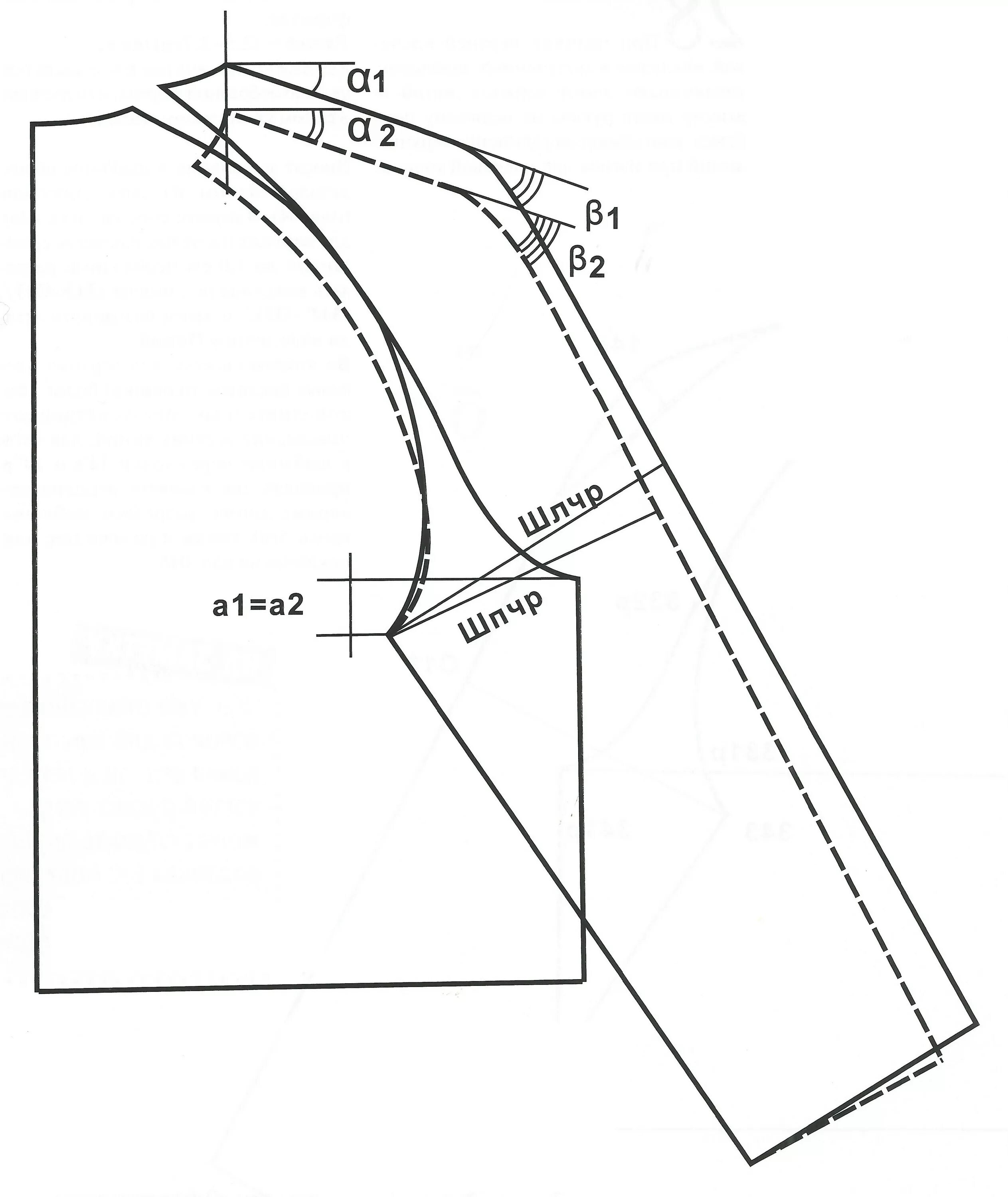
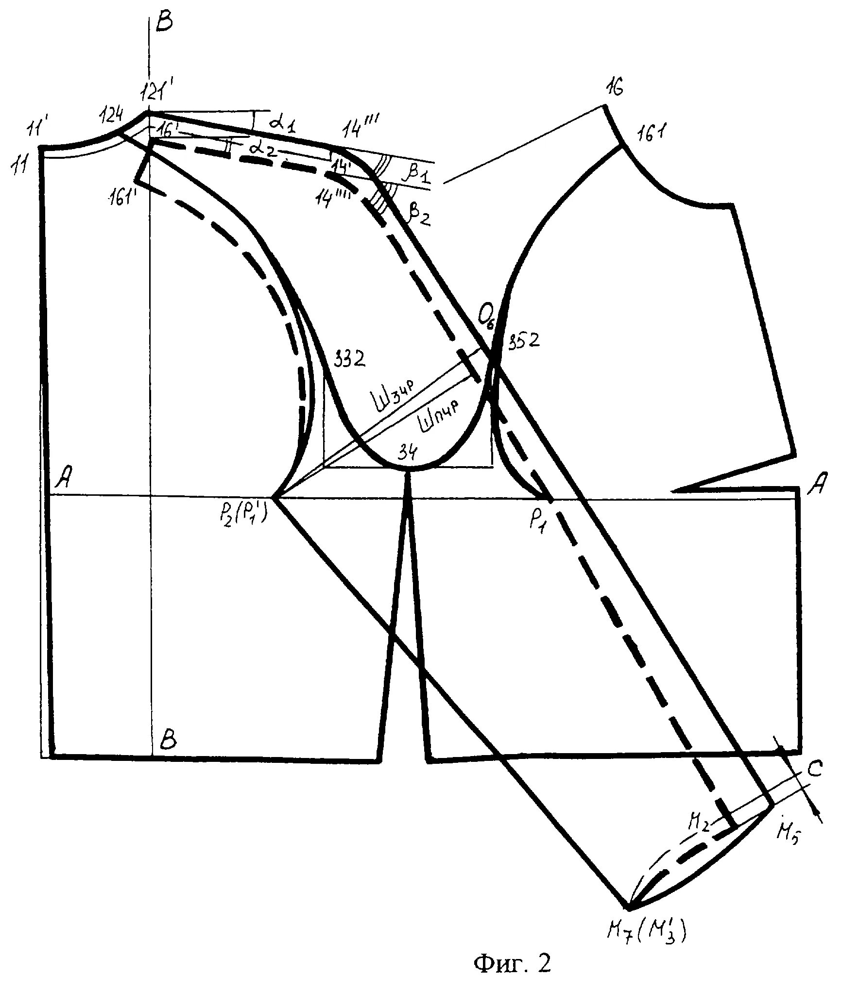
Построение рукава реглан емко сэв. построение конструкции реглан методом пристраивания. конструирование рукава реглан на основе втачного рукава. конструирование реглана на основе втачного рукава.
Полуреглан рукав построение. построение рукава реглан методом пристраивания. моделирование из рукава полуреглан реглан рукава реглан. построение чертежа рукава полуреглан.
Построение рукава реглан емко сэв. рукав реглан построение выкройки на основе втачного рукава. построение реглана на основе втачного рукава. рукав реглан выкройка построение.
Схема втачивания рукава реглан. полуреглан рукав построение. моделирование рукавов полуреглан. построение конструкции реглан методом пристраивания.
Виды рукавов реглан. виды рукава реглан выкройки. виды реглана рукава шить. рукав реглан нулевой.
Втачной рукав вид сбоку. рукав покроя реглан. смоделировать рукав реглан. моделирование рукава реглан.
Рукав втачной и реглан. смоделировать рукав реглан. рукав покроя реглан. моделирование рукава реглан.
Построение реглана на основе втачного рукава. моделирование втачного рукава в реглан. построение рукава реглан на основе базовой выкройки. моделирование рукава покроя реглан.
Кроить реглан рукав. технология пошива рукава реглан. как кроить рукав реглан. как пришить рукав реглан.
Выкройка с регланом 54 размер. рукав реглан выкройка платья для женщин. построение блузы с рукавом реглан выкройка. выкройка прямого платья с рукавом реглан 50 размер.
Построение выкройки бомбера с рукавом реглан. выкройка реглана для шитья построение. построение выкройки реглан для шитья для начинающих. выкройка реглан для шитья женская.
Рукав реглан выкройка построение. базовая выкройка реглана. построение рукав ам реглан. лекало рукава реглан.
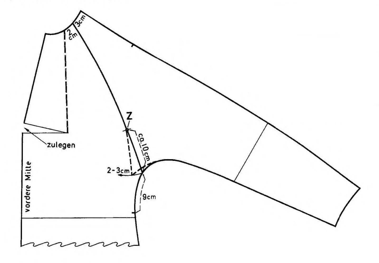
Цельнокроеный рукав с ластовицей выкройка. моделирование цельнокроеного рукава с ластовицей. цельновыкроенный/рукав с ластовицей. цельнокроенный рукав с ластовицей.
Как сделать рукава реглан
Рукав реглан крой. кроить реглан рукав. крой цельнокроенного рукава. цельнокройный рукав реглан.
Как построить выкройку рукава реглан. рукав реглан выкройка построение. выкройка рукава реглан без шва. моделирование оката рукава реглан.
Лекало рукава реглан. рукав реглан выкройка. рукав реглан крой. лекало рукава на кофту.
Как сделать рукава реглан
Выкройка пальто кокон с цельнокроеным рукавом. построение реглана на основе втачного рукава. лекало пальто кокон. выкройка рукава полуреглан для пальто.
Лекало спущенного рукава. моделирование рукава со спущенной проймой. моделирование спущенного плеча с втачным рукавом. моделирование рукава со спущенным плечом.
Лекало цельнокроеного рукава с ластовицей. построение выкройки реглан с ластовицей. пальто кокон с регланом выкройка. рукав реглан выкройка цельнокроеным рукавом.
Рукав полуреглан выкройка построение. моделирование рукавов полуреглан. моделирование рукава реглан на основе втачного. моделирование втачного рукава в реглан.
Моделирование втачного рукава в реглан. моделирование рукава реглан на основе втачного. рукав реглан выкройка. рукав покроя реглан.
Реглан рукав выкройка рукава. рукав реглан выкройка. построение реглана на основе втачного рукава. выкройка реглана для шитья построение.
Детали кроя рукава реглан. срезы рукава реглан. рукав полуреглан обработка. реглан погон моделирование.
Цельнокроеный рукав реглан выкройка. построение чертежа рукава реглан. рукав реглан емко сэв. построение чертежа выкройки реглан.
Базовая выкройка реглана. выкройка реглана для шитья построение. выкройка рукава полуреглан для пальто. рукав реглан выкройка для шитья.
Моделирование втачного рукава. моделирование рукава с манжетой. моделирование втачного рукава по окату. моделирование рукава покроя реглан.
Лекало платья реглан. выкройка платья с рукавом реглан. блузка женская реглан выкройка. чертеж платья с длинным рукавом.
Рукав полуреглан выкройка. лекало рукава полуреглан. рукав реглан полуреглан. рукав реглан с погоном моделирование.
Построение рукава реглан для трикотажа без шва. конструирование рукава реглан на основе втачного рукава. рукав реглан чертеж. построение чертежа рукава реглан.
Выкройка народной рубахи реглан. выкройка кофты с рукавом реглан. построение выкройки реглан для шитья для начинающих. выкройка вышиванки женской с рукавом реглан.
Втачной покрой рукава. конструкция втачного рукава. моделирование рукава реглан. моделирование рукава реглан на основе втачного рукава.
Рукав покроя реглан.
Конструирование рукава реглан. моделирование рукава реглан. рукав реглан конструкция. детали кроя рукава реглан.
Моделирование рукавов полуреглан. моделирование рукава реглан. рукав реглан полуреглан. полуреглан рукав построение.
Построение выкройки реглан для шитья для начинающих. построение рукава по цотшл. рукав полуреглан выкройка построение. рукав реглан крой.
Рукав реглан выкройка построение без шва. моделирование рукава реглан без верхнего шва. построение рукава реглан для трикотажа без шва. выкройка рукава с выточкой.
Конструкция покроя реглан. рукав реглан конструкция. изделия с рукавами покроя реглан. рукав реглан мягкой формы.
Выкройка реглана для вязания 50 размер. выкройка реглан для вязания 44 размера для женщины. выкройка реглан для вязания 50 размера для женщины. выкройка вязаного платья 50 размера с рукавом реглан.
Построение конструкции реглан методом пристраивания. построение чертежа рукава реглан. построение чертежа рукава полуреглан. построение базовой конструкции рукава.
Построение чертежа рукава полуреглан. чертеж рукава полуреглан. построение рукава реглан емко сэв. рукав полуреглан выкройка построение.
Блузка реглан бурда. выкройка бурда блузка реглан. выкройка блузки с рукавом реглан бурда. блузка с рукавами реглан лекала.
Построение реглана. построение рукава реглан. реглан построение выкройки. рукав реглан выкройка построение.
Втачной рукав. втачной покрой рукава. форма рукава реглан. изделия с втачным рукавом.
Моделирование рукава реглан. изделия с рукавами покроя реглан. рукав реглан конструкция. рукав втачной и реглан.
Выкройка блузы реглан 50 размера. выкройка реглана для шитья построение. построение блузы с рукавом реглан выкройка. выкройка кофты реглан 54 размера.
Рукав реглан по злачевской. пальто полуреглан выкройка. полуреглан рукав построение. реглан полуреглан.
Построение рукава реглан погон. рукав реглан крой. моделирование рукава реглан. одношовный рукав реглан.