Удиви меня
Как работает электроэрозионный станок
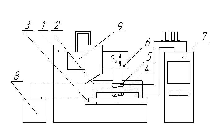
Электроэрозионный станок принцип работы. электроэрозионный станок проволочный принцип. электроэрозионная обработка металла схема. электроэрозионный прошивной станок.
Электроэрозионный станок схема электрическая. электроискровой станок станок схема. схема станка электроискровой обработки. схема генератора электроискрового станка.
Проволочный электроэрозионный станок. электроэрозионный станок supercut 734. электроискровой станок станок схема. электроэрозионный проволочно-вырезной станок с чпу.
Электроэрозионный станок лкз-183. электроискровой станок станок схема. электроэрозионный вырезной станок. станок электроискровой проволочный.
Генератор для электроэрозионного станка схема. электроэрозионный станок схема электрическая. электроискровой станок схема. принципиальная схема электроэрозионного станка.
Как работает электроэрозионный станок
Электроэрозионный прошивной станок. принципиальная схема электроэрозионного станка. схема копировально прошивочного станка. электроэрозионный станок вл7740.
Электроэрозионная резка металла схема. электроэрозионная обработка металла схема. станок электроискровой проволочный. электроэрозионный станок принцип.
Электроэрозионная обработка станок схема. электроэрозионный станок проволочный принцип. электроэрозионные станки схема установки. схема станка электроискровой обработки.
Электроэрозионный станок проволочный принцип. генератор для электроэрозионного станка дк77. схема генератора электроискрового станка. станок электроискровой проволочный.
Кинематическая схема электроэрозионного станка. дк77 электроэрозионный станок схема проволоки. электроэрозионная резка металла схема. электроэрозионная резка металла чертежи.
Чертежи для электроэрозионного станка. схема электроэрозионного станка. электроискровой станок станок схема. электроэрозионный станок схема электрическая.
Схема генератора для эрозионного станка. электроэрозионный прошивной станок. схема станка электроискровой обработки. схема копировально прошивочного станка.
Как работает электроэрозионный станок
Электроэрозионный прошивочный станок своими руками. электроискровая установка. электроэрозионный станок принцип работы. электроискровой маркер по металлу чертежи.
Электроискровой станок схема. схема генератора импульсов для электроэрозионного станка. схема электроискрового генератора. генератор для электроэрозионного станка схема.
Как работает электроэрозионный станок
Станок электроискровой проволочный. электроэрозионный станок арта 420. электроэрозионный станок мэ-402. выносной пульт управления электроэрозионного станка.
Электроискровой станок схема. генератор для электроэрозионного станка схема. схема копировально прошивочного станка. электроискровой станок станок схема.
Электроэрозионная обработка металла схема. электроэрозионный станок принцип. генератор технологического тока электроэрозионного станка. генератор электроэрозионный схема.
Кинематическая схема электрохимического станка. схема копировально прошивочного станка. электроэрозионный прошивной станок. схема станка электроискровой обработки.
4732ф3м станок электроэрозионный. станок в3-173. изделия на электроэрозионном станке.
Станок для выжигания метчиков.
Копировально прошивной электроэрозионный станок. прошивной электроэрозионный станок с чпу. прошивной стан.
Как работает электроэрозионный станок
Как работает электроэрозионный станок
Электроэрозионный проволочно-вырезной станок gx430l+. электроэрозионные станки с чпу edm это. пульт chmer edm. пульт для прошивочного станка chmer edm.
Электроэрозия agie. roboform 30 электроэрозионный прошивной (электродный) станок бу.
Как работает электроэрозионный станок
Копировально прошивной электроэрозионный станок. chmer станки. прошивная эрозия станок.
Электроэрозионный прошивной станок. электроискровой станок с чпу agie. прошивной электроэрозионный станок с чпу. электроэрозионные мини прошивные станки.
Электроэрозионный вырезной станок realrez 550. электроэрозионный проволочно-вырезной станок «пвс-45». проволочно вырезной станок vmt-600. "вырезной станок dk 7735".
Как работает электроэрозионный станок
Электроэрозионный станок прошивочный. копировально прошивной электроэрозионный станок. 4е723 электроэрозионный станок. 4б722 электроэрозионный станок.
Эрозионно прошивной станок. ea12s advance (non ce)3,. электроэрозионный станок. эрозионно-прожигной стол.
Электроэрозионный станок dk77. dk 7740 электроэрозионный проволочно-вырезной станок. dk7745 электроэрозионный проволочно-вырезной станок. sx 7735 проволочно вырезной станок.
Станок электроэрозионный проволочно вырезной. электроэрозионный проволочно-вырезной станок с чпу. вырезной станок. приспособление для эрозийного проволочно-вырезного станка.
Dk7745 электроэрозионный станок. dk7745 электроэрозионный проволочно-вырезной станок. проволочно-вырезной электроэрозионный станок chmer aw10l. проволочно-вырезной электроэрозионный станок baoma dk7750r.
Электроэрозионный станок проволочный принцип. электроэрозионная обработка металла схема. генератор электроэрозионный схема. генератор для электроэрозионного станка схема.
Электроэрозионный прошивной станок. электроискровой электроэрозионный прошивной станок. прошивной стан.
Электроэрозионный станок схема электрическая. электроискровой станок станок схема. электроэрозионный станок проволочный принцип. генератор электроэрозионный схема.
Как работает электроэрозионный станок
Электроэрозионный прошивной станок. электроэрозионный станок дк7725. фильтры для электроэрозионных станков.
Копировально прошивной электроэрозионный станок. электроэрозионный станок aristech cw-30. электроэрозионный станок aristech cw-30 размер. электроэрозионный станок bmt400c.
Генератор технологического тока электроэрозионного станка. электроэрозионный станок принцип. генератор для электроэрозионного станка схема. кинематика электроэрозионного станка.
Эрозионный станок chmer cm a53c. прошивка отверстий на электроэрозионном станке. экстрактор электроэрозионный портативный edm-8c. супердрель p@g.
Электроэрозионный станок dk77 схема. схема проволочно-вырезного станка. конструкция проволочного электроэрозионного станка. pulse width электроэрозионный станок.
Как работает электроэрозионный станок
Электроэрозионный станок dk77. супер дрель станок электроэрозионный. 4е723 электроэрозионный станок. электроискровой электроэрозионный прошивной станок.
Станок прошивной agie. копировально прошивной электроэрозионный станок. электроэрозионный прошивной станок ona pd 4.120. электроэрозионный станок лкз-183.
Электроэрозионный прошивной станок. копировально прошивной станок. эрозионная супердрель. супердрель электроэрозионная.
Электроэрозионный проволочно-вырезной станок dk7750. электроэрозионный станок dk77. электроэрозионные проволочно-вырезные станки dk77. станок dk7735.
Электроэрозионный станок kd400zl. электроэрозия (электроискровой метод). проволочный электроэрозионный станок. электроэрозионный станок supercut 734.
Электроэрозионный станок супердрель вн4030. semat супердрель. струйная ээо на супердрели.
Электроискровой станок схема. станок электроискровой проволочный. электроискровой маркер эим схема. электроэрозионная обработка металла схема.
Как работает электроэрозионный станок
Электроэрозионный станок agiecut. agie 100 d. agiecut 100d. agiecut 200d.
Электроэрозионный станок схема электрическая. электроэрозионный станок проволочный принцип. электроэрозионная обработка станок схема. электроэрозионная резка металла схема.
Генератор для электроэрозионного станка схема. электроэрозионный станок схема электрическая.
Электроэрозионный станок лкз-183. электроэрозионный станок supercut 734. электроэрозионный станок agietron. электроэрозионный прошивной станок ona pd 4.120.
Как работает электроэрозионный станок
Dk7745 электроэрозионный проволочно-вырезной станок схемы. электроэрозионный станок dk77 схема. кинематическая схема электроэрозионного станка. станок электроискровой проволочный.
Электроэрозионный станок проволочный принцип. электроэрозионные станки система управления. электроэрозионный станок назначение. электроэрозионный станок с чпу принцип работы.
Полировальный станок sc-350.
Копировально прошивной электроэрозионный станок.
Электроэрозионный станок bmt400c. d7125 электроэрозионный станок. электроэрозионный станок znc316. электроэрозионный станок bmg600.
D7125 электроэрозионный станок. электроэрозионный прошивной станок. znc 350. dast-0206 прошивочный ключ.
Электроэрозионный станок супердрель вн4030. супердрель sd -430. dd703 супердрель. ingersoll 100p супердрель.
Электроэрозионный станок "roboform-200". 4е723 электроэрозионный станок. робоформ станок. lodd 200 станок.
Электроэрозионный станок свэи 7. электроискровой станок 4531. электроэрозия (электроискровой метод). проволочный электроэрозионный станок.
Электроэрозионный станок dk7732. проволочно-вырезной электроэрозионный многопроходный станок dk7750. электроэрозионный проволочный станок dk 7750. станок эрозионный чпу dk 7750.
Электроэрозионный станок супердрель. электроэрозионный станок kd400zl. электроэрозионный станок супердрель вн4030. dk7735 электроэрозионный станок.
Dk7732 электроэрозионный проволочно-вырезной станок. dk 7740 электроэрозионный проволочно-вырезной станок. электроэрозионный станок dk 7763. электроэрозионный проволочно-вырезной станок dk7750.
Электроэрозионный прошивной станок. прошивной электроэрозионный станок с чпу. chmer станки. станок chmer sw40.
Как работает электроэрозионный станок
Электроэрозионный станок супердрель вн4030. электроэрозионный станок siemens. разъем к аппарату птк hanker cut 120 cnc h64. znc50110.
"вырезной станок dk 7735". электроэрозионный проволочно-вырезной станок с чпу. эрозионный станок fr-890 mc. "логотипэлектроэрозионный проволочно-вырезной станок dk 7735 dk 7735".
Dk7745 электроэрозионный станок. электроэрозионный станок dk77. электроэрозионный станок dk7725. станок dk7735.
Станок электроискровой проволочный. проволочный электроэрозионный станок. электроэрозионный станок лкз-183. электроэрозионный станок проволочный принцип.
Электроэрозионный станок принцип работы.
Электроэрозионный станок супердрель. электроэрозионный сверлильный станок. электроэрозионный станок супердрель вн4030. супердрель sd -430.
Электроэрозионный сверлильный станок. эрозионная супердрель. dd703 супердрель. электроэрозионной супердрели.
Электроэрозионный прошивной станок. копировально прошивной электроэрозионный станок. эрозионный прошивной станок с чпу. электроэрозионного копировально-прошивного станка с чпу.