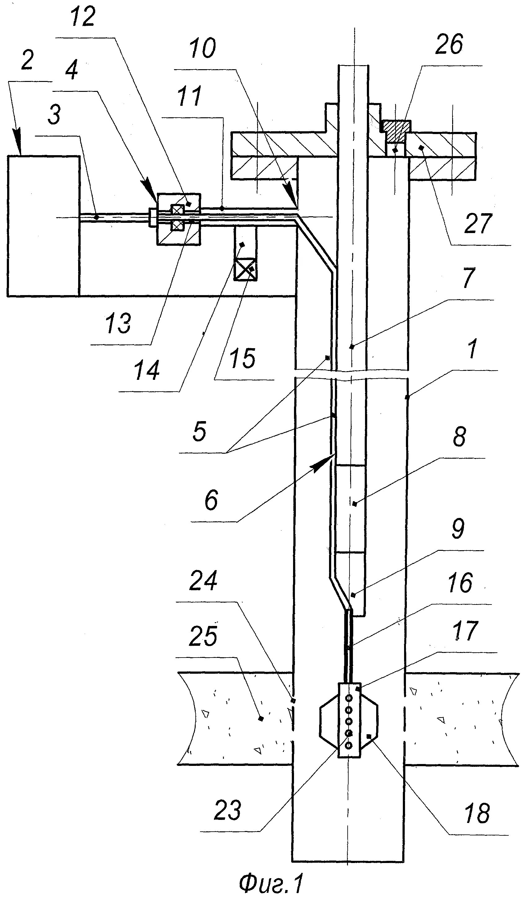
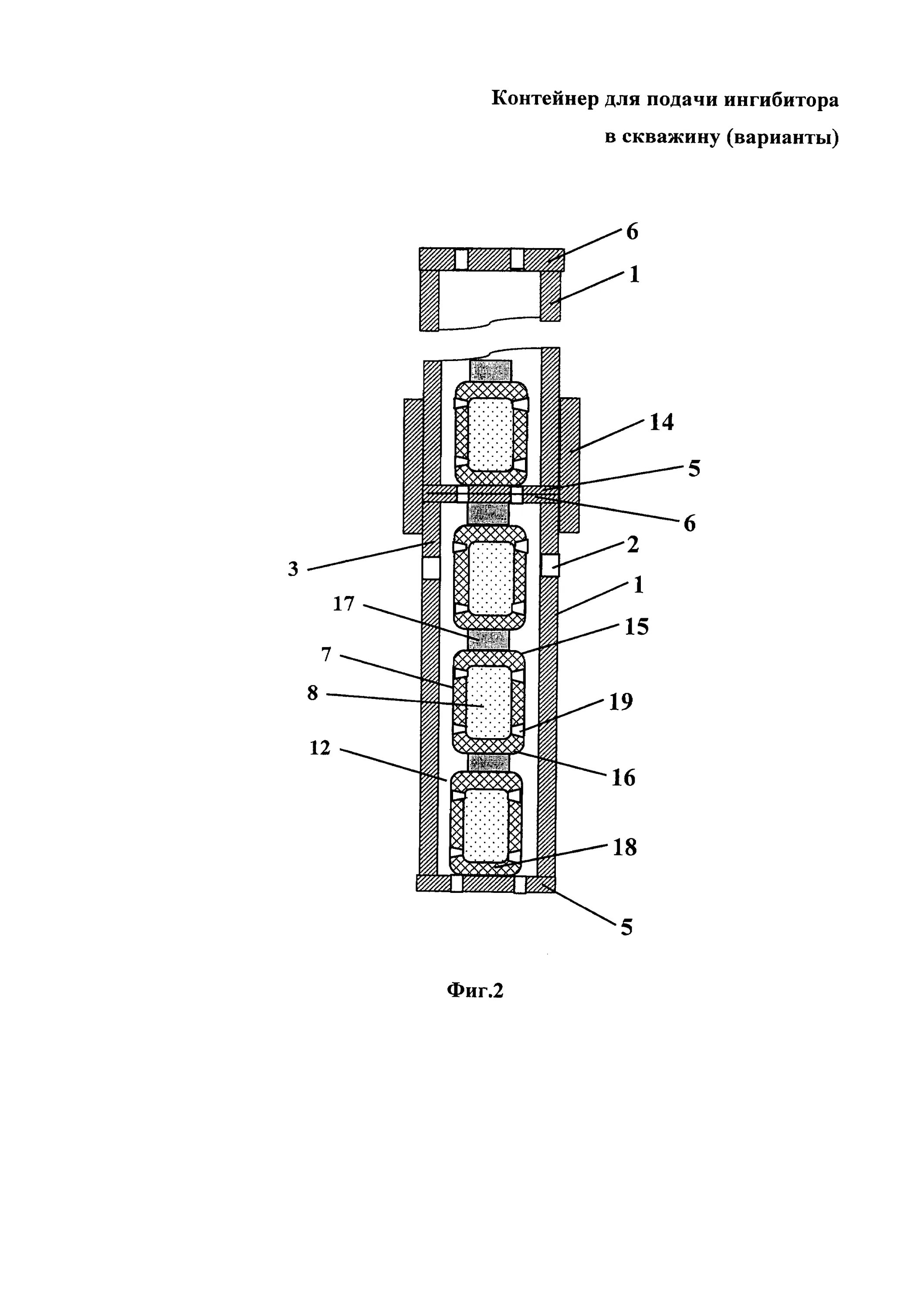
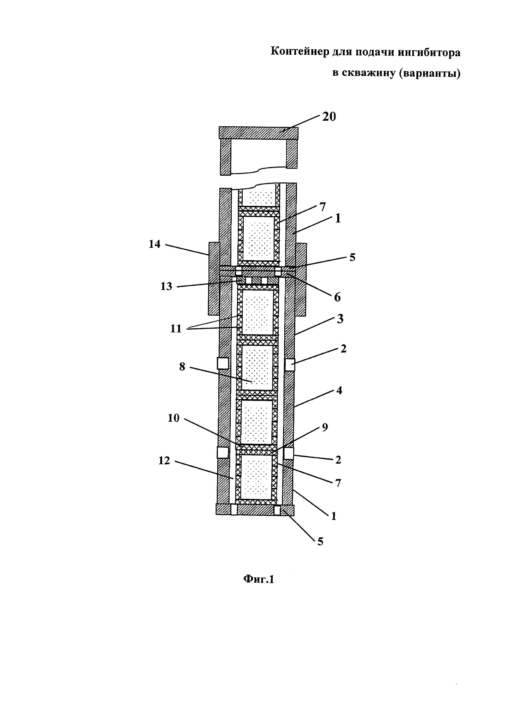
Ингибитор для скважинИнгибитор для скважинМасло вакуумное вм-6. ингибитор глин. химреагенты для буровых растворов. ингибиторы глин в буровых растворах.Полимер для стабилизации буровых скважин. 0. полимер для стабилизации буровых скважин. химреагенты для буровых растворов. буровые растворы на водной основе.Химические реагенты для буровых растворов. фхлс буровой реагент. смазочные добавки для буровых растворов. химреагенты для бурения скважин.Ингибитор коррозии азол 5030. ингибитор коррозии азол 5030 марка а. ингибитор коррозии icw 0022. парофазный ингибитор коррозии.Ингибитор для скважинИнгибиторы аспо. ингибитор коррозии азол 5030. химические реагенты в нефтедобыче. бочки для реагентов.Полимер-ингибитор для стабилизации буровых скважин. полимер для стабилизации буровых скважин. ez mud полимер. полимер для стабилизации буровых скважин: ez mud.Ингибитор коррозии (пассиватор) этикетка бочка 200 кг. ингибитор солеотложений снпх-5312. ингибитор солеотложения "иомс-1". ингибитор солеотложений иомс-1 (раствор).Ингибиторы глин в буровых растворах. ингибитор глин стабфло. полимеры в буровых растворах. буровой раствор полимер.Ингибитор для скважинДля системы отопления реагент. реагент для удаления известковых и коррозионных отложений cp-5008 ®, bwt. ингибитор для систем отопления. ингибитор для водоподготовки.Ингибитор для скважинИнгибиторы коррозии. антикоррозийный добавки в металл.Ингибиторы коррозии. ингибитор коррозии в нефтяной. ингибиторы солеотложений в нефтедобыче. реагент-деэмульгатор.Аминат к антискалант канистра 22 кг. ингибитор антискалант. экотрит м-15 (канистра 22 кг). экотрит в-15 (канистра 20 кг).Ez mud полимер. полимер для стабилизации буровых скважин. полимер для гнб. полимер для стабилизации буровых скважин: ez mud.Схема дозирования ингибитора в скважину. схема закачки ингибитора в скважину. контейнер скважинный для твердого ингибитора (кстр). закачка ингибитора в скважину.Наливной контейнер 23 - 32 м3 экохим. реагент-деэмульгатор. противотурбулентные присадки для нефти. ингибиторы коррозии.Схема закачки ингибитора в скважину. схема дозирования ингибитора в скважину. закачка ингибитора в скважину. подача ингибитора солеотложений в скважину.Ингибитор коррозии cortec vpci-377. ингибитор коррозии cortec vpci-132. ингибитор коррозии cortec vpci-111. оборудование для нанесения ингибитора коррозии.Отложения аспо в скважине. ингибиторы аспо. асфальтосмолопарафиновые отложения. отложение аспо в нкт.Ингибитор коррозии для гидроиспытаний. ингибиторы коррозии металлов. ингибитор кислотной коррозии. ингибитор ржавчины для металла.Парофазный ингибитор коррозии. ингибиторы коррозии металлов. ингибиторы коррозии в нефтедобыче. оборудование для нанесения ингибитора коррозии.Схема закачки ингибитора в пласт. схема закачки ингибитора в скважину. закачка ингибитора в скважину. схема задавки ингибитора в призабойную зону скважины.Анодные ингибиторы коррозии. ингибиторы коррозии железа. ингибиторы от коррозии металла. ингибитор на металле.Закачка химреагентов в скважину схема. схема подачи ингибитора в затрубное пространство скважины. схема закачки метанола в газовую скважину. схема закачки ингибитора в скважину.Ингибиторы аспо. ингибитор солеотложений. солеотложения в скважинах. ингибиторы коррозии в нефтедобыче.Ингибитор для скважинКонструкция термометрической скважины. схема термометрической скважины. закачка химреагентов в скважину схема. схема закачки ингибитора в скважину.Таблица утяжелителей буровые растворы. ингибиторы глин в буровых растворах. таблица утяжеления бурового раствора. таблица утяжеления бурового раствора баритом.Ингибитор для скважинИнгибирование бурового раствора это. ингибиторы для буровых растворов. ингибитор для бурового раствора. ингибированные буровые растворы.Закачка ингибитора в скважину. подача ингибитора солеотложений в скважину. закачка ингибитора солеотложений в скважину. насос для закачки для ингибитора коррозии.Ингибитор для скважинИнгибитор для скважинСхема периодической закачки ингибитора солеотложения. закачка химреагентов в скважину схема. электроцентробежный насос схема. закачка ингибитора в скважину.Схема подачи ингибитора аспо. схема закачки ингибитора в скважину. закачка химреагентов в скважину схема. схема периодической закачки ингибитора солеотложения.Закачка химреагентов в скважину схема. схема закачки химических реагентов для борьбы с аспо. схема закачки ингибитора в скважину. схема подачи ингибитора аспо.Трубопровод скважинный для подачи реагента. подача ингибитора в скважину. закачка ингибитора в скважину. закачка реагентов в скважину.Салих гаджиев петроинжиниринг. сбм буровые растворы. оператор по цементажу скважин. буровые промывочные жидкости.Схема подачи ингибитора аспо. схема закачки ингибитора в скважину. схема подачи реагента в скважину. схема периодической закачки ингибитора солеотложения.Схема закачки ингибитора в скважину. закачка химреагентов в скважину схема. закачка ингибитора в скважину. схема подачи ингибитора в затрубное пространство скважины.Ингибитор коррозии для систем отопления. ингибиторы от коррозии металла. ингибитор на металле. ингибиторы коррозии железа.Аспо отложения. образования аспо. образование аспо в скважинах. отложения парафина в нефтепроводе.Схема установки дозаторной скважинной. закачка химреагентов в скважину схема. установка для дозирования химических реагентов. схема подачи ингибитора аспо.Закачка химреагентов в скважину схема. схема подачи ингибитора аспо. полевой заправочный пункт пзп-10а. закачка ингибитора в скважину.Ингибитор для скважинИнгибитор солеотложений. ингибиторы солеотложений сополимер. ингибиторы солеотложений картинки. схема закачки ингибитора в скважину.Ингибитор для скважинДобыча газовых гидратов. предотвращение образования гидратов в скважинах. способы добычи газогидратов. добыча газа из газовых гидратов.Закачка химреагентов в скважину схема. закачка ингибитора солеотложений в скважину. схема периодической закачки ингибитора солеотложения. схема подачи ингибитора в затрубное пространство скважины.Капиллярная система подачи реагентов в колонну нкт. закачка деэмульгатора в скважину. скважинный капиллярный трубопровод. скважинный капиллярный трубопровод скт-2400.Ингибитор для скважинИнгибитор солеотложений. методы солеотложение. методы предупреждения солеотложений. способы предотвращение солеотложений.Клапан отсекатель газовый схема. клапан-отсекатель скважинный. скважинный клапан-отсекатель шарикового типа. клапан отсекатель управляемый скважинный.Жидкость для консервации хнт-60. ингибитор коррозии 05.18. ингибитор коррозии в бочках. ингибиторы коррозии в нефтедобыче.Ингибитор для скважинЗащитная пленка ингибитора коррозии. ингибитор кислотной коррозии. ингибиторы от коррозии металла. ингибитор ржавчины для металла.Полимер для стабилизации буровых скважин. полимер для стабилизации буровых скважин ez mud расход на 1 м бурения.Ингибитор для бурового раствора. ингибиторы для буровых растворов. ингибированные глинистые растворы. ингибирование бурового раствора это.Схема периодической закачки ингибитора солеотложения. закачка химреагентов в скважину схема. схема подачи ингибитора аспо. закачка ингибитора в скважину.Ингибиторы коррозии. ингибитор ржавчины. маслорастворимый ингибитор коррозии. ингибиторы коррозии металлов.Функции промывочной жидкости при бурении скважин. функции бурового раствора. функции буровых растворов. противодавление бурового раствора на пласт.Ez mud полимер. полимер-ингибитор prim mud heads/m-1. полимер для стабилизации буровых скважин: ez mud. ez mud буровой реагент.Закачка химреагентов в скважину схема. схема закачки ингибитора в скважину. трубопровод скважинный для подачи реагента. подача реагента на скважине.Ингибитор коррозии 05.18. ингибитор коррозии м1. ингибитор коррозии для систем отопления лемакс. парофазный ингибитор коррозии.Испытания ингибиторов коррозии. защита оборудования. коррозия оборудования. ингибиторы для защиты от коррозии трубопровода.Ингибитор для скважинРеактивы для водоподготовки. экотрит в-06 (канистра 22 кг). ингибитор для водоподготовки. реагенты экотрит водоподготовка.Аспо в нкт трубах. отложение аспо в нкт. отложения аспо в скважине. солеотложения в трубах нкт.Ингибитор солеотложения "иомс-1". ингибиторв в солеотложериях. ингибитор отложений минеральных солей. ингибиторы солеотложений и марки.Схема дозирования ингибитора в скважину. схема закачки ингибитора в скважину. закачка химреагентов в скважину схема. схема периодической закачки ингибитора солеотложения.