Удиви меня
Длина мауса
Длина мауса
Длина мауса
Длина мауса
Длина мауса
Длина мауса
Длина мауса
Длина мауса
Длина мауса
Длина мауса
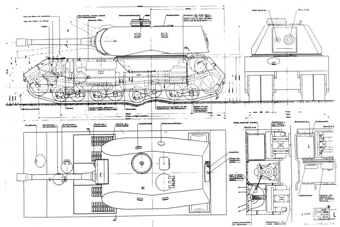
Maus танк чертеж. чертежи танка маус 2. чертеж танка maus. чертеж танка мауса.
Длина мауса
Длина мауса
Длина мауса
Длина мауса
Длина мауса
Длина мауса
Длина мауса
Длина мауса
Длина мауса
Длина мауса
Длина мауса
Длина мауса
Длина мауса
Длина мауса
Длина мауса
Длина мауса
Длина мауса
Длина мауса
Длина мауса
Длина мауса
Длина мауса
Длина мауса
Длина мауса
Длина мауса
Длина мауса
Длина мауса
Длина мауса
Длина мауса
Длина мауса
Длина мауса